TOP
|
特許
|
意匠
|
商標
特許ウォッチ
Twitter
他の特許を見る
公開番号
2025152464
公報種別
公開特許公報(A)
公開日
2025-10-09
出願番号
2024054371
出願日
2024-03-28
発明の名称
表示制御方法、表示制御装置、表示制御システム、及び表示制御プログラム
出願人
パナソニックIPマネジメント株式会社
代理人
個人
,
個人
,
個人
主分類
G09G
5/00 20060101AFI20251002BHJP(教育;暗号方法;表示;広告;シール)
要約
【課題】表示機器の近くに着座した特定の利用者に対して、有益となる情報を表示することが可能な表示制御方法を提供する。
【解決手段】表示制御方法は、コンピュータによって実行され、施設に設けられた表示機器の表示部に情報を表示させる表示制御方法である。表示制御方法は、施設を利用する施設利用者の施設に設けられた座席に対する着座情報を含む座席管理情報を取得する。また、表示制御方法は、座席管理情報と、あらかじめ記憶部に記憶された座席及び表示機器の対応情報と、に基づいて、座席を利用する座席利用者に関連する第1関連情報を取得する。さらに、表示制御方法は、第1関連情報を含む画像データを座席に対応する表示機器の表示部に表示させる。
【選択図】図6
特許請求の範囲
【請求項1】
コンピュータによって実行され、施設に設けられた表示機器の表示部に情報を表示させる表示制御方法であって、
前記施設を利用する施設利用者の前記施設に設けられた座席に対する着座情報を含む座席管理情報を取得し、
前記座席管理情報と、あらかじめ記憶部に記憶された前記座席及び前記表示機器の対応情報と、に基づいて、前記座席を利用する座席利用者に関連する第1関連情報を取得し、
前記第1関連情報を含む画像データを前記座席に対応する前記表示機器の前記表示部に表示させる、表示制御方法。
続きを表示(約 1,200 文字)
【請求項2】
前記第1関連情報は、前記座席利用者が前記座席を予約していることを示す情報を含む、請求項1に記載の表示制御方法。
【請求項3】
前記第1関連情報は、前記座席利用者のプロフィール情報を含む、請求項1に記載の表示制御方法。
【請求項4】
前記第1関連情報は、前記座席利用者に適したイベント情報を含む、請求項1に記載の表示制御方法。
【請求項5】
前記第1関連情報は、前記座席利用者が関心のある情報を含む、請求項1に記載の表示制御方法。
【請求項6】
前記表示部は、異なる方向に向けて配置された第1表示部と、第2表示部と、を少なくとも含み、
前記座席利用者である第1座席利用者の周囲に着座する第2座席利用者に関する第2関連情報を含む画像データを、前記表示機器の前記第1座席利用者が視認可能な方向に配置された前記第1表示部に表示させる、請求項1に記載の表示制御方法。
【請求項7】
前記第2関連情報は、前記第2座席利用者のプロフィール情報を含む、請求項6に記載の表示制御方法。
【請求項8】
前記表示部は、異なる方向に向けて配置された第1表示部と第2表示部を少なくとも含み、
前記座席利用者である第1座席利用者と前記第1座席利用者の周囲に着座する第2座席利用者との会話情報に基づき、前記会話情報に関連する情報を含む画像データを、前記表示機器の前記第1座席利用者が視認可能な方向に配置された前記第1表示部又は前記表示機器の前記第2座席利用者が視認可能な方向に配置された前記第2表示部の少なくとも一方に表示させる、請求項1に記載の表示制御方法。
【請求項9】
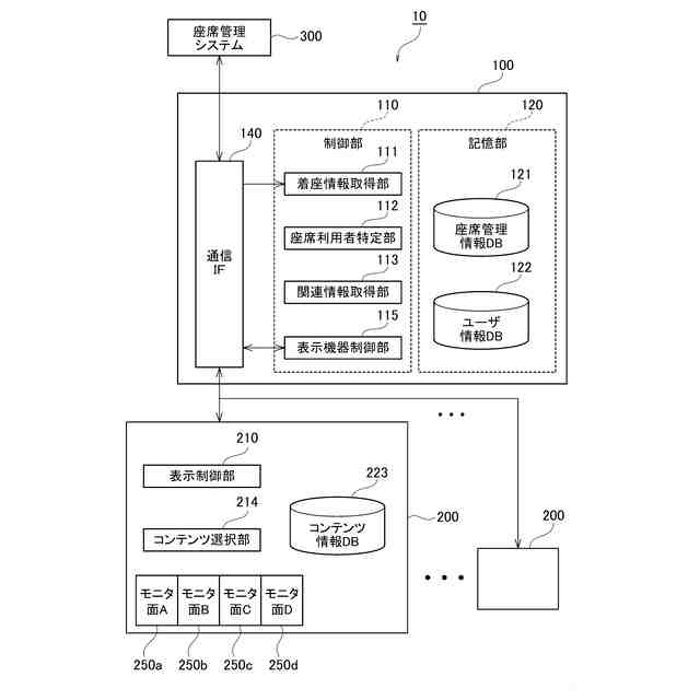
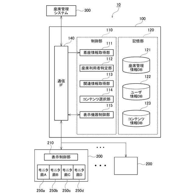
施設に設けられた座席に対する、前記施設を利用する施設利用者の着座情報を取得する着座情報取得部と、
取得した着座情報に基づいて、所定の前記座席に着座した施設利用者を座席利用者として特定する座席利用者特定部と、
前記座席利用者特定部で特定された前記座席利用者に対して、表示機器に表示させる前記座席利用者に関する関連情報を取得する関連情報取得部と、
前記関連情報取得部で取得された前記関連情報に対応するコンテンツをあらかじめ記憶部に格納されたコンテンツ情報から選択するコンテンツ選択部と、
前記コンテンツ選択部で選択されたコンテンツを前記座席利用者が着座する前記座席に対応する前記表示機器の表示部に表示させるように前記表示機器の表示制御部に対して制御指示を送る表示機器制御部と、
を備える、表示制御装置。
【請求項10】
請求項9に記載の表示制御装置と、
複数の表示部を備え、前記表示制御装置からの制御指示により、前記表示部に所定の情報を表示させる前記表示機器と、を備える表示制御システム。
(【請求項11】以降は省略されています)
発明の詳細な説明
【技術分野】
【0001】
本発明は、表示制御方法、表示制御装置、表示制御システム、及び表示制御プログラムに関する。
続きを表示(約 1,600 文字)
【背景技術】
【0002】
従来から、光を発する光源とその光源が発した光を加工して画像データを表示し得る表示部とを有する照明器具が知られている。本出願人は、特許文献1において、光源が発した光を加工して透過させる電子パネルを表示部に用い、照明器具とは別体の外部記憶部から受信した所定の画像データを、複数のパネルに表示させる照明器具を提案している。
【先行技術文献】
【特許文献】
【0003】
国際公開第2019/082789号
【発明の概要】
【発明が解決しようとする課題】
【0004】
例えば、この画像データを表示し得る表示部を有する照明器具においては、当該照明器具の近くに着席した特定の利用者に対して有益な情報を表示させたいという要望がある。
【0005】
本発明は、このような従来技術の有する課題に鑑みてなされたものである。そして、本発明の目的は、表示機器の近くに着座した特定の利用者に対して、有益となる情報を表示することが可能な表示制御方法を提供することにある。
【課題を解決するための手段】
【0006】
上記課題を解決するために、本発明の態様に係る表示制御方法は、コンピュータによって実行され、施設に設けられた表示機器の表示部に情報を表示させる表示制御方法であって、施設を利用する施設利用者の施設に設けられた座席に対する着座情報を含む座席管理情報を取得し、座席管理情報と、あらかじめ記憶部に記憶された座席及び表示機器の対応情報と、に基づいて、座席を利用する座席利用者に関連する第1関連情報を取得し、第1関連情報を含む画像データを座席に対応する表示機器の表示部に表示させる。
【0007】
本発明の他の態様に係る表示制御装置は、施設に設けられた座席に対する、施設を利用する施設利用者の着座情報を取得する着座情報取得部と、取得した着座情報に基づいて、所定に着座した施設利用者を特定する座席利用者特定部と、座席利用者特定部で特定された座席利用者に対して、表示機器に表示させる座席利用者に関する関連情報を取得する関連情報取得部と、関連情報取得部で判定された関連情報に対応するコンテンツをあらかじめ記憶部に格納されたコンテンツ情報から選択するコンテンツ選択部と、コンテンツ選択部で選択されたコンテンツを座席利用者が着座する座席に対応する表示機器の表示部に表示させるように照明器具の表示制御部に対して制御指示を送る表示機器制御部と、を備える。
【0008】
本発明の他の態様に係る表示制御システムは、上記の表示制御装置と、複数の表示部を備え、表示制御装置からの制御指示により、表示部に所定の情報を表示させる表示機器と、を備える。
【0009】
本発明の他の態様に係る表示制御プログラムは、施設に設けられた座席に対する、施設を利用する施設利用者の着座情報を取得し、取得した着座情報に基づいて、座席に着座した施設利用者を特定し、特定された座席利用者に対して、表示機器に表示させる座席利用者に関する関連情報を取得し、判定された関連情報に対応するコンテンツをあらかじめ記憶部に格納されたコンテンツ情報から選択し、選択されたコンテンツを座席利用者が着座する座席に対応する表示機器の表示部に表示させるように照明器具の表示制御部に対して制御指示を送る処理を、コンピュータに実行させる。
【発明の効果】
【0010】
本開示によれば、表示機器の近くに着座した特定の利用者に対して、有益となる情報を表示することが可能な表示制御方法を提供することができる。
【図面の簡単な説明】
(【0011】以降は省略されています)
この特許をJ-PlatPat(特許庁公式サイト)で参照する
関連特許
個人
回転式カード学習具
1か月前
日本精機株式会社
表示装置
25日前
個人
時刻表示機能つき手帳
2か月前
日本精機株式会社
表示装置
2か月前
個人
計算用教具
21日前
中国電力株式会社
標示旗
1か月前
日本精機株式会社
車両用表示装置
2か月前
日本精機株式会社
車両用表示装置
2か月前
日本精機株式会社
車両用表示装置
2か月前
日本精機株式会社
車両用センサ装置
21日前
個人
モデルで薔薇の花嫁様を描く為
1か月前
個人
微細構造を模した理科学習教材
4日前
シャープ株式会社
表示装置
1か月前
株式会社一弘社
情報表示板
1か月前
株式会社ウメラボ
学習支援システム
11日前
個人
音楽教材
2か月前
株式会社ウメラボ
学習支援システム
17日前
株式会社半導体エネルギー研究所
半導体装置
2か月前
ニチレイマグネット株式会社
磁着式電飾装置
1か月前
リンテック株式会社
表示体
10日前
株式会社リコー
画像投射システム
1か月前
シチズンファインデバイス株式会社
液晶表示装置
1か月前
BEST株式会社
吊り下げ表示部材
1か月前
学校法人関西医科大学
腹腔鏡手術訓練装置
1か月前
シチズンファインデバイス株式会社
液晶表示装置
2か月前
株式会社サンゲツ
見本帳
2か月前
シャープ株式会社
表示装置
2か月前
シャープ株式会社
表示装置
2か月前
セイコーエプソン株式会社
表示方法
1か月前
セイコーエプソン株式会社
表示方法
1か月前
リンテック株式会社
粘着ラベル
11日前
ニプロ株式会社
シミュレータ
1か月前
TOPPANホールディングス株式会社
ラベル
21日前
ローム株式会社
暗号化装置
11日前
キヤノン株式会社
発光装置
24日前
TOPPANホールディングス株式会社
ラベル
2か月前
続きを見る
他の特許を見る