TOP
|
特許
|
意匠
|
商標
特許ウォッチ
Twitter
他の特許を見る
10個以上の画像は省略されています。
公開番号
2025117406
公報種別
公開特許公報(A)
公開日
2025-08-12
出願番号
2024012226
出願日
2024-01-30
発明の名称
ラベル
出願人
TOPPANホールディングス株式会社
代理人
個人
,
個人
主分類
G09F
3/03 20060101AFI20250804BHJP(教育;暗号方法;表示;広告;シール)
要約
【課題】被着体に貼着された後に剥離された場合に剥離を検知しやすくする。
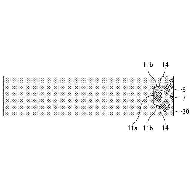
【解決手段】ベース基材10と、ベース基材10の一方の面に潜像パターンの形状に積層された剥離層20と、ベース基材10の剥離層20が積層された面の全面に剥離層20を覆って積層された粘着層30とを有し、さらに、剥離検知ラベル1の表裏を貫通したスリット11を有し、スリット11は、第1の方向に延びた主切込み部11aと、主切込み部11aの両端部のそれぞれから、第1の方向に直交する第2の方向にて主切込み部11aを介して互いに隣接する第1の領域13aと第2の領域13bとのうち第1の領域13a側に延びた2本の副切込み部11bとを有する。
【選択図】図1
特許請求の範囲
【請求項1】
被着体に貼着された後に剥離された場合に潜像パターンを発現させるラベルであって、
ベース基材と、
前記ベース基材の一方の面に前記潜像パターンの形状に積層された剥離層と、
前記ベース基材の前記剥離層が積層された面の全面に前記剥離層を覆って積層された有色貼着層と、を有し、
前記ベース基材、前記剥離層及び前記有色貼着層は、当該ベース基材、剥離層及び有色貼着層を貫通した切り込みを有し、
前記切り込みは、
第1の方向に延びた主切込み部と、
前記主切込み部の両端部のそれぞれから、前記第1の方向に直交する第2の方向にて前記主切込み部を介して互いに隣接する第1の領域と第2の領域とのうち前記第1の領域側に延びた2本の副切込み部と、を有する、ラベル。
続きを表示(約 440 文字)
【請求項2】
被着体に貼着された後に剥離された場合に潜像パターンを発現させるラベルであって、
ベース基材と、
前記ベース基材の一方の面に前記潜像パターンの形状に積層された剥離層と、
前記ベース基材の前記剥離層が積層された面の全面に前記剥離層を覆って積層された有色貼着層と、を有し、
前記ベース基材、前記剥離層及び前記有色貼着層は、当該ベース基材、剥離層及び有色貼着層を貫通した切り込みを有し、
前記切り込みは、
第1の方向に延びた主切込み部と、
前記主切込み部の両端部のそれぞれから延び、前記第1の方向に直交する第2の方向にて前記主切込み部を介して互いに隣接する第1の領域と第2の領域とのうち前記第1の領域において前記第1の領域側に丸まって互いに対向していくように弧を描き、前記主切込み部とは反対側の端部が、前記第1の方向または前記第1の方向に対して前記主切込み部側に向いた2本の副切込み部と、を有する、ラベル。
発明の詳細な説明
【技術分野】
【0001】
本発明は、ラベルに関する。
続きを表示(約 2,100 文字)
【背景技術】
【0002】
従来、被着体に貼着されるラベルにおいては、貼着後に不正に剥離されたことを検知するための様々な工夫がなされている。
【0003】
例えば、特許文献1には、ラベル基材の裏面に文字や模様等の形状に離型剤層を配設し、さらに離型剤層に重ねて着色された粘着剤を塗布したラベルが開示されている。このラベルにおいては、貼着対象物に貼られた後に剥がされた場合、離型剤層と粘着剤とが剥離することで文字や模様等の情報が発現することになる。
【0004】
このような構造を有するラベルを、箱等の被着体の開封部分に跨って貼着しておくことで、被着体の不正開封を検知することができる。
【先行技術文献】
【特許文献】
【0005】
特開2003-330370号公報
【発明の概要】
【発明が解決しようとする課題】
【0006】
しかしながら、特許文献1に開示されたラベルのように、基材の一方の面に所定のパターンの形状に剥離層が積層され、さらに剥離層に重ねて有色の貼着層が積層されたラベルにおいては、被着体との貼着力や被着体からの剥がし方によっては、剥離層と貼着層とが剥離しない場合がある。貼着層を構成する粘着剤が伸縮性を有するものにおいては、被着体に貼着された後に剥離されようとすると、貼着層が被着体に貼着された状態で十分に伸びた後に剥離層に対向する領域が破断し、剥離層に対向する領域に貼着層が存在しない状態となる。しかしながら、被着体との貼着力や被着体からの剥がし方によっては、貼着層が十分に伸びず、剥離層に対向する領域が破断するという現象が生じにくくなる場合がある。そのため、被着体から剥離されたことの痕跡を残すことができなくなってしまう虞がある。
【0007】
本発明は、上述したような従来の技術が有する問題点に鑑みてなされたものであって、被着体に貼着された後に剥離された場合に剥離を検知しやすくすることができるラベルを提供することを目的とする。
【課題を解決するための手段】
【0008】
上記目的を達成するために本発明は、
被着体に貼着された後に剥離された場合に潜像パターンを発現させるラベルであって、
ベース基材と、
前記ベース基材の一方の面に前記潜像パターンの形状に積層された剥離層と、
前記ベース基材の前記剥離層が積層された面の全面に前記剥離層を覆って積層された有色貼着層と、を有し、
前記ベース基材、前記剥離層及び前記有色貼着層は、当該ベース基材、剥離層及び有色貼着層を貫通した切り込みを有し、
前記切り込みは、
第1の方向に延びた主切込み部と、
前記主切込み部の両端部のそれぞれから、前記第1の方向に直交する第2の方向にて前記主切込み部を介して互いに隣接する第1の領域と第2の領域とのうち前記第1の領域側に延びた2本の副切込み部とを有する。
【0009】
上記のように構成された本発明においては、被着体に貼着された後に剥離された場合に、ベース基材の一方の面に積層された剥離層が有色貼着層から剥離することで剥離層による潜像パターンが発現することにより剥離が検知されることになる。ここで、ベース基材、剥離層及び有色貼着層には、ベース基材、剥離層及び有色貼着層を貫通した切り込みが設けられており、この切り込みが、第1の方向に延びた主切込み部と、主切込み部の両端部のそれぞれから、第1の方向に直交する第2の方向にて主切込み部を介して互いに隣接する第1の領域と第2の領域とのうち第1の領域側に延びた2本の副切込み部とを有している。そのため、ラベルを第2の領域側から第2の方向に剥離していくと、主切込み部と2本の副切込み部とで囲まれた領域が、その剥離動作に従わずに被着体に一旦貼着されたまま残ろうとする。そして、引き続きラベルを被着体から剥離していくと、主切込み部と2本の副切込み部とで囲まれた領域も被着体から剥離されることになるが、主切込み部と2本の副切込み部とで囲まれた領域は、剥離動作に従わずに被着体に一旦貼着されたまま残ろうとしていたことで剥離力として加わる負荷が大きくなる。そして、この負荷が剥離層と有色貼着層との間に作用して剥離層が有色貼着層から剥離しやすくなり、潜像パターンが発現して剥離が検知されることになる。
【0010】
このように、被着体に貼着された後に剥離された際に被着体との貼着力や被着体からの剥がし方によって剥離層と有色貼着層とが剥離しにくい場合であっても、主切込み部と2本の副切込み部とで囲まれた領域においては、剥離動作に従わずに被着体に一旦貼着されたまま残ろうとしていたことで剥離層が有色貼着層から剥離しやすくなる。それにより、被着体に貼着された後に剥離された場合にその剥離を検知しやすくすることができる。
(【0011】以降は省略されています)
特許ウォッチbot のツイートを見る
この特許をJ-PlatPat(特許庁公式サイト)で参照する
関連特許
個人
回転式カード学習具
1か月前
日本精機株式会社
表示装置
19日前
個人
時刻表示機能つき手帳
2か月前
日本精機株式会社
表示装置
1か月前
個人
計算用教具
15日前
中国電力株式会社
標示旗
25日前
日本精機株式会社
車両用表示装置
2か月前
日本精機株式会社
車両用表示装置
2か月前
日本精機株式会社
車両用表示装置
2か月前
個人
モデルで薔薇の花嫁様を描く為
1か月前
日本精機株式会社
車両用センサ装置
15日前
シャープ株式会社
表示装置
26日前
株式会社一弘社
情報表示板
1か月前
個人
音楽教材
1か月前
株式会社ウメラボ
学習支援システム
11日前
株式会社ウメラボ
学習支援システム
5日前
株式会社半導体エネルギー研究所
半導体装置
2か月前
ニチレイマグネット株式会社
磁着式電飾装置
25日前
株式会社リコー
画像投射システム
26日前
リンテック株式会社
表示体
4日前
BEST株式会社
吊り下げ表示部材
1か月前
シチズンファインデバイス株式会社
液晶表示装置
2か月前
株式会社サンゲツ
見本帳
2か月前
学校法人関西医科大学
腹腔鏡手術訓練装置
25日前
個人
サインポスト
2か月前
シチズンファインデバイス株式会社
液晶表示装置
1か月前
シャープ株式会社
表示装置
2か月前
シャープ株式会社
表示装置
2か月前
セイコーエプソン株式会社
表示方法
1か月前
セイコーエプソン株式会社
表示方法
1か月前
ニデックインスツルメンツ株式会社
情報処理装置
2か月前
リンテック株式会社
粘着ラベル
5日前
ニプロ株式会社
シミュレータ
1か月前
個人
トレーニング用具
2か月前
株式会社半導体エネルギー研究所
駆動回路、及び半導体装置
2か月前
TOPPANホールディングス株式会社
ラベル
2か月前
続きを見る
他の特許を見る