TOP
|
特許
|
意匠
|
商標
特許ウォッチ
Twitter
他の特許を見る
10個以上の画像は省略されています。
公開番号
2025152214
公報種別
公開特許公報(A)
公開日
2025-10-09
出願番号
2024054004
出願日
2024-03-28
発明の名称
ステアリング装置用パッド
出願人
豊田合成株式会社
代理人
個人
主分類
B60Q
3/283 20170101AFI20251002BHJP(車両一般)
要約
【課題】意匠部に形成される透光部を、全域にわたって略均一に光らせることが可能なステアリング装置用パッドを提供すること。
【解決手段】ステアリング装置におけるボス部4の上部側に配設されて、天井壁部26の領域に意匠部45を配設させるとともに、意匠部を、天井壁部の裏面側に配設される光源部55によって、照射可能とされる。意匠部が、光源部から照射される可視光を透光可能な透光部47を、備える。光源部が、基板56と、点灯時に可視光を発光する可視光光源57と、可視光を偏向させつつ拡散させる導光体59と、を備える。導光体が、外形形状を略長方形板状とされる。可視光光源が、導光体の長手方向側の端部側となる側方に配設される。導光体が、上下方向側から見た外形形状を、短手方向側の幅寸法を長手方向側の略中央にかけて漸減させるように、短手方向側で対向する各長辺を傾斜させている。
【選択図】図3
特許請求の範囲
【請求項1】
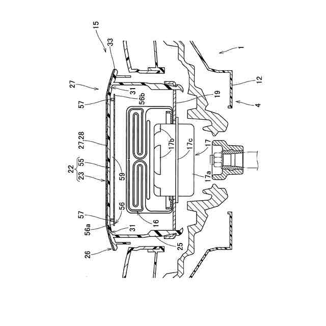
ステアリング装置におけるボス部の上部側に配設されて、該ボス部を覆う天井壁部の領域に意匠部を配設させるとともに、該意匠部を、前記天井壁部の裏面側に配設される光源部によって、照射可能とされ、
前記意匠部が、前記光源部から照射される可視光を透光可能な透光部を、備える構成のステアリング装置用パッドであって、
前記光源部が、基板と、該基板に取り付けられて点灯時に可視光を発光する可視光光源と、該可視光光源から発光される可視光を偏向させつつ拡散させる導光体と、を備え、
該導光体が、前記透光部の下方の領域を略全面にわたって覆うように配設されるとともに、外形形状を略長方形板状として構成され、
前記可視光光源が、前記導光体の長手方向側の端部側となる側方に、それぞれ、少なくとも1個ずつ、配設され、
前記導光体が、上下方向側から見た外形形状を、短手方向側の幅寸法を長手方向側の略中央にかけて漸減させるように、短手方向側で対向する各長辺を傾斜させて構成されていることを特徴とするステアリング装置用パッド。
続きを表示(約 510 文字)
【請求項2】
前記導光体の下面側に、前記可視光光源から発光される可視光を上方に向かうように偏向可能な反射部が、配設され、
該反射部が、少なくとも前記透光部の下方となる位置に、形成されていることを特徴とする請求項1に記載のステアリング装置用パッド。
【請求項3】
前記可視光光源が、前記光源部を上下方向側から見た状態において、前記反射部に対して短手方向側で重ならない位置に、配設されていることを特徴とする請求項2に記載のステアリング装置用パッド。
【請求項4】
前記可視光光源が、前記導光体の長手方向の端部側において、それぞれ、2個ずつ配設されていることを特徴とする請求項3に記載のステアリング装置用パッド。
【請求項5】
前記ボス部の内部に、折り畳まれたエアバッグが収納され、
前記天井壁部が、前記エアバッグの膨張時に、所定位置に配置される破断予定部を破断させることにより、扉部を開かせるような構成とされ、
前記破断予定部が、前記光源部を迂回するように、形成されていることを特徴とする請求項1乃至4のいずれか1項に記載のステアリング装置用パッド。
発明の詳細な説明
【技術分野】
【0001】
本発明は、ステアリング装置におけるボス部の上部側に配設されて、該ボス部を覆う天井壁部の領域に意匠部を配設させるとともに、意匠部を、天井壁部の裏面側に配設される光源部によって照射可能とされる構成のステアリング装置用パッドに関する。
続きを表示(約 2,200 文字)
【背景技術】
【0002】
従来、ステアリング装置(ステアリングホイール)用のパッドとしては、天井壁部の裏面側に配設される光源部を構成しているレンズ(導光体に相当)の一部を、所定形状として、部分的に、天井壁部の表面側に突出させるようにして、意匠部を構成し、レンズの周囲に配置される可視光光源を点灯させることにより、意匠部(すなわち、透光部)を光らせる構成のものがあった(例えば、特許文献1参照)。
【先行技術文献】
【特許文献】
【0003】
米国特許第10507764号明細書
【発明の概要】
【発明が解決しようとする課題】
【0004】
この従来のステアリング装置用パッドでは、レンズは、左右に幅広とした略長方形板状とされており、可視光光源は、レンズの左右両端(長手方向の両端)側となる2箇所に、配設される構成であった。また、意匠部(透光部)自体も、レンズの前後左右の中央付近において左右に延びる領域に、配設される構成であった。すなわち、従来のステアリング装置用パッドでは、レンズは、上下方向側から見た状態において、単なる略長方形状とされており、また、上下方向側から見た状態において、可視光光源と意匠部(透光部)の左右の中央との離隔距離も大きいことから、可視光光源の点灯時に発光される可視光が、意匠部(透光部)の左右の中央付近の領域まで届き難く、意匠部を全域にわたって均一に光らせ、意匠性を良好とする点に、改善の余地があった。
【0005】
本発明は、上述の課題を解決するものであり、意匠部に形成される透光部を、全域にわたって略均一に光らせることが可能なステアリング装置用パッドを提供することを目的とする。
【課題を解決するための手段】
【0006】
本発明に係るステアリング装置用パッドは、ステアリング装置におけるボス部の上部側に配設されて、ボス部を覆う天井壁部の領域に意匠部を配設させるとともに、意匠部を、天井壁部の裏面側に配設される光源部によって、照射可能とされ、
意匠部が、光源部から照射される可視光を透光可能な透光部を、備える構成のステアリング装置用パッドであって、
光源部が、基板と、基板に取り付けられて点灯時に可視光を発光する可視光光源と、可視光光源から発光される可視光を偏向させつつ拡散させる導光体と、を備え、
導光体が、透光部の下方の領域を略全面にわたって覆うように配設されるとともに、外形形状を略長方形板状として構成され、
可視光光源が、導光体の長手方向側の端部側となる側方に、それぞれ、少なくとも1個ずつ、配設され、
導光体が、上下方向側から見た外形形状を、短手方向側の幅寸法を長手方向側の略中央にかけて漸減させるように、短手方向側で対向する各長辺を傾斜させて構成されていることを特徴とする。
【0007】
可視光光源の点灯時に、導光体内に入射した可視光は、導光体を上下方向側から見た状態においては、可視光の入射方向と略直交する方向側で対向する側面に当たって偏向されるようにして、導光体内を拡散されることとなる。本発明のステアリング装置用パッドでは、可視光光源の点灯時に、可視光は、導光体の長手方向側の端面から、導光体内に入射して、短手方向側で対向する長辺側の側面に当たって偏向されるようにして、導光体内を拡散されることとなるが、この各長辺側の側面が、上下方向側から見た状態において、中央にかけて相互に接近するように、傾斜して配置され、導光体は、長手方向の中央付近の領域を狭幅として構成されることから、長辺側の側面に当たって偏向されつつ拡散される光線が、偏向を重ねながら、分散を抑制されて、導光体内における長手方向の中央付近の領域(狭幅の領域)を多く通るような軌跡を描くこととなる。そのため、導光体を長方形状として、可視光光源を、導光体の長手方向の端部側に配設させる構成としていても、可視光光源から離れている導光体の長手方向の中央付近の領域まで、可視光を円滑に届かせることができて、導光体全体を略均一に光らせることが可能となる。その結果、意匠部に設けられている透光部を、略均等に光らせることが可能となり、意匠性を良好とすることができる。
【0008】
したがって、本発明のステアリング装置用パッドでは、意匠部に形成される透光部を、全域にわたって略均一に光らせることができる。
【0009】
また、本発明のステアリング装置用パッドにおいて、導光体の下面側に、可視光光源から発光される可視光を上方に向かうように偏向可能な反射部を、配設させ、
反射部を、少なくとも透光部の下方となる位置に、形成する構成とすることが、好ましい。
【0010】
ステアリング装置用パッドを上記構成とすれば、透光部の下方の領域で、可視光を、透光部側となる上方に向かって確実に偏向させることが可能となることから、透光部から放射される可視光の光量を安定させることができる。そのため、例えば、出力の小さな可視光光源を利用した場合にも、透光部における長手方向の中央側に配置される領域も、安定して光らせることが可能となる。
(【0011】以降は省略されています)
この特許をJ-PlatPat(特許庁公式サイト)で参照する
関連特許
豊田合成株式会社
調光装置
3日前
豊田合成株式会社
殺菌装置
29日前
豊田合成株式会社
ガラスラン
15日前
豊田合成株式会社
ガラスラン
22日前
豊田合成株式会社
ガラスラン
15日前
豊田合成株式会社
乗員保護装置
15日前
豊田合成株式会社
樹脂成形装置
23日前
豊田合成株式会社
車両用内装品
17日前
豊田合成株式会社
車両用内装品
17日前
豊田合成株式会社
機器制御装置
15日前
豊田合成株式会社
車両用外装品
15日前
豊田合成株式会社
流体殺菌装置
29日前
豊田合成株式会社
乗員保護装置
9日前
豊田合成株式会社
エアバッグ装置
9日前
豊田合成株式会社
空調用レジスタ
16日前
豊田合成株式会社
空調用レジスタ
16日前
豊田合成株式会社
空調用レジスタ
16日前
豊田合成株式会社
電動液体ポンプ
15日前
豊田合成株式会社
電動液体ポンプ
15日前
豊田合成株式会社
電動液体ポンプ
15日前
豊田合成株式会社
立体エアバッグ
15日前
豊田合成株式会社
電動液体ポンプ
15日前
豊田合成株式会社
電動液体ポンプ
15日前
豊田合成株式会社
ステアリング装置
10日前
豊田合成株式会社
車両の前部構造体
3日前
豊田合成株式会社
車両の音出力装置
19日前
豊田合成株式会社
ステアリング装置
9日前
豊田合成株式会社
ステアリング装置
10日前
豊田合成株式会社
把持検知システム
15日前
豊田合成株式会社
ステアリング装置
11日前
豊田合成株式会社
把持検知システム
11日前
豊田合成株式会社
コンテンツ体験装置
10日前
豊田合成株式会社
コンソールボックス
17日前
豊田合成株式会社
コンソールボックス
17日前
豊田合成株式会社
コンソールボックス
17日前
豊田合成株式会社
車両用体験システム
10日前
続きを見る
他の特許を見る