TOP
|
特許
|
意匠
|
商標
特許ウォッチ
Twitter
他の特許を見る
10個以上の画像は省略されています。
公開番号
2025142859
公報種別
公開特許公報(A)
公開日
2025-10-01
出願番号
2024042450
出願日
2024-03-18
発明の名称
コンソールボックス
出願人
豊田合成株式会社
,
株式会社豊田自動織機
代理人
個人
,
個人
主分類
B60R
7/04 20060101AFI20250924BHJP(車両一般)
要約
【課題】リッドがボックス本体の開口部を閉じている位置から開き方向に回動する際、ボックス本体の開口部からリッドが外れることを抑制できるコンソールボックスを提供する。
【解決手段】コンソールボックスは、ボックス本体13と、リッド14と、シム19と、を備える。シム19は、ボックス本体13からリッド14に向けて突出しているときにボックス本体13に対しリッド14を回動可能とする。シム19は、リッド14が回動するとき、回動中心線L周りにおいてリッド14に対し相対移動する。シム19にはタブ62が形成されている。リッド14には、ボックス本体13の開口部を閉じているとき、シム19のタブ62を挿入することを可能とする溝64が、回動中心線L周りに延びるように形成されている。溝64は、リッド14がボックス本体13の開口部を開く方向に回動するとき、シム19のタブ62と対向する内壁面66を有している。
【選択図】図13
特許請求の範囲
【請求項1】
開口部が形成されたボックス本体と、
回動中心線周りの回動によって前記ボックス本体の開口部を開閉するリッドと、
前記ボックス本体と前記リッドとのうちの一方に配置され、前記ボックス本体と前記リッドとのうちの他方に向けて付勢される可動部材と、
を備え、
前記可動部材は、前記回動中心線に沿って、前記ボックス本体と前記リッドとのうちの前記一方から前記他方に向けて突出しているとき、前記ボックス本体に対し前記リッドを回動可能とし、前記ボックス本体と前記リッドとのうちの前記一方に没入するとき、前記ボックス本体から前記リッドを取り外し可能とするコンソールボックスにおいて、
前記可動部材は、前記リッドが回動するとき、前記回動中心線周りにおいて前記ボックス本体と前記リッドとのうちの前記他方に対し相対移動するものであり、
前記可動部材には、その可動部材から突出するようにタブが形成されており、
前記ボックス本体と前記リッドとのうちの前記他方には、前記リッドが前記ボックス本体の開口部を閉じているとき、前記ボックス本体と前記リッドとのうちの前記一方から突出する前記可動部材における前記タブを挿入することが可能となっている溝が、前記回動中心線周りに延びるように形成され、
前記溝は、前記リッドが前記ボックス本体の開口部を開く方向に回動するとき、前記可動部材の前記タブと対向する内壁面を有しているコンソールボックス。
続きを表示(約 900 文字)
【請求項2】
前記可動部材に形成された第1当接部と、
前記ボックス本体と前記リッドとのうちの前記他方に形成された第2当接部と、
を備え、
前記第1当接部及び前記第2当接部は、前記可動部材が前記ボックス本体と前記リッドとのうちの前記一方に没入するときには、前記回動中心線の延びる方向において互いに離れるものであって、前記可動部材が前記ボックス本体と前記リッドとのうちの前記一方から前記他方に向けて突出しているときには、前記リッドの回動時に回動方向について相対移動し、その相対移動に伴って互いに当接することによって前記リッドの過開きを規制するものである請求項1に記載のコンソールボックス。
【請求項3】
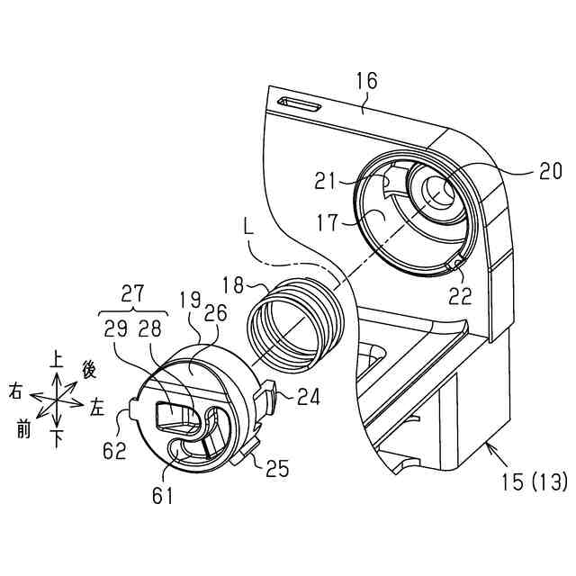
前記タブは、前記回動中心線から離れる方向に突出するよう前記可動部材の外周面に形成されるものであり、
前記ボックス本体と前記リッドとの前記他方には、前記タブを前記回動中心線の延びる方向に通過させることが可能な挿通部が形成され、
前記挿通部は、前記溝に繋がるとともに、前記ボックス本体の開口部を前記リッドによって閉じているときに前記タブに対応して位置するものである請求項1又は2に記載のコンソールボックス。
【請求項4】
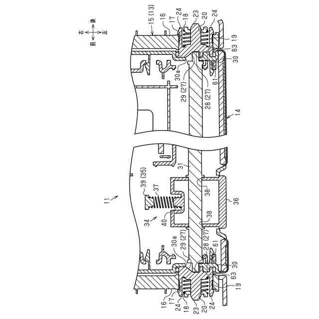
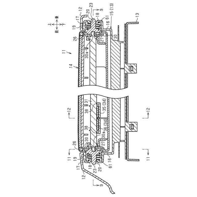
前記可動部材は、前記ボックス本体に配置され、前記リッドが前記ボックス本体の開口部を閉じているとき、前記リッドに向けて突出することによって前記リッドの回動軸を回動可能に支持するシムであり、
前記シムの外周面に前記タブが形成されるとともに、前記リッドに前記溝及び前記挿通部が形成されている請求項3に記載のコンソールボックス。
【請求項5】
前記可動部材は、前記リッドに配置され、前記リッドが前記ボックス本体の開口部を閉じているとき、前記ボックス本体に向けて突出することによって前記リッドを前記ボックス本体に対し回動可能とする回動軸であり、
前記回動軸の外周面に前記タブが形成されるとともに、前記ボックス本体に前記溝及び前記挿通部が形成されている請求項3に記載のコンソールボックス。
発明の詳細な説明
【技術分野】
【0001】
本開示は、コンソールボックスに関する。
続きを表示(約 2,700 文字)
【背景技術】
【0002】
特許文献1に示されるように、車両用内装品であるコンソールボックスは、ボックス本体と、リッドと、可動部材と、を備えている。ボックス本体には開口部が形成されている。リッドは、回動中心線周りの回動により、ボックス本体の開口部を開閉する。可動部材は、ボックス本体とリッドとのうちの一方に配置され、ボックス本体とリッドとのうちの他方に向けて付勢される。可動部材は、上記回動中心線に沿って、ボックス本体とリッドとのうちの上記一方から上記他方に向けて突出しているとき、ボックス本体に対しリッドを回動可能とする。また、可動部材は、ボックス本体とリッドとのうちの上記一方に没入するとき、ボックス本体からリッドを取り外し可能とする。
【先行技術文献】
【特許文献】
【0003】
特開2023-70037号公報
【発明の概要】
【発明が解決しようとする課題】
【0004】
リッドを回動中心線周りに回動させることによってボックス本体の開口部を開く際、可動部材をボックス本体とリッドとのうちの上記一方に没入させる力が働くと、可動部材の上記没入に伴ってリッドがボックス本体から外れるおそれがある。
【課題を解決するための手段】
【0005】
次に、上記課題を解決する車両用内装品の各態様について記載する。
(態様1)
開口部が形成されたボックス本体と、回動中心線周りの回動によって前記ボックス本体の開口部を開閉するリッドと、前記ボックス本体と前記リッドとのうちの一方に配置され、前記ボックス本体と前記リッドとのうちの他方に向けて付勢される可動部材と、を備え、前記可動部材は、前記回動中心線に沿って、前記ボックス本体と前記リッドとのうちの前記一方から前記他方に向けて突出しているとき、前記ボックス本体に対し前記リッドを回動可能とし、前記ボックス本体と前記リッドとのうちの前記一方に没入するとき、前記ボックス本体から前記リッドを取り外し可能とするコンソールボックスにおいて、前記可動部材は、前記リッドが回動するとき、前記回動中心線周りにおいて前記ボックス本体と前記リッドとのうちの前記他方に対し相対移動するものであり、前記可動部材には、その可動部材から突出するようにタブが形成されており、前記ボックス本体と前記リッドとのうちの前記他方には、前記リッドが前記ボックス本体の開口部を閉じているとき、前記ボックス本体と前記リッドとのうちの前記一方から突出する前記可動部材における前記タブを挿入することが可能となっている溝が、前記回動中心線周りに延びるように形成され、前記溝は、前記リッドが前記ボックス本体の開口部を開く方向に回動するとき、前記可動部材の前記タブと対向する内壁面を有しているコンソールボックス。
【0006】
上記構成によれば、リッドをボックス本体の開口部を閉じている位置から開き方向に回動させるとき、可動部材のタブが溝の内壁面に対向して位置する。これにより、可動部材がリッドの回動中心線に沿って前記ボックス本体と前記リッドとのうちの上記一方に没入することは抑制される。その結果、リッドが上述したように回動する際、可動部材が前記ボックス本体と前記リッドとのうちの上記一方に没入することに伴い、ボックス本体の開口部からリッドが外れることは抑制される。
【0007】
(態様2)
前記可動部材に形成された第1当接部と、前記ボックス本体と前記リッドとのうちの前記他方に形成された第2当接部と、を備え、前記第1当接部及び前記第2当接部は、前記可動部材が前記ボックス本体と前記リッドとのうちの前記一方に没入するときには、前記回動中心線の延びる方向において互いに離れるものであって、前記可動部材が前記ボックス本体と前記リッドとのうちの前記一方から前記他方に向けて突出しているときには、前記リッドの回動時に回動方向について相対移動し、その相対移動に伴って互いに当接することによって前記リッドの過開きを規制するものである(態様1)に記載のコンソールボックス。
【0008】
上記構成によれば、ボックス本体の開口部を開閉するためにリッドを回動させる際、回動中心線周りで第1当接部と第2当接部とが相対移動する。このように相対移動する第1当接部と第2当接部とが互いに当接することにより、リッドの過開きが抑制される。ただし、第1当接部と第2当接部との当接が繰り返されることにより、第1当接部及び第2当接部が摩耗すると、リッドが過開きする際に可動部材が回動中心線に沿ってボックス本体とリッドとのうちの上記一方に没入する方向に押される。そして、可動部材がボックス本体とリッドとの上記一方に没入したとすると、リッドがボックス本体の開口部から外れるおそれがある。しかし、上述したように可動部材がボックス本体とリッドとの上記一方に没入することは、可動部材のタブが溝の内壁面に対向して位置することによって抑制される。
【0009】
(態様3)
前記タブは、前記回動中心線から離れる方向に突出するよう前記可動部材の外周面に形成されるものであり、前記ボックス本体と前記リッドとの前記他方には、前記タブを前記回動中心線の延びる方向に通過させることが可能な挿通部が形成され、前記挿通部は、前記溝に繋がるとともに、前記ボックス本体の開口部を前記リッドによって閉じているときに前記タブに対応して位置するものである(態様1)又は(態様2)に記載のコンソールボックス。
【0010】
上記構成によれば、可動部材は、ボックス本体とリッドとのうちの上記一方から上記他方に向けて付勢されている。このため、リッドがボックス本体の開口部を閉じているとき、可動部材がボックス本体とリッドとのうちの上記一方から上記他方に向けて突出する。このときには、可動部材のタブがボックス本体とリッドとのうちの上記他方に形成された挿通部を通過して溝の内部に挿入される。また、上記可動部材をボックス本体とリッドとのうちの上記一方に没入させることにより、上記挿通部を介して上記溝の内部から上記タブを抜き出すことが可能である。このようにタブを溝から抜き出すことにより、ボックス本体からリッドを取り外すことができる。
(【0011】以降は省略されています)
この特許をJ-PlatPat(特許庁公式サイト)で参照する
関連特許
豊田合成株式会社
殺菌装置
12日前
豊田合成株式会社
表示装置
28日前
豊田合成株式会社
操作装置
28日前
豊田合成株式会社
取付装置
2か月前
豊田合成株式会社
着座装置
14日前
豊田合成株式会社
発光素子
29日前
豊田合成株式会社
半導体素子
20日前
豊田合成株式会社
ガラスラン
5日前
豊田合成株式会社
乗員保護装置
1か月前
豊田合成株式会社
流体殺菌装置
1か月前
豊田合成株式会社
流体殺菌装置
2か月前
豊田合成株式会社
流体殺菌装置
2か月前
豊田合成株式会社
情報処理装置
1か月前
豊田合成株式会社
乗員保護装置
1か月前
豊田合成株式会社
車両用内装品
今日
豊田合成株式会社
車両用外装品
1か月前
豊田合成株式会社
下肢保護装置
1か月前
豊田合成株式会社
流体殺菌装置
2か月前
豊田合成株式会社
乗員保護装置
2か月前
豊田合成株式会社
乗員保護装置
2か月前
豊田合成株式会社
流体殺菌装置
2か月前
豊田合成株式会社
流体殺菌装置
2か月前
豊田合成株式会社
流体殺菌装置
2か月前
豊田合成株式会社
流体殺菌装置
2か月前
豊田合成株式会社
流体殺菌装置
2か月前
豊田合成株式会社
車両用ビーム
2か月前
豊田合成株式会社
車両用外装品
2か月前
豊田合成株式会社
流体殺菌装置
2か月前
豊田合成株式会社
流体殺菌装置
1か月前
豊田合成株式会社
流体殺菌装置
2か月前
豊田合成株式会社
車載照明装置
28日前
豊田合成株式会社
流体殺菌装置
22日前
豊田合成株式会社
樹脂成形装置
6日前
豊田合成株式会社
流体殺菌装置
12日前
豊田合成株式会社
車両用内装品
今日
豊田合成株式会社
流体殺菌装置
12日前
続きを見る
他の特許を見る