TOP
|
特許
|
意匠
|
商標
特許ウォッチ
Twitter
他の特許を見る
公開番号
2025151898
公報種別
公開特許公報(A)
公開日
2025-10-09
出願番号
2024053526
出願日
2024-03-28
発明の名称
多層反射膜付き基板、反射型マスクブランク、反射型マスク、及び半導体装置の製造方法
出願人
HOYA株式会社
,
ホーヤ エレクトロニクス シンガポール プライベート リミテッド
,
HOYA ELECTRONICS SINGAPORE PTE.LTD.
代理人
弁理士法人 津国
主分類
G03F
1/24 20120101AFI20251002BHJP(写真;映画;光波以外の波を使用する類似技術;電子写真;ホログラフイ)
要約
【課題】 波長13.53nmのEUV光に対する多層反射膜の反射率の制御性を向上することができる多層反射膜基板、反射型マスクブランク及び反射型マスクを提供する。
【解決手段】 基板と、前記基板の主表面の上に設けられた多層反射膜と、を備え、前記多層反射膜は、前記基板の前記主表面により近い下部及び前記主表面からより遠い上部を有し、暗視野走査型透過電子顕微鏡で撮像した前記多層反射膜の断面画像において、前記多層反射膜は、前記上部の輝度の歪度SkUが前記下部の輝度の歪度SkLよりも大きい第1領域を含むことを特徴とする多層反射膜付き基板である。
【選択図】 図1
特許請求の範囲
【請求項1】
基板と、
前記基板の主表面の上に設けられた多層反射膜と、を備え、
前記多層反射膜は、前記基板の前記主表面により近い下部及び前記主表面からより遠い上部を有し、
暗視野走査型透過電子顕微鏡で撮像した前記多層反射膜の断面画像において、前記多層反射膜は、前記上部の輝度の歪度SkUが前記下部の輝度の歪度SkLよりも大きい第1領域を含むことを特徴とする多層反射膜付き基板。
続きを表示(約 1,100 文字)
【請求項2】
前記第1領域は、前記多層反射膜の上面視において、前記多層反射膜の少なくとも一部を含むように位置することを特徴とする請求項1に記載の多層反射膜付き基板。
【請求項3】
前記第1領域は、上面視において前記基板の前記主表面の中心を対角線の交点とする1辺が132mmの正方形を含むように位置することを特徴とする請求項1又は2に記載の多層反射膜付き基板。
【請求項4】
前記下部は、前記多層反射膜の膜厚の前記基板側の50%である下半部に対応し、前記上部は前記下半部を除く上半部に対応することを特徴とする請求項1又は2に記載の多層反射膜付き基板。
【請求項5】
前記多層反射膜は、交互に積層した低屈折率層及び高屈折率層を有し、前記低屈折率層はモリブデン及びルテニウムから選択される少なくとも1つを含み、前記高屈折率層はケイ素を含むことを特徴とする請求項1又は2に記載の多層反射膜付き基板。
【請求項6】
基板と、
前記基板の主表面の上に設けられた多層反射膜と、
前記多層反射膜の上に設けられた吸収体膜と、を備え、
前記多層反射膜は、前記基板の前記主表面により近い下部及び前記主表面からより遠い上部を有し、
暗視野走査型透過電子顕微鏡で撮像した前記多層反射膜の断面画像において、前記多層反射膜は、前記上部の輝度の歪度SkUが前記下部の輝度の歪度SkLよりも大きい第1領域を含むことを特徴とする反射型マスクブランク。
【請求項7】
前記第1領域は、前記多層反射膜の上面視において、前記多層反射膜の少なくとも一部を含むように位置することを特徴とする請求項6に記載の反射型マスクブランク。
【請求項8】
前記第1領域は、上面視において前記基板の前記主表面の中心を対角線の交点とする1辺が132mmの正方形を含むように位置することを特徴とする請求項6又は7に記載の反射型マスクブランク。
【請求項9】
前記下部は、前記多層反射膜の膜厚の前記基板側の50%である下半部に対応し、前記上部は前記下半部を除く上半部に対応することを特徴とする請求項6又は7に記載の反射型マスクブランク。
【請求項10】
前記多層反射膜は、交互に積層した低屈折率層及び高屈折率層を有し、前記低屈折率層はモリブデン及びルテニウムから選択される少なくとも1つを含み、前記高屈折率層はケイ素を含むことを特徴とする請求項6又は7に記載の反射型マスクブランク。
(【請求項11】以降は省略されています)
発明の詳細な説明
【技術分野】
【0001】
本発明は、多層反射膜付き基板、反射型マスクブランク、反射型マスク、及び半導体装置の製造方法に関する。
続きを表示(約 1,700 文字)
【背景技術】
【0002】
近年における超LSIデバイスの高密度化、高精度化の更なる要求に伴い、極紫外(Extreme Ultra Violet、以下、EUVと称す。)光を用いた露光技術であるEUVリソグラフィが提案されている。
【0003】
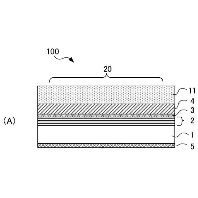
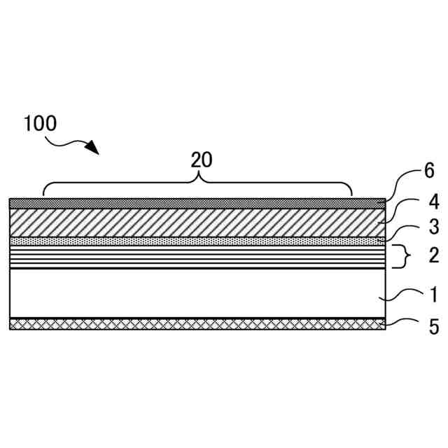
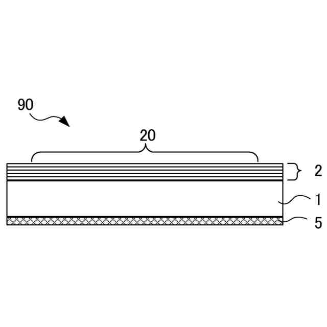
反射型マスクは、基板の上に形成された露光光を反射するための多層反射膜と、多層反射膜の上に形成され、露光光を吸収するためのパターン状の吸収体膜である吸収体パターンとを有する。多層反射膜により反射された光像が、反射光学系を通してシリコンウェハ等の半導体装置用基板(被転写体)の上に転写される。
【0004】
反射型マスクの例として、引用文献1には、EUVリソグラフィに用いられる反射型露光マスクが記載されている。引用文献1に記載の反射型露光マスクは、反射型露光マスク基板上に積層形成された多層膜上に、窒素を含む金属膜からなるマスクパターンを有する。
【0005】
引用文献2には、基板表面にMoを主成分とする層とSiを主成分とする層を交互に周期的に成膜し、前記Siを主成分とする層上に拡散防止層を形成した構造を有するMo/Si多層膜を備える多層膜反射鏡が記載されている。引用文献2には、拡散防止層は、前記Siを主成分とする層が有する原子間空隙に入る最大の球の半径の80%以上の共有原子価半径を有する原子により構成されることが記載されている。また、引用文献2には、Mo/Si多層膜の界面に、MoSi化合物からなる拡散層が形成されることにより、反射率低下や半値幅減少など、光学特性の低下を招くこと、及び拡散防止層を形成することにより、拡散層の形成を抑制することができることが記載されている。
【先行技術文献】
【特許文献】
【0006】
特開2001-237174号公報
特開2007-140147号公報
【発明の概要】
【発明が解決しようとする課題】
【0007】
上述のEUVリソグラフィは、極紫外光(EUV光、Extreme Ultra Violet light)を用いた露光技術である。EUV光とは、軟X線領域又は真空紫外線領域の波長帯の光であり、具体的には波長が0.2~100nm程度の光のことである。一般的に、EUVリソグラフィの場合、波長13~14nmのEUV光を用いることができる。また、具体的な波長として、13.5nmが例示されている。そのため、反射型マスクの多層反射膜の性能として、波長13.5nm付近の波長13~14nmでの反射率の最大値が高いことが必要であると言われている。
【0008】
図11に、半導体基板60上に形成されているレジスト膜に転写パターンを転写するための装置であるEUV露光装置50の概略構成を示す。EUV露光装置50では、錫液滴生成部53から放出された錫液滴に、レーザ光源52からのハイパワーの炭酸ガスレーザが照射されると、液滴状態の錫がプラズマ化しEUV光が生成される。錫液滴によるEUV光の発光は、錫の基底状態の4d軌道から4f軌道に励起された電子が、励起状態から基底状態に戻るときの4d-4f遷移により生じる発光である。このときの発光波長は、13.53nmである。次世代の半導体装置を高い歩留まり及びスループットで製造するために、波長13.53nmにおける反射率の制御性の向上が求められる。
【0009】
そこで、本発明は、波長13.53nmのEUV光に対する多層反射膜の反射率の制御性を向上することができる多層反射膜基板、反射型マスクブランク及び反射型マスクを提供することを目的とする。
【0010】
また、本発明は、波長13.53nmのEUV光に対する多層反射膜の反射率の制御性を向上することができる反射型マスクを用いる半導体装置の製造方法を提供することを目的とする。
【課題を解決するための手段】
(【0011】以降は省略されています)
この特許をJ-PlatPat(特許庁公式サイト)で参照する
関連特許
HOYA株式会社
光学ガラス及び光学素子
1か月前
HOYA株式会社
光学ガラスおよび光学素子
29日前
HOYA株式会社
光学ガラスおよび光学素子
1か月前
HOYA株式会社
銀含有偏光ガラスおよび光アイソレータ
1か月前
HOYA株式会社
銀含有偏光ガラスおよび光アイソレータ
1か月前
HOYA株式会社
荷電粒子線装置の校正基板、および荷電粒子線装置
1か月前
HOYA株式会社
マスクブランク、転写用マスク、及び表示装置の製造方法
1か月前
HOYA株式会社
光学ガラスおよび光学素子
1か月前
HOYA株式会社
光学ガラスおよび光学素子
1か月前
HOYA株式会社
磁気ディスク用基板及び磁気ディスク
7日前
HOYA株式会社
フォトマスク、及び表示装置の製造方法
26日前
HOYA株式会社
多層反射膜付き基板、反射型マスクブランク、反射型マスク、及び半導体装置の製造方法
1か月前
HOYA株式会社
導電膜付き基板、多層反射膜付き基板、マスクブランク、反射型マスク、および半導体装置の製造方法
1か月前
HOYA株式会社
リング状物体の製造方法、成膜装置、ハードディスクドライブ用スペーサ、及びハードディスクドライブ装置
29日前
HOYA株式会社
磁気記録媒体基板用または磁気記録再生装置用ガラススペーサ用のガラス、磁気記録媒体基板、磁気記録媒体、磁気記録再生装置用ガラススペーサおよび磁気記録再生装置
1か月前
個人
表示装置
28日前
個人
雨用レンズカバー
26日前
株式会社シグマ
絞りユニット
1か月前
平和精機工業株式会社
雲台
2か月前
キヤノン株式会社
撮像装置
2か月前
キヤノン株式会社
撮像装置
19日前
キヤノン株式会社
撮像装置
19日前
日本精機株式会社
車両用投射装置
1か月前
キヤノン株式会社
撮像装置
19日前
キヤノン株式会社
撮像装置
1か月前
キヤノン株式会社
撮像装置
1か月前
株式会社リコー
画像形成装置
13日前
株式会社リコー
画像形成装置
2か月前
株式会社リコー
画像形成装置
13日前
株式会社リコー
画像形成装置
7日前
株式会社リコー
画像形成装置
1か月前
株式会社リコー
画像形成装置
3か月前
株式会社リコー
画像形成装置
3か月前
株式会社リコー
画像形成装置
2か月前
株式会社リコー
画像形成装置
3か月前
株式会社リコー
画像形成装置
16日前
続きを見る
他の特許を見る