TOP
|
特許
|
意匠
|
商標
特許ウォッチ
Twitter
他の特許を見る
公開番号
2025151721
公報種別
公開特許公報(A)
公開日
2025-10-09
出願番号
2024053279
出願日
2024-03-28
発明の名称
加湿器
出願人
ウエットマスター株式会社
代理人
個人
,
個人
,
個人
,
個人
主分類
F24F
6/04 20060101AFI20251002BHJP(加熱;レンジ;換気)
要約
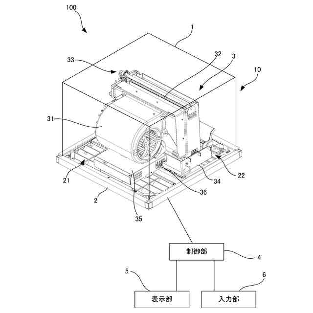
【課題】過加湿を軽減し、結露の発生を抑制することができる加湿器を提供する。
【解決手段】気化式加湿器100は、加湿対象空間の温度及び相対湿度を検出するセンサ36と、空気にエネルギーを与え、加湿対象空間に前記空気を供給する送風機31と、加湿対象空間に供給する空気の風量を制御する風量制御部44と、センサ36が検出した温度及び相対湿度から加湿対象空間の現在絶対湿度を算出する絶対湿度算出部42と、絶対湿度の閾値及び現在絶対湿度が閾値以上になった場合における加湿対象空間に供給する空気の風量である制限風量を記憶する記憶部41と、現在絶対湿度が閾値以上になったか否かを判断する閾値判断部43と、を備える。風量制御部44は、閾値判断部43が現在絶対湿度が閾値以上になったと判断した場合、空気の風量を制限風量に制限する。
【選択図】図2
特許請求の範囲
【請求項1】
加湿対象空間の温度及び相対湿度を検出するセンサと、
空気にエネルギーを与え、前記加湿対象空間に前記空気を供給する送風機と、
前記加湿対象空間に供給する空気の風量を制御する風量制御部と、
前記センサが検出した温度及び相対湿度から前記加湿対象空間の現在絶対湿度を算出する絶対湿度算出部と、
絶対湿度の閾値及び前記現在絶対湿度が前記閾値以上になった場合における前記加湿対象空間に供給する空気の風量である制限風量を記憶する記憶部と、
前記現在絶対湿度が前記閾値以上になったか否かを判断する閾値判断部と、
を備え、
前記風量制御部は、前記閾値判断部が前記現在絶対湿度が前記閾値以上になったと判断した場合、通常運転からリミッタ運転に切り替え、前記空気の風量を前記制限風量に制限する、
加湿器。
続きを表示(約 400 文字)
【請求項2】
前記風量制御部は、ユーザが設定する前記加湿対象空間における目標の相対湿度の設定が100%未満であり、かつ、前記閾値判断部が前記現在絶対湿度が前記閾値以上になったと判断した場合、前記通常運転から前記リミッタ運転に切り替え、前記空気の風量を前記制限風量に制限する、
請求項1に記載の加湿器。
【請求項3】
前記閾値は、0.01000kg/kg以上である、
請求項1又は2に記載の加湿器。
【請求項4】
複数の前記閾値を複数の温度及び相対湿度の組み合わせによって表示する表示部と、
前記表示部に表示された前記複数の閾値からユーザによる選択を受け付ける入力部と、
を備え、
前記絶対湿度算出部は、前記入力部に入力された温度及び相対湿度に基づいて前記閾値となる絶対湿度を算出する、
請求項3に記載の加湿器。
発明の詳細な説明
【技術分野】
【0001】
本発明は、加湿対象空間内に空気を供給する送風機を備えた加湿器に関する。
続きを表示(約 1,400 文字)
【背景技術】
【0002】
室内の湿度をより快適に保つための装置として、加湿器が広く利用されている。加湿器は、部屋などの加湿対象空間に供給する空気を加湿用の水分を含んだ加湿モジュールに接触させることで加湿を行う。加湿器は送風機を備え、送風機は加湿対象空間の空気を吸入し、加湿モジュールに向けて排出させる。
【0003】
加湿器の運転中、加湿モジュールには加湿用の水分が給水装置により供給される。給水装置により加湿モジュールへ供給された水分は、気体と接触して気体を加湿する。そして、加湿された気体は、所定の風量で加湿対象空間内に放出される。このようにして、加湿器は、ユーザが設定した湿度となるように、風量を調整して運転される。
【先行技術文献】
【特許文献】
【0004】
特許第6611823号公報
特開2017-227369号公報
特開2015-025619号公報
【発明の概要】
【発明が解決しようとする課題】
【0005】
加湿対象空間が過加湿となり、水蒸気として存在できる最大量である飽和水蒸気量に達すると結露が生じやすい。そして、温度が低いと飽和水蒸気量は低下する。また、絶対湿度が一定の場合、温度が上昇すると相対湿度は低下し、加湿運転が継続されるため過加湿になりやすい。
【0006】
例えば、冬場などは暖房によって加湿対象空間の温度は高くなると、相対湿度は低下するので、加湿器は風量を増加させる傾向にある。一方で、窓際などは外気温の影響により、加湿対象空間においても温度が低い場所が生じる。そのため、加湿器が設定された湿度に向けて通常運転の風量で加湿を継続すると、過加湿となり、窓際などに結露が生じる虞がある。
【0007】
本発明は上記のような従来技術の問題点を解決するために提案されたものである。本発明の目的は、過加湿を軽減し、結露の発生を抑制することができる加湿器を提供することにある。
【課題を解決するための手段】
【0008】
本発明の加湿器は、加湿対象空間の温度及び相対湿度を検出するセンサと、空気にエネルギーを与え、前記加湿対象空間に前記空気を供給する送風機と、前記加湿対象空間に供給する空気の風量を制御する風量制御部と、前記センサが検出した温度及び相対湿度から前記加湿対象空間の現在絶対湿度を算出する絶対湿度算出部と、絶対湿度の閾値及び前記現在絶対湿度が前記閾値以上になった場合における前記加湿対象空間に供給する空気の風量である制限風量を記憶する記憶部と、前記現在絶対湿度が前記閾値以上になったか否かを判断する閾値判断部と、を備え、前記風量制御部は、前記閾値判断部が前記現在絶対湿度が前記閾値以上になったと判断した場合、通常運転からリミッタ運転に切り替え、前記空気の風量を前記制限風量に制限する。
【0009】
前記風量制御部は、ユーザが設定する前記加湿対象空間における目標の相対湿度の設定が100%未満であり、かつ、前記閾値判断部が前記現在絶対湿度が前記閾値以上になったと判断した場合、前記通常運転から前記リミッタ運転に切り替え、前記空気の風量を前記制限風量に制限するようにしてもよい。
【0010】
前記閾値は、0.01000kg/kg以上であってもよい。
(【0011】以降は省略されています)
この特許をJ-PlatPat(特許庁公式サイト)で参照する
関連特許
個人
空気調和機
4か月前
個人
エアコン室内機
4か月前
株式会社コロナ
空調装置
3か月前
株式会社コロナ
加湿装置
1か月前
株式会社コロナ
空調装置
2か月前
株式会社コロナ
空調装置
13日前
株式会社コロナ
加湿装置
4か月前
株式会社コロナ
空調装置
23日前
株式会社コロナ
空調装置
1か月前
株式会社コロナ
給湯装置
2か月前
株式会社コロナ
空気調和機
2か月前
個人
住宅換気空調システム
2か月前
株式会社コロナ
空気調和機
5か月前
株式会社コロナ
風呂給湯機
1か月前
株式会社コロナ
空気調和機
1か月前
個人
太陽光パネル傾斜装置
8日前
株式会社コロナ
貯湯式給湯機
4か月前
株式会社コロナ
貯湯式給湯機
19日前
株式会社コロナ
直圧式給湯機
1か月前
株式会社パロマ
給湯器
3か月前
株式会社コロナ
直圧式給湯機
3か月前
個人
シンプルクーラー
6日前
株式会社コロナ
貯湯式給湯機
27日前
株式会社コロナ
暖房システム
23日前
ホーコス株式会社
排気フード
2か月前
株式会社コロナ
輻射式冷房装置
2か月前
ホーコス株式会社
換気扇取付枠
1か月前
三菱電機株式会社
送風機
5か月前
株式会社コロナ
貯湯式給湯装置
4か月前
株式会社コロナ
貯湯式給湯装置
4か月前
株式会社コロナ
貯湯式給湯装置
3か月前
三菱電機株式会社
換気扇
7日前
三菱電機株式会社
換気扇
7日前
三菱電機株式会社
換気扇
7日前
株式会社パロマ
給湯暖房機
3か月前
株式会社ノーリツ
燃焼装置
4か月前
続きを見る
他の特許を見る