TOP
|
特許
|
意匠
|
商標
特許ウォッチ
Twitter
他の特許を見る
10個以上の画像は省略されています。
公開番号
2025151629
公報種別
公開特許公報(A)
公開日
2025-10-09
出願番号
2024053155
出願日
2024-03-28
発明の名称
ローリングピストン型電動圧縮機
出願人
株式会社豊田自動織機
代理人
弁理士法人深見特許事務所
主分類
F04C
18/356 20060101AFI20251002BHJP(液体用容積形機械;液体または圧縮性流体用ポンプ)
要約
【課題】高い信頼性を有するローリングピストン型電動圧縮機を提供する。
【解決手段】圧縮機構は、回転軸と、プレート部材とを含む。プレート部材は、第1方向に回転軸が挿通される軸受部を有する。回転軸の外周面には、第1凹部116および第2凹部117が設けられている。回転軸が第1回転角度A1であるとき、第1凹部116に潤滑油が供給されて第1凹部116に潤滑油を貯留可能である。回転軸が第2回転角度A2であるとき、第1凹部116に貯留されている潤滑油が第1軸受溝148に供給可能である。回転軸が第3回転角度A3であるとき、第2凹部117に潤滑油が供給されて第2凹部117に潤滑油を貯留可能である。回転軸が第4回転角度A4であるとき、第2凹部117に貯留されている潤滑油が第2軸受溝149に供給可能である。
【選択図】図19
特許請求の範囲
【請求項1】
吸入経路および吐出経路が設けられたケースと、
前記ケースに収容される電動モータと、
前記ケースに収容され、前記電動モータと水平方向に並設されるとともに、前記吸入経路から吸入され前記電動モータを通過した冷媒を吸入し圧縮して前記吐出経路に吐出する圧縮機構と、
前記吐出経路上に設けられ、冷媒に混在した潤滑油を冷媒から分離するオイルセパレータとを備え、
前記圧縮機構は、
前記電動モータにより駆動されるとともに第1方向に延在する軸心を有する回転軸と、
前記回転軸の回転に伴って前記軸心に対して偏心した状態で回転可能なピストンと、
前記第1方向に交差する方向において前記ピストンに当接するベーンと、
前記ピストンおよび前記ベーンを収容し、前記ピストンおよび前記ベーンとの間において冷媒を圧縮する圧縮室が形成されるシリンダと、
前記第1方向において前記シリンダに当接し、前記圧縮室と接するプレート部材とを含み、
前記ケースの内部には、潤滑油を貯留可能な貯油室が設けられており、
前記吐出経路から分岐し、前記オイルセパレータから分離された潤滑油を前記貯油室に供給可能な第1供給経路が形成されており、
前記貯油室から前記圧縮機構の摺動位置に潤滑油を供給可能な第2供給経路が形成されており、
前記プレート部材は、前記第1方向に前記回転軸が挿通される軸受部を有し、
前記軸受部は、前記第1方向において前記軸受部の中央部から圧縮室側の端部まで連続する第1軸受溝、および前記第1方向において前記中央部から前記圧縮室とは反対側の端部まで連続する第2軸受溝が設けられており、
前記第1軸受溝および前記第2軸受溝は、前記第1方向において互いに間隔をあけて配置されており、
前記回転軸の外周面には、前記回転軸の周方向において互いに間隔をあけて配置され、軸心側に凹んだ第1凹部および第2凹部が設けられており、
前記回転軸が第1回転角度であるとき、前記第2供給経路から前記第1凹部に潤滑油が供給されて前記第1凹部に潤滑油を貯留可能であり、
前記回転軸が第2回転角度であるとき、前記第1凹部に貯留されている潤滑油が前記第1軸受溝に供給可能であり、
前記回転軸が第3回転角度であるとき、前記第2供給経路から前記第2凹部に潤滑油が供給されて前記第2凹部に潤滑油を貯留可能であり、
前記回転軸が第4回転角度であるとき、前記第2凹部に貯留されている潤滑油が前記第2軸受溝に供給可能である、ローリングピストン型電動圧縮機。
続きを表示(約 210 文字)
【請求項2】
前記回転軸の前記周方向において、前記軸受部の前記圧縮室側の前記端部における前記第1軸受溝と前記ベーンとは、互いに略同じ位置に配置されている、請求項1に記載のローリングピストン型電動圧縮機。
【請求項3】
前記第1凹部および前記第2凹部は、前記回転軸の前記外周面において、前記軸心を中心として互いに対向する位置に配置されている、請求項1または請求項2に記載のローリングピストン型電動圧縮機。
発明の詳細な説明
【技術分野】
【0001】
本開示は、ローリングピストン型電動圧縮機に関する。
続きを表示(約 2,800 文字)
【背景技術】
【0002】
ロータリ圧縮機を開示した先行技術文献として、特開2017-53277号公報(特許文献1)がある。特許文献1に記載されたロータリ圧縮機は、圧縮機構部と、シャフトとを備える。シャフトに設けられた給油縦穴および給油横穴を介して、圧縮機構部に潤滑油が供給される。潤滑油は、圧縮機構部の構成部材同士の隙間を潤滑する。
【先行技術文献】
【特許文献】
【0003】
特開2017-53277号公報
【発明の概要】
【発明が解決しようとする課題】
【0004】
特許文献1に記載のロータリ圧縮機においては、構成部材同士の隙間に対し連続的に潤滑油が供給される。このとき、潤滑油が供給過多にならないように流路の一部の断面積を小さくすることによって潤滑油の詰まりが発生する、または、潤滑油の供給圧力の変動によって潤滑油の供給量が変動する可能性がある。このため、潤滑油の供給量が不安定になることによって、圧縮機の信頼性を低下させる可能性がある。
【0005】
本開示は、上記の課題を解決するためになされたものであって、高い信頼性を有するローリングピストン型電動圧縮機を提供することを目的とする。
【課題を解決するための手段】
【0006】
本開示に基づくローリングピストン型電動圧縮機は、ケースと、電動モータと、圧縮機構と、オイルセパレータとを備える。ケースは、吸入経路および吐出経路が設けられている。電動モータは、ケースに収容される。圧縮機構は、ケースに収容され、電動モータと水平方向に並設されるとともに、吸入経路から吸入され電動モータを通過した冷媒を吸入し圧縮して吐出経路に吐出する。オイルセパレータは、吐出経路上に設けられ、冷媒に混在した潤滑油を冷媒から分離する。圧縮機構は、回転軸と、ピストンと、ベーンと、シリンダと、プレート部材とを含む。回転軸は、電動モータにより駆動されるとともに第1方向に延在する軸心を有する。ピストンは、回転軸の回転に伴って軸心に対して偏心した状態で回転可能である。ベーンは、第1方向に交差する方向においてピストンに当接する。シリンダは、ピストンおよびベーンを収容し、ピストンおよびベーンとの間において冷媒を圧縮する圧縮室が形成されている。プレート部材は、第1方向においてシリンダに当接し、圧縮室と接する。ケースの内部には、潤滑油を貯留可能な貯油室が設けられている。吐出経路から分岐し、オイルセパレータから分離された潤滑油を貯油室に供給可能な第1供給経路が形成されている。貯油室から圧縮機構の摺動位置に潤滑油を供給可能な第2供給経路が形成されている。プレート部材は、第1方向に回転軸が挿通される軸受部を有する。軸受部は、第1軸受溝および第2軸受溝が設けられている。第1軸受溝は、第1方向において軸受部の中央部から圧縮室側の端部まで連続している。第2軸受溝は、第1方向において中央部から圧縮室とは反対側の端部まで連続している。第1軸受溝および第2軸受溝は、第1方向において互いに間隔をあけて配置されている。回転軸の外周面には、第1凹部および第2凹部が設けられている。第1凹部および第2凹部は、回転軸の周方向において互いに間隔をあけて配置され、軸心側に凹んでいる。回転軸が第1回転角度であるとき、第2供給経路から第1凹部に潤滑油が供給されて第1凹部に潤滑油を貯留可能である。回転軸が第2回転角度であるとき、第1凹部に貯留されている潤滑油が第1軸受溝に供給可能である。回転軸が第3回転角度であるとき、第2供給経路から第2凹部に潤滑油が供給されて第2凹部に潤滑油を貯留可能である。回転軸が第4回転角度であるとき、第2凹部に貯留されている潤滑油が第2軸受溝に供給可能である。
【0007】
本開示の一形態においては、回転軸の周方向において、軸受部の圧縮室側の端部における第1軸受溝とベーンとは、互いに略同じ位置に配置されている。
【0008】
本開示の一形態においては、第1凹部および第2凹部は、回転軸の外周面において、軸心を中心として互いに対向する位置に配置されている。
【発明の効果】
【0009】
本開示によれば、高い信頼性を有するローリングピストン型電動圧縮機を提供することができる。
【図面の簡単な説明】
【0010】
本開示の一実施の形態に係るローリングピストン型電動圧縮機の構成を示す上面図である。
図1のローリングピストン型電動圧縮機の構成をII線矢印方向から見た正面図である。
図1のローリングピストン型電動圧縮機の構成をIII-III線矢印方向から見た部分断面図である。
図3のローリングピストン型電動圧縮機の構成をIV-IV線矢印方向から見た断面図である。
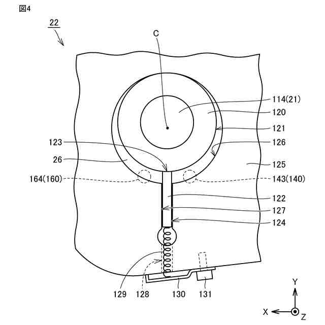
本開示の一実施の形態に係るローリングピストン型電動圧縮機において冷媒が圧縮される経路を示す分解斜視図である。
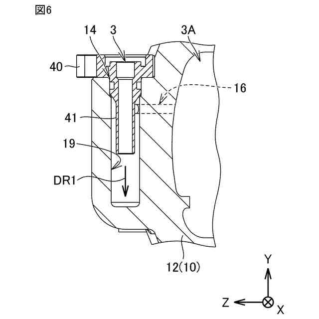
図1のローリングピストン型電動圧縮機の構成をVI-VI線矢印方向から見た断面図である。
本開示の一実施の形態に係るローリングピストン型電動圧縮機における潤滑油供給経路を示す分解斜視図である。
図1のローリングピストン型電動圧縮機の構成をVIII-VIII線矢印方向から見た部分断面図である。
図3のローリングピストン型電動圧縮機の構成をIX-IX線矢印方向から見た断面図である。
図3のローリングピストン型電動圧縮機の構成をX-X線矢印方向から見た断面図である。
図1のローリングピストン型電動圧縮機の構成をXI-XI線矢印方向から見た部分断面図である。
図11におけるXII部を拡大して潤滑油供給経路の構成を示す断面図である。
図1のローリングピストン型電動圧縮機の構成をXIII-XIII線矢印方向から見た部分断面図である。
図13におけるXIV部を拡大して潤滑油供給経路の構成を示す断面図である。
圧縮機構における軸受部の角度位置を示す概略図である。
図15の圧縮機構の構成をXVI線矢印方向から見た部分断面図である。
図15の圧縮機構の構成をXVII線矢印方向から見た部分断面図である。
回転軸の周方向に軸受部を展開して潤滑油供給経路および軸受溝の構成を示す展開図である。
回転軸の周方向に軸受部を展開し、回転軸の回転角度ごとに回転軸の凹部と軸受部の潤滑油供給経路および軸受溝との位置関係を示す展開図である。
【発明を実施するための形態】
(【0011】以降は省略されています)
この特許をJ-PlatPat(特許庁公式サイト)で参照する
関連特許
株式会社豊田自動織機
産業車両
今日
株式会社豊田自動織機
荷役装置
5日前
株式会社豊田自動織機
操作装置
13日前
株式会社豊田自動織機
トランス
13日前
株式会社豊田自動織機
産業車両
25日前
株式会社豊田自動織機
電力変換器
25日前
株式会社豊田自動織機
電力変換装置
25日前
株式会社豊田自動織機
双方向充電器
18日前
株式会社豊田自動織機
車両制御装置
11日前
株式会社豊田自動織機
排気浄化装置
14日前
株式会社豊田自動織機
ターボチャージャ
5日前
株式会社豊田自動織機
燃料電池ユニット
11日前
株式会社豊田自動織機
電磁ブレーキ装置
25日前
株式会社豊田自動織機
エンジン式産業車両
26日前
株式会社豊田自動織機
スクロール型圧縮機
25日前
株式会社豊田自動織機
織機用異常検知装置
5日前
株式会社豊田自動織機
スクロール型圧縮機
26日前
株式会社豊田自動織機
ねじりコイルばね装置
21日前
株式会社豊田自動織機
繊維機械の検査システム
5日前
株式会社豊田自動織機
車両のルーフサイド構造
14日前
株式会社豊田自動織機
インバータ一体型電動機
25日前
株式会社豊田自動織機
スクロール型電動圧縮機
25日前
株式会社豊田自動織機
内燃機関の制御システム
21日前
株式会社豊田自動織機
ローリングピストン型圧縮機
26日前
株式会社豊田自動織機
産業車両及び産業車両の冷却装置
26日前
株式会社豊田自動織機
内燃機関の吸気温度制御システム
5日前
トヨタ自動車株式会社
塗工装置
26日前
トヨタ自動車株式会社
二次電池
26日前
株式会社豊田自動織機
ローリングピストン型電動圧縮機
26日前
株式会社豊田自動織機
繊維構造体、及び繊維強化複合材
5日前
株式会社豊田自動織機
ローリングピストン型電動圧縮機
26日前
株式会社豊田自動織機
ローリングピストン型電動圧縮機
26日前
株式会社豊田自動織機
ローリングピストン型電動圧縮機
26日前
株式会社豊田自動織機
ローリングピストン型電動圧縮機
26日前
株式会社豊田自動織機
燃料電池システム及びフォークリフト
20日前
株式会社豊田自動織機
ACインバータ及び絶縁抵抗低下検知方法
26日前
続きを見る
他の特許を見る