TOP
|
特許
|
意匠
|
商標
特許ウォッチ
Twitter
他の特許を見る
公開番号
2025152685
公報種別
公開特許公報(A)
公開日
2025-10-10
出願番号
2024054707
出願日
2024-03-28
発明の名称
産業車両
出願人
株式会社豊田自動織機
代理人
個人
,
個人
主分類
B60K
11/06 20060101AFI20251002BHJP(車両一般)
要約
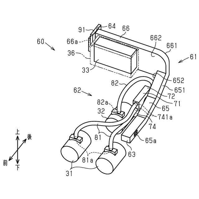
【課題】駆動モータ及びモータ制御装置の冷却性能を向上できる産業車両を提供する。
【解決手段】フォークリフト10は、車両本体21と、車両負荷と、駆動モータと、モータ制御装置33と、冷却装置60と、を有する。車両本体21には、駆動モータと、モータ制御装置33と、冷却装置60と、が収容されている。冷却装置60は、第1冷却配管61と、第2冷却配管62と、を有する。第1冷却配管61は、流入口65aと、流出分岐口と、流出口と、を有する。第2冷却配管62は、流入分岐口と、排気口としての走行モータ用排気口81a及び荷役モータ用排気口と、を有する。モータ制御装置33は、流出分岐口よりも下流且つ流出口よりも上流を流動する空気と熱交換可能に第1冷却配管61に接続されている。駆動モータは、排気口から排気される空気により冷却可能に第2冷却配管62に接続されている。
【選択図】図4
特許請求の範囲
【請求項1】
車両負荷が設けられた車両本体と、
前記車両負荷を駆動する駆動モータと、
前記駆動モータを制御するモータ制御装置と、を有し、
前記車両本体は、
前記駆動モータ及び前記モータ制御装置を収容する収容空間と、
前記収容空間と前記車両本体の外部とを連通させる開口部と、を有し、
前記駆動モータは、前記車両本体に設けられたバッテリを動力源とする産業車両であって、
前記収容空間には、
前記開口部を介して前記車両本体の外部と連通する流入口、及び前記流入口から流入した空気が流出する流出口を有するとともに、前記流入口より下流且つ前記流出口より上流となる部分に流出分岐口を有する第1冷却配管と、
前記流出分岐口と連通する流入分岐口を有するとともに、前記流入分岐口から流入した空気が排気される排気口を有する第2冷却配管と、が収容されており、
前記モータ制御装置は、前記流出分岐口よりも下流且つ前記流出口よりも上流を流動する空気と熱交換可能に前記第1冷却配管に接続され、前記駆動モータは、前記排気口から排気される空気により冷却可能に前記第2冷却配管に接続されることを特徴とする産業車両。
続きを表示(約 1,000 文字)
【請求項2】
前記第1冷却配管には、前記流入口から前記流出口に向かう流れを前記第1冷却配管に作る第1ファンが設けられており、
前記第2冷却配管は、前記流入分岐口が設けられた分岐部を有しており、
前記分岐部は、前記流出分岐口と連通する分岐室を画定するとともに、前記流入分岐口から前記排気口に向かう流れを前記第2冷却配管に作る第2ファンを前記分岐室に収容していることを特徴とする請求項1に記載の産業車両。
【請求項3】
前記車両負荷は、前記車両本体に設けられた荷役装置及び駆動輪であり、
前記駆動モータは、前記駆動輪を駆動する走行モータ、及び前記荷役装置を駆動する荷役モータを有しており、
前記排気口は、走行モータ用排気口、及び荷役モータ用排気口を有しており、
前記第2冷却配管は、前記分岐室において開口する走行モータ用流入口から前記走行モータ用排気口に延びる走行モータ用排気配管と、前記分岐室において開口する荷役モータ用流入口から前記荷役モータ用排気口に延びる荷役モータ用排気配管と、を有していることを特徴とする請求項2に記載の産業車両。
【請求項4】
前記分岐部は、前記走行モータ用流入口が設けられた第1開口壁と、前記荷役モータ用流入口が設けられるとともに前記第2ファンを挟んで前記第1開口壁と対向する第2開口壁と、前記流入分岐口が設けられるとともに、前記第1開口壁と前記第2開口壁に挟まれた第3開口壁と、を有しており、
前記第1開口壁の厚さ方向、及び前記第2開口壁の厚さ方向と直交する方向を前記第3開口壁の厚さ方向とすると、前記第2ファンは、前記流入分岐口から前記分岐室に向けて空気を吸入するとともに、前記分岐室において、前記第1開口壁、前記第2開口壁、及び前記第3開口壁の各々の厚さ方向と直交する方向に向けて空気を吐出するブロアファンであることを特徴とする請求項3に記載の産業車両。
【請求項5】
前記走行モータ用流入口の口径は、前記荷役モータ用流入口の口径よりも大きいことを特徴とする請求項3又は請求項4に記載の産業車両。
【請求項6】
前記モータ制御装置は前記第1冷却配管の内部に向かって立設された複数のフィンを有していることを特徴とする請求項1又は請求項2に記載の産業車両。
発明の詳細な説明
【技術分野】
【0001】
本発明は、産業車両に関する。
続きを表示(約 2,000 文字)
【背景技術】
【0002】
特許文献1には、バッテリを動力源とするフォークリフトが開示されている。フォークリフトは、車両本体と、駆動モータとしての走行モータ及び荷役モータと、バッテリと、モータ制御装置と、冷却ファンと、を有する。車両本体は、走行モータと、荷役モータと、バッテリと、モータ制御装置と、冷却ファンと、を収納している。走行モータ及び荷役モータは、バッテリによる出力の下で駆動される。モータ制御装置は、走行モータ及び荷役モータの駆動を制御している。冷却ファンは、走行モータ及び荷役モータよりも、フォークリフトの後方に配置されている。
【0003】
フォークリフトが走行している際、車両本体の内部には、フォークリフトの前方から、走行風が導入される。車両本体の内部に導入された走行風は、冷却ファンにより、フォークリフトの前方から後方に向けて流される。走行モータ、荷役モータ、及びモータ制御装置の各々は、走行風により冷却される。
【先行技術文献】
【特許文献】
【0004】
特開2023-149063号公報
【発明の概要】
【発明が解決しようとする課題】
【0005】
バッテリを動力源とするバッテリ式フォークリフトにおいては、より高いバッテリによる出力の下で、駆動モータは駆動させるために、駆動モータ及びモータ制御装置の冷却性能を向上することが望まれている。
【課題を解決するための手段】
【0006】
上記課題を解決するための産業車両は、車両負荷が設けられた車両本体と、前記車両負荷を駆動する駆動モータと、前記駆動モータを制御するモータ制御装置と、を有し、前記車両本体は、前記駆動モータ及び前記モータ制御装置を収容する収容空間と、前記収容空間と前記車両本体の外部とを連通させる開口部と、を有し、前記駆動モータは、前記車両本体に設けられたバッテリを動力源とする産業車両であって、前記収容空間には、前記開口部を介して前記車両本体の外部と連通する流入口、及び前記流入口から流入した空気が流出する流出口を有するとともに、前記流入口より下流且つ前記流出口より上流となる部分に流出分岐口を有する第1冷却配管と、前記流出分岐口と連通する流入分岐口を有するとともに、前記流入分岐口から流入した空気が排気される排気口を有する第2冷却配管と、が収容されており、前記モータ制御装置は、前記流出分岐口よりも下流且つ前記流出口よりも上流を流動する空気と熱交換可能に前記第1冷却配管に接続され、前記駆動モータは、前記排気口から排気される空気により冷却可能に前記第2冷却配管に接続されることを要旨とする。
【0007】
これによれば、第1冷却配管には、車両本体の外部から開口部及び流入口を介して空気が流入する。第1冷却配管に流入した空気は、第1冷却配管の内部を流出口に向けて流動する。第1冷却配管の内部を流動した空気は、第1冷却配管の外部へ流出口より流出する。第1冷却配管の内部における空気の流れは、流入口から流出口に向かう流れと、流入口から流出分岐口に向かう流れと、に分岐する。流入口から流出口に向かって流れた空気は、流出分岐口よりも下流且つ流出口よりも上流において、モータ制御装置を冷却する。
【0008】
流入口から流出分岐口に向かって流れた空気は、流出分岐口において第1冷却配管から流出するとともに、流入分岐口を介して第2冷却配管に流入する。第2冷却配管に流入した空気は、第2冷却配管の内部を排気口に向けて流動する。第2冷却配管の内部を流動した空気は、第2冷却配管の外部へ排気口より排気される。排気口から排気された空気は、駆動モータを冷却する。
【0009】
産業車両は、第1冷却配管と第2冷却配管とにより、モータ制御装置を冷却する空気の流れと、駆動モータを冷却する空気の流れと、を配管によって別々に生じさせ、モータ制御装置と駆動モータの各々に集中して空気を送ることができるため、モータ制御装置及び駆動モータをより効率よく冷却できる。つまり、産業車両は、駆動モータ及びモータ制御装置の冷却性能を向上できる。
【0010】
上記産業車両において、前記第1冷却配管には、前記流入口から前記流出口に向かう流れを前記第1冷却配管に作る第1ファンが設けられており、前記第2冷却配管は、前記流入分岐口が設けられた分岐部を有しており、前記分岐部は、前記流出分岐口と連通する分岐室を画定するとともに、前記流入分岐口から前記排気口に向かう流れを前記第2冷却配管に作る第2ファンを前記分岐室に収容してもよい。
(【0011】以降は省略されています)
この特許をJ-PlatPat(特許庁公式サイト)で参照する
関連特許
株式会社豊田自動織機
産業車両
今日
株式会社豊田自動織機
操作装置
13日前
株式会社豊田自動織機
トランス
13日前
株式会社豊田自動織機
荷役装置
5日前
株式会社豊田自動織機
車両制御装置
11日前
株式会社豊田自動織機
双方向充電器
18日前
株式会社豊田自動織機
排気浄化装置
14日前
株式会社豊田自動織機
燃料電池ユニット
11日前
株式会社豊田自動織機
ターボチャージャ
5日前
株式会社豊田自動織機
織機用異常検知装置
5日前
株式会社豊田自動織機
繊維機械の検査システム
5日前
株式会社豊田自動織機
車両のルーフサイド構造
14日前
株式会社豊田自動織機
繊維構造体、及び繊維強化複合材
5日前
株式会社豊田自動織機
内燃機関の吸気温度制御システム
5日前
株式会社豊田自動織機
燃料電池システム及びフォークリフト
20日前
トヨタ自動車株式会社
蓄電装置の製造方法
8日前
トヨタ自動車株式会社
バイポーラ型蓄電装置
11日前
トヨタ自動車株式会社
二次電池及び二次電池の制御方法
7日前
株式会社豊田自動織機
車両用の充電システム、充電回路、充電装置、および電圧の制御方法
14日前
個人
タイヤレバー
3か月前
個人
前輪キャスター
2か月前
個人
上部一体型自動車
1か月前
個人
タイヤ脱落防止構造
2か月前
個人
空間形成装置
5日前
個人
ルーフ付きトライク
2か月前
日本精機株式会社
表示装置
2か月前
個人
マスタシリンダ
1か月前
日本精機株式会社
表示装置
3か月前
日本精機株式会社
表示装置
3か月前
日本精機株式会社
表示装置
3か月前
日本精機株式会社
照明装置
今日
個人
車両通過構造物
3か月前
個人
常設収納型サンバイザー
11日前
個人
乗合路線バスの客室装置
3か月前
日本精機株式会社
車室演出装置
2か月前
株式会社ニフコ
照明装置
2か月前
続きを見る
他の特許を見る