TOP
|
特許
|
意匠
|
商標
特許ウォッチ
Twitter
他の特許を見る
公開番号
2025149388
公報種別
公開特許公報(A)
公開日
2025-10-08
出願番号
2024050007
出願日
2024-03-26
発明の名称
両回転式スクロール型圧縮機
出願人
株式会社豊田自動織機
代理人
弁理士法人ぱてな
主分類
F04C
18/02 20060101AFI20251001BHJP(液体用容積形機械;液体または圧縮性流体用ポンプ)
要約
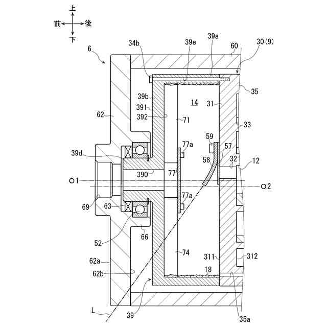
【課題】耐久性に優れた両回転式スクロール型圧縮機を提供する。
【解決手段】本発明の圧縮機では、圧縮機構9が駆動スクロール30及び従動スクロール40を有しており、駆動スクロール30及び従動スクロール40は圧縮室12を形成している。ハウジング6には、圧縮室12で圧縮された冷媒である圧縮冷媒を外部に吐出する吐出連絡口69が形成されている。また、ハウジング6内には駆動機構9とともに回転可能ケース39が設けられている。ケース39内には吐出室14が形成されている。ケース39は壁部39bを有している。壁部39bには吐出通路390と案内凸部71~76とが設けられている。案内凸部71~76は、圧縮冷媒と衝突することで圧縮冷媒に含まれた潤滑油18を圧縮冷媒から分離させるとともに、圧縮冷媒及び潤滑油18を吐出通路390よりも径方向の外側に向けて案内する。
【選択図】図1
特許請求の範囲
【請求項1】
ハウジング、圧縮機構、駆動機構及び従動機構を備え、
前記圧縮機構、前記駆動機構及び前記従動機構は、前記ハウジング内に収容され、
前記圧縮機構は、前記駆動機構によって駆動軸心周りに回転駆動される駆動スクロールと、前記駆動スクロールに対して偏心しつつ従動軸心周りで前記駆動スクロール及び前記従動機構によって回転従動される従動スクロールとを有し、
前記駆動スクロール及び前記従動スクロールは、前記回転駆動及び前記回転従動によって冷媒を圧縮する圧縮室を形成している両回転式スクロール型圧縮機であって、
前記ハウジングには、前記圧縮室で圧縮された冷媒である圧縮冷媒を外部に吐出する吐出連絡口が形成され、
前記ハウジング内には、前記駆動機構とともに回転可能なケースが設けられ、
前記ケース内には、前記圧縮室と連通し、前記圧縮冷媒が吐出される吐出室が形成され、
前記ケースは、前記ケースの径方向に延びる壁部を有し、
前記壁部には、前記吐出室を前記吐出連絡口に連通させる吐出通路と、
前記吐出室内に突出し、前記圧縮冷媒と衝突することで前記圧縮冷媒に含まれた潤滑油を前記圧縮冷媒から分離させるとともに、前記圧縮冷媒及び前記潤滑油を前記吐出通路よりも前記径方向の外側に向けて案内する案内凸部とが設けられていることを特徴とする両回転式スクロール型圧縮機。
続きを表示(約 820 文字)
【請求項2】
前記案内凸部は複数であり、
前記各案内凸部は、前記壁部の周方向に配置されている請求項1記載の両回転式スクロール型圧縮機。
【請求項3】
前記案内凸部には、前記径方向の外側に近づくにつれて前記ケースの回転方向の後方側に湾曲する湾曲部位が設けられている請求項1又は2記載の両回転式スクロール型圧縮機。
【請求項4】
前記壁部には、前記ハウジングに向かって突出し、軸受を介して前記ハウジングに回転可能に支持される被支持体が形成され、
前記被支持体内には前記吐出通路が延びている請求項1又は2記載の両回転式スクロール型圧縮機。
【請求項5】
前記吐出室内には、前記駆動軸心方向で前記吐出通路と重なりつつ、前記圧縮冷媒と衝突する衝突壁が設けられている請求項1又は2記載の両回転式スクロール型圧縮機。
【請求項6】
前記壁部には、前記案内凸部と接続しつつ前記吐出室内に筒状に突出し、内部に前記吐出通路が形成された筒状凸部が設けられている請求項1又は2記載の両回転式スクロール型圧縮機。
【請求項7】
前記圧縮機構は、前記圧縮室から前記吐出室に前記圧縮冷媒を吐出させる吐出口と、
前記吐出口を開閉可能な吐出リード弁と、
前記吐出リード弁の開度を調整可能なリテーナとを有し、
前記リテーナは、基端が前記圧縮機構に固定され、前記基端から先端に向かうにつれて前記圧縮機構から離隔しつつ延び、
前記案内凸部は、前記リテーナの先端の延長線上に位置している請求項1又は2記載の両回転式スクロール型圧縮機。
【請求項8】
前記吐出室は、前記ハウジング内において前記吐出室よりも低圧となる個所に前記吐出室内の前記潤滑油を還流させる還流路と連通している請求項1又は2記載の両回転式スクロール型圧縮機。
発明の詳細な説明
【技術分野】
【0001】
本発明は両回転式スクロール型圧縮機に関する。
続きを表示(約 2,200 文字)
【背景技術】
【0002】
特許文献1に従来の両回転式スクロール型圧縮機(以下、単に圧縮機という。)が開示されている。この圧縮機は、ハウジング、駆動機構、駆動スクロール、従動スクロール及び従動機構を備えている。駆動機構及び駆動スクロールはハウジング内に収容されている。また、ハウジングには、駆動スクロールに向かって突出するボスが形成されている。ボスの内部には支持孔と吐出連絡口が形成されている。支持孔は吐出連絡口よりも大径に形成されており、吐出連絡口と連通している。吐出連絡口はハウジングの外部に連通している。
【0003】
駆動スクロールには駆動軸が形成されている。駆動軸は円筒状をなしており、内部にボスを収容している。駆動軸とボスとの間、より具体的には、駆動軸の内周面とボスの外周面との間には軸受が設けられている。駆動軸は外周面が駆動機構に固定されている。こうして、駆動スクロールは、ハウジング内において駆動機構と固定されているとともに、軸受を介してボスに駆動軸心周りで回転可能に支持されている。
【0004】
従動スクロールはハウジング内に収容されている。より具体的には、従動スクロールは駆動スクロール内に収容されることにより、ハウジング内に収容されている。そして、従動スクロールは駆動スクロール内に収容されることで、駆動スクロールとの間に圧縮室を形成している。また、従動スクロールには、ボスに向かって突出する従動軸が形成されている。従動軸は支持孔に挿通されている。これにより、従動スクロールは、駆動スクロール内に収容された状態でボスに従動軸心周りで回転可能に支持されている。また、従動軸の内部には吐出室が形成されている。吐出室は圧縮室と連通している他、吐出連絡口と連通している。つまり、吐出室を通じて圧縮室と吐出連絡口とが連通している。従動機構は駆動スクロールと従動スクロールとの間に配置されている。
【0005】
この圧縮機では、駆動スクロールが駆動機構によって駆動軸心周りに回転駆動され、従動スクロールが駆動スクロール及び従動機構によって従動軸心周りで回転従動される。これにより、回転駆動する駆動スクロールと回転従動する従動スクロールとによって圧縮室の容積が変化する。こうして、この圧縮機では、圧縮室内に冷媒が吸入されつつ圧縮される。そして、圧縮室で圧縮された冷媒は圧縮冷媒として吐出室に吐出され、更に吐出室から吐出連絡口を経てハウジングの外部に吐出される。
【先行技術文献】
【特許文献】
【0006】
特開平2-227575号公報
【発明の概要】
【発明が解決しようとする課題】
【0007】
ところで、圧縮室内に吸入される冷媒には潤滑油が含まれており、この潤滑油は圧縮冷媒とともに圧縮室から吐出室に吐出される。そこで、このような潤滑油を駆動スクロール及び従動スクロール等の潤滑に用いることが考えられる。
【0008】
しかし、上記従来の圧縮機では、吐出室に吐出された潤滑油の大部分は、圧縮冷媒とともに吐出室から吐出連絡口を経てハウジングの外部に吐出されてしまう。このため、この圧縮機では、吐出室に吐出された潤滑油を駆動スクロール及び従動スクロール等の潤滑に十分に用いることができない。このため、このような圧縮機では駆動スクロール及び従動スクロール等の潤滑不足による耐久性の低下が懸念される。
【0009】
本発明は、上記従来の実情に鑑みてなされたものであって、耐久性に優れた両回転式スクロール型圧縮機を提供することを解決すべき課題としている。
【課題を解決するための手段】
【0010】
本発明の両回転式スクロール型圧縮機は、ハウジング、圧縮機構、駆動機構及び従動機構を備え、
前記圧縮機構、前記駆動機構及び前記従動機構は、前記ハウジング内に収容され、
前記圧縮機構は、前記駆動機構によって駆動軸心周りに回転駆動される駆動スクロールと、前記駆動スクロールに対して偏心しつつ従動軸心周りで前記駆動スクロール及び前記従動機構によって回転従動される従動スクロールとを有し、
前記駆動スクロール及び前記従動スクロールは、前記回転駆動及び前記回転従動によって冷媒を圧縮する圧縮室を形成している両回転式スクロール型圧縮機であって、
前記ハウジングには、前記圧縮室で圧縮された冷媒である圧縮冷媒を外部に吐出する吐出連絡口が形成され、
前記ハウジング内には、前記駆動機構とともに回転可能なケースが設けられ、
前記ケース内には、前記圧縮室と連通し、前記圧縮冷媒が吐出される吐出室が形成され、
前記ケースは、前記ケースの径方向に延びる壁部を有し、
前記壁部には、前記吐出室を前記吐出連絡口に連通させる吐出通路と、
前記吐出室内に突出し、前記圧縮冷媒と衝突することで前記圧縮冷媒に含まれた潤滑油を前記圧縮冷媒から分離させるとともに、前記圧縮冷媒及び前記潤滑油を前記吐出通路よりも前記径方向の外側に向けて案内する案内凸部とが設けられていることを特徴とする。
(【0011】以降は省略されています)
この特許をJ-PlatPat(特許庁公式サイト)で参照する
関連特許
株式会社豊田自動織機
内燃機関
2日前
株式会社豊田自動織機
制御装置
2日前
株式会社豊田自動織機
荷役装置
23日前
株式会社豊田自動織機
電源装置
3日前
株式会社豊田自動織機
トランス
3日前
株式会社豊田自動織機
操作装置
1か月前
株式会社豊田自動織機
蓄電装置
2日前
株式会社豊田自動織機
産業車両
18日前
株式会社豊田自動織機
トランス
1か月前
株式会社豊田自動織機
双方向充電器
1か月前
株式会社豊田自動織機
双方向充電器
17日前
株式会社豊田自動織機
排気浄化装置
1か月前
株式会社豊田自動織機
車両制御装置
29日前
株式会社豊田自動織機
電力供給システム
15日前
株式会社豊田自動織機
燃料電池ユニット
29日前
株式会社豊田自動織機
ターボチャージャ
23日前
株式会社豊田自動織機
ターボチャージャ
10日前
株式会社豊田自動織機
内燃機関の制御装置
16日前
株式会社豊田自動織機
織機用異常検知装置
23日前
株式会社豊田自動織機
車両のルーフサイド構造
1か月前
株式会社豊田自動織機
繊維機械の検査システム
23日前
トヨタ自動車株式会社
蓄電池
16日前
株式会社豊田自動織機
車両用熱マネジメントシステム
2日前
株式会社豊田自動織機
繊維構造体、及び繊維強化複合材
23日前
株式会社豊田自動織機
内燃機関の吸気温度制御システム
23日前
株式会社豊田自動織機
制御装置、及び燃料電池モジュール
2日前
トヨタ自動車株式会社
蓄電モジュール
16日前
トヨタ自動車株式会社
蓄電装置の製造方法
26日前
トヨタ自動車株式会社
バイポーラ型蓄電装置
29日前
株式会社豊田自動織機
シリコンクラスレートIIを含む負極活物質の製造方法
2日前
トヨタ自動車株式会社
二次電池及び二次電池の制御方法
25日前
株式会社豊田自動織機
産業車両のヘッドガード、産業車両及び産業車両の屋根部材
10日前
株式会社アルテックス
ダイカスト装置及び鋳造品の製造方法
16日前
株式会社豊田自動織機
車両用の充電システム、充電回路、充電装置、および電圧の制御方法
1か月前
個人
海流製造装置。
2か月前
株式会社スギノマシン
圧縮機
1か月前
続きを見る
他の特許を見る