TOP
|
特許
|
意匠
|
商標
特許ウォッチ
Twitter
他の特許を見る
公開番号
2025154671
公報種別
公開特許公報(A)
公開日
2025-10-10
出願番号
2024057796
出願日
2024-03-29
発明の名称
電力変換器
出願人
株式会社豊田自動織機
代理人
個人
,
個人
,
個人
,
個人
主分類
H02M
7/48 20070101AFI20251002BHJP(電力の発電,変換,配電)
要約
【課題】電磁ノイズを抑制しつつ、小型化することができる電力変換器を提供する。
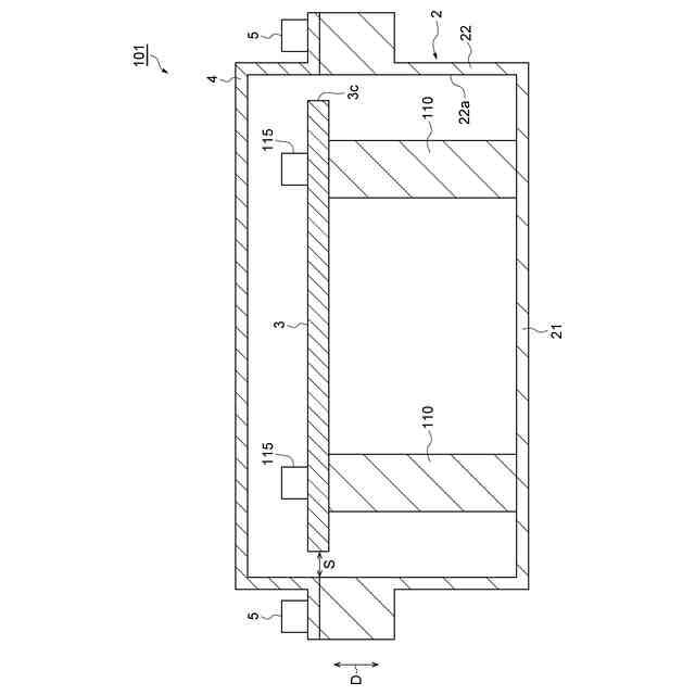
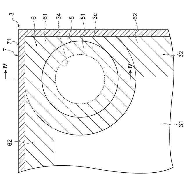
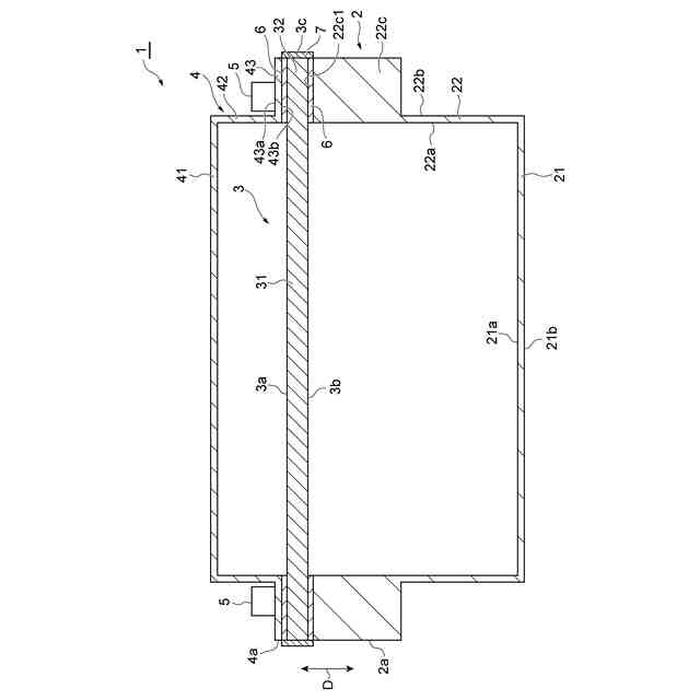
【解決手段】底壁21と、底壁21の方向D(立設方向)に突出した側壁22と、を含む金属製の筐体2と、側壁22を挟んで方向Dにおいて底壁21と対向するように配置された回路基板3と、回路基板3を挟んで方向Dにおいて底壁21と対向するように配置され、筐体2に対して回路基板3を覆う金属製のカバー4と、を備え、回路基板3は、方向Dから見た場合において、側壁22の外周部32と重なっており、回路基板3におけるカバー4側の第1主面3a及び筐体2側の第2主面3bには、カバー4及び筐体2と電気的に接続された導電部6が形成され、導電部6には、回路基板3の外周部32及び当該外周部32より外側の部分の少なくとも一方において方向Dに沿って第1主面3aから第2主面3bまで形成された導電性の被膜部7が電気的に接続されている。
【選択図】図1
特許請求の範囲
【請求項1】
底壁と、前記底壁に立設された側壁と、を含む金属製の筐体と、
前記側壁を挟んで前記側壁の立設方向において前記底壁と対向するように配置された回路基板と、
前記回路基板を挟んで前記立設方向において前記底壁と対向するように配置され、前記筐体に対して前記回路基板を覆う金属製のカバーと、を備え、
前記回路基板の外周部は、前記立設方向に相当する前記回路基板の板厚方向から見た場合において、前記側壁と重なっており、
前記回路基板における前記カバー側の第1主面及び前記筐体側の第2主面の少なくとも一方には、前記カバー及び前記筐体の少なくとも一方と電気的に接続された導電部が形成され、
前記導電部には、前記回路基板の外周部及び当該外周部より外側の部分の少なくとも一方において前記板厚方向に沿って前記第1主面から前記第2主面まで形成された導電性の被膜部が電気的に接続されている、電力変換器。
続きを表示(約 390 文字)
【請求項2】
前記回路基板は、前記板厚方向に貫通した複数の締結用貫通孔を有し、前記締結用貫通孔に差し込まれた複数の締結具によって、前記カバーと共に前記側壁に締結されている、請求項1に記載の電力変換器。
【請求項3】
前記導電部は、前記回路基板の前記第1主面及び前記第2主面の少なくとも一方における前記締結用貫通孔の周囲に形成されている、請求項2に記載の電力変換器。
【請求項4】
前記被膜部は、前記回路基板の端面に形成されている、請求項1に記載の電力変換器。
【請求項5】
前記回路基板は、前記板厚方向に貫通した接続用貫通孔を有し、
前記被膜部は、前記接続用貫通孔の内面に形成されている、請求項1に記載の電力変換器。
【請求項6】
前記接続用貫通孔は、前記外周部に形成されている、請求項5に記載の電力変換器。
発明の詳細な説明
【技術分野】
【0001】
本発明は、電力変換器に関する。
続きを表示(約 1,900 文字)
【背景技術】
【0002】
従来の電力変換器としては、例えば、特許文献1に記載されている電力変換装置が知られている。特許文献1に記載の電力変換装置は、プリント基板と、プリント基板を収容するための容器と、容器の開口部を塞ぐための蓋と、を有している。
【先行技術文献】
【特許文献】
【0003】
特開2014-161136号公報
【発明の概要】
【発明が解決しようとする課題】
【0004】
上記のような電力変換装置では、プリント基板等の基板が金属製の容器及び蓋で覆われることで、基板に影響を与える電磁ノイズを抑制している。しかしながら、この場合、容器の内側面と基板の端面との間には隙間(部品隙間)を設ける必要があり、装置の更なる小型化が困難であった。
【0005】
本発明の目的は、電磁ノイズを抑制しつつ、小型化することができる電力変換器を提供することである。
【課題を解決するための手段】
【0006】
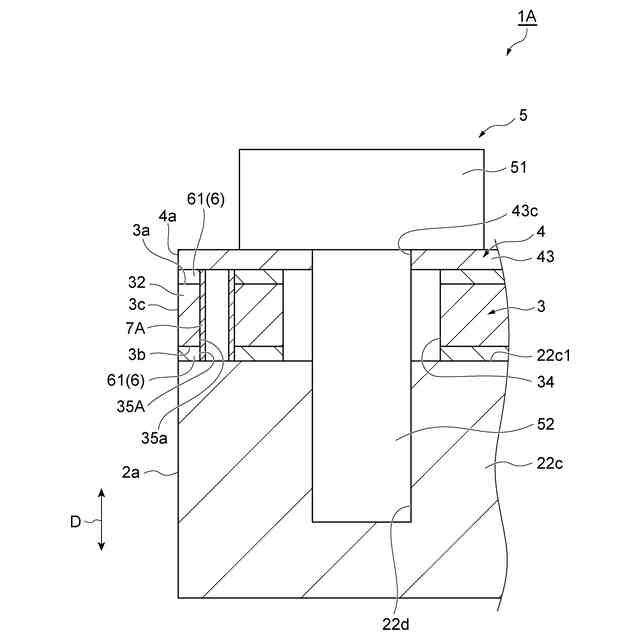
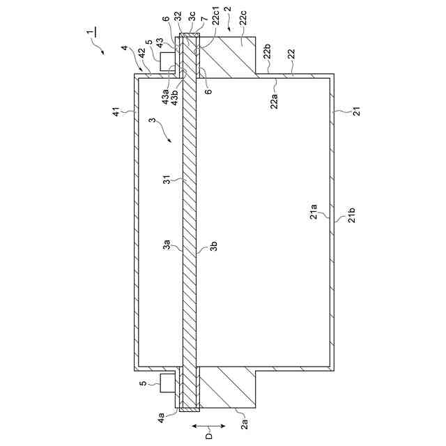
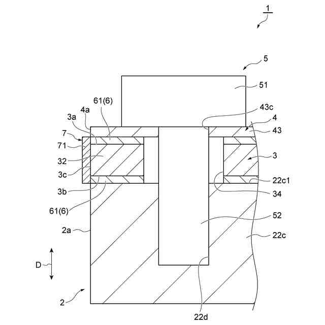
(1)本発明の一態様は、底壁と、底壁に立設された側壁と、を含む金属製の筐体と、側壁を挟んで側壁の立設方向において底壁と対向するように配置された回路基板と、回路基板を挟んで立設方向において底壁と対向するように配置され、筐体に対して回路基板を覆う金属製のカバーと、を備え、回路基板の外周部は、立設方向に相当する回路基板の板厚方向から見た場合において、側壁と重なっており、回路基板におけるカバー側の第1主面及び筐体側の第2主面の少なくとも一方には、カバー及び筐体の少なくとも一方と電気的に接続された導電部が形成され、導電部には、回路基板の外周部及び当該外周部より外側の部分の少なくとも一方において板厚方向に沿って第1主面から第2主面まで形成された導電性の被膜部が電気的に接続されている。
【0007】
このような電力変換器では、筐体の側壁の立設方向に相当する回路基板の板厚方向から見た場合において、回路基板の外周部が筐体の側壁と重なっている。これにより、筐体の側壁が回路基板を囲んでいる場合に比べて、筐体の内側面と回路基板の端面との間の部品隙間を無くすことができ、電力変換器を回路基板の板厚方向に垂直な方向に小型化することができる。さらに、回路基板におけるカバー側の第1主面及び筐体側の第2主面の少なくとも一方には、カバー及び筐体の少なくとも一方と電気的に接続された導電部が形成されている。そして、導電部には、回路基板の外周部及び当該外周部より外側の部分の少なくとも一方において回路基板の板厚方向に沿って回路基板の第1主面から第2主面まで形成された導電性の被膜部が電気的に接続されている。これにより、被膜部の電位がグランド電位である筐体及びカバーと同電位になるため、回路基板に影響を与える電磁ノイズを抑制することができる。したがって、本発明の電力変換器は、電磁ノイズを抑制しつつ、小型化することができる。
【0008】
(2)上記の(1)において、回路基板は、板厚方向に貫通した複数の締結用貫通孔を有し、締結用貫通孔に差し込まれた複数の締結具によって、カバーと共に側壁に締結されていてもよい。このような構成では、カバーと側壁を締結するための締結具と、回路基板と筐体を締結するための締結具として共通の締結具を使用することができるので、締結具の本数を削減し、コストを削減することが可能となる。
【0009】
(3)上記の(2)において、導電部は、回路基板の第1主面及び第2主面の少なくとも一方における締結用貫通孔の周囲に形成されていてもよい。このような構成では、回路基板における締結用貫通孔の周囲に形成された導電部が、締結具によって筐体及びカバーの少なくとも一方に押し付けられる。これにより、導電部と筐体及びカバーの少なくとも一方との接触を確実にすることができる。この結果、導電部と接続された被膜部と、筐体及びカバーとの電気的接続を強固にすることができるため、被膜部の電位を確実に筐体及びカバーと同電位(グランド電位)にすることができる。
【0010】
(4)上記の(1)~(3)の何れかにおいて、被膜部は、回路基板の端面に形成されていてもよい。このような構成では、回路基板の端面に形成された被膜部によって電磁ノイズを効果的に抑制することができる。また、回路基板の端面に被膜部を形成することにより、簡単な加工処理によって被膜部を導電部と電気的に接続することができる。
(【0011】以降は省略されています)
この特許をJ-PlatPat(特許庁公式サイト)で参照する
関連特許
株式会社豊田自動織機
荷役装置
17日前
株式会社豊田自動織機
操作装置
25日前
株式会社豊田自動織機
トランス
25日前
株式会社豊田自動織機
産業車両
12日前
株式会社豊田自動織機
電力変換器
1か月前
株式会社豊田自動織機
双方向充電器
1か月前
株式会社豊田自動織機
排気浄化装置
26日前
株式会社豊田自動織機
車両制御装置
23日前
株式会社豊田自動織機
双方向充電器
11日前
株式会社豊田自動織機
燃料電池ユニット
23日前
株式会社豊田自動織機
ターボチャージャ
4日前
株式会社豊田自動織機
ターボチャージャ
17日前
株式会社豊田自動織機
電力供給システム
9日前
株式会社豊田自動織機
電磁ブレーキ装置
1か月前
株式会社豊田自動織機
織機用異常検知装置
17日前
株式会社豊田自動織機
内燃機関の制御装置
10日前
株式会社豊田自動織機
スクロール型圧縮機
1か月前
株式会社豊田自動織機
ねじりコイルばね装置
1か月前
株式会社豊田自動織機
繊維機械の検査システム
17日前
株式会社豊田自動織機
車両のルーフサイド構造
26日前
株式会社豊田自動織機
内燃機関の制御システム
1か月前
トヨタ自動車株式会社
蓄電池
10日前
株式会社豊田自動織機
繊維構造体、及び繊維強化複合材
17日前
株式会社豊田自動織機
内燃機関の吸気温度制御システム
17日前
株式会社豊田自動織機
燃料電池システム及びフォークリフト
1か月前
トヨタ自動車株式会社
蓄電モジュール
10日前
トヨタ自動車株式会社
蓄電装置の製造方法
20日前
トヨタ自動車株式会社
バイポーラ型蓄電装置
23日前
トヨタ自動車株式会社
二次電池及び二次電池の制御方法
19日前
株式会社豊田自動織機
産業車両のヘッドガード、産業車両及び産業車両の屋根部材
4日前
株式会社アルテックス
ダイカスト装置及び鋳造品の製造方法
10日前
株式会社豊田自動織機
車両用の充電システム、充電回路、充電装置、および電圧の制御方法
26日前
個人
単極モータ
1か月前
個人
電気を重力で発電装置
10日前
キヤノン電子株式会社
モータ
17日前
キヤノン電子株式会社
モータ
9日前
続きを見る
他の特許を見る