TOP
|
特許
|
意匠
|
商標
特許ウォッチ
Twitter
他の特許を見る
公開番号
2025148023
公報種別
公開特許公報(A)
公開日
2025-10-07
出願番号
2024048591
出願日
2024-03-25
発明の名称
電力変換器
出願人
株式会社豊田自動織機
代理人
個人
,
個人
,
個人
,
個人
主分類
H02M
7/48 20070101AFI20250930BHJP(電力の発電,変換,配電)
要約
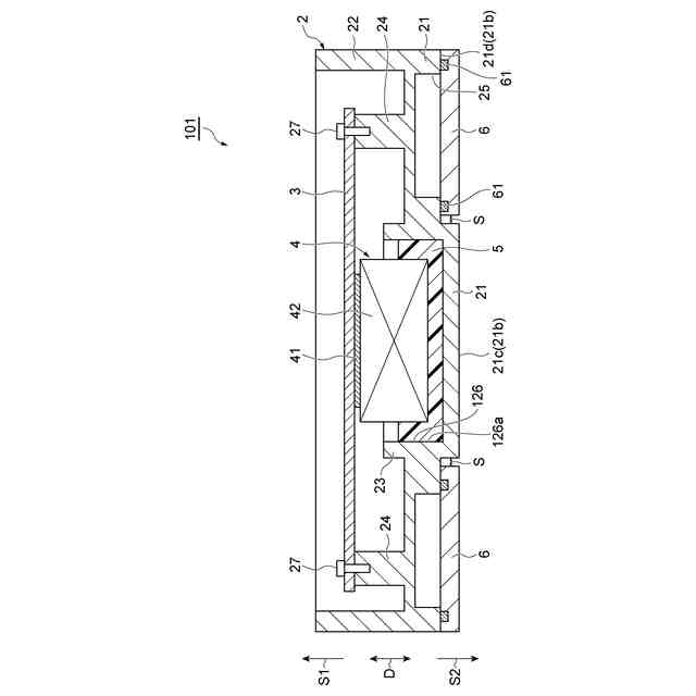
【課題】部品の加工を容易にしつつ、小型化することができる電力変換器を提供する。
【解決手段】電力変換器1は、発熱部品4と、発熱部品4と接触し、発熱部品4からの熱を放散する放熱材5と、発熱部品4及び放熱材5を収容し、底壁21を有する筐体2と、底壁21の底面21bと対向するように配置された水路プレート6と、を備え、底壁21には、底面21bに開口し、発熱部品4を冷却する冷媒が流れる水路用溝25と、底壁21と水路プレート6との対向方向Dに沿って底壁21を貫通する貫通孔26とが形成されており、放熱材5は、水路プレート6と接触するように貫通孔26に配置されており、水路プレート6は、水路用溝25及び貫通孔26を塞ぐように底面21bと接触している。
【選択図】図1
特許請求の範囲
【請求項1】
発熱部品と、
前記発熱部品と接触し、前記発熱部品からの熱を放散する放熱材と、
前記発熱部品及び放熱材を収容し、底壁を有する筐体と、
前記底壁の底面と対向するように配置された水路プレートと、を備え、
前記底壁には、前記底面に開口し、前記発熱部品を冷却する冷媒が流れる水路用溝と、前記底壁と前記水路プレートとの対向方向に沿って前記底壁を貫通する貫通孔とが形成されており、
前記放熱材は、前記水路プレートと接触するように前記貫通孔に配置されており、
前記水路プレートは、前記水路用溝及び前記貫通孔を塞ぐように前記底面と接触している、
電力変換器。
続きを表示(約 230 文字)
【請求項2】
前記水路用溝の少なくとも一部は、前記対向方向から見た場合に前記貫通孔を囲んでいる、請求項1に記載の電力変換器。
【請求項3】
前記水路プレートにおける前記底面と対向する対向面には、前記水路用溝の両側に沿って封止材が形成されている、請求項1に記載の電力変換器。
【請求項4】
前記筐体に収容された回路基板を更に備え、
前記発熱部品は、前記回路基板に実装されている、請求項1に記載の電力変換器。
発明の詳細な説明
【技術分野】
【0001】
本発明は、電力変換器に関する。
続きを表示(約 1,400 文字)
【背景技術】
【0002】
従来の電力変換器としては、例えば、特許文献1に記載されている電力変換装置が知られている。特許文献1に記載の電力変換装置は、トランスと、トランスが収容された凹部を有する筐体本体と、筐体本体の底面に対向するように取り付けられた溝カバーと、を備えている。筐体本体には、底面に開口し、溝カバーに覆われた冷媒流路溝が形成されている。
【先行技術文献】
【特許文献】
【0003】
国際公開第2018-055668号
【発明の概要】
【発明が解決しようとする課題】
【0004】
上記のような電力変換器では、電力変換器の高さを低くするために、トランス等の発熱部品が収容された凹部の底面を、溝カバーにおける筐体本体とは反対側の面まで突出させる場合がある。この場合、冷媒流路溝の加工の際に、突出させた凹部の底面を考慮して加工しなければならないため、冷媒流路溝の加工が複雑になる。一方、筐体本体の底面を面一とする場合、冷媒流路溝の加工は容易になるものの、電力変換器の高さが溝カバーの厚さ分、高くなってしまうという課題があった。
【0005】
本発明の目的は、部品の加工を容易にしつつ、小型化することができる電力変換器を提供することである。
【課題を解決するための手段】
【0006】
(1)本発明の一態様に係る電力変換器は、発熱部品と、発熱部品と接触し、発熱部品からの熱を放散する放熱材と、発熱部品及び放熱材を収容し、底壁を有する筐体と、底壁の底面と対向するように配置された水路プレートと、を備え、底壁には、底面に開口し、発熱部品を冷却する冷媒が流れる水路用溝と、底壁と水路プレートとの対向方向に沿って底壁を貫通する貫通孔とが形成されており、放熱材は、水路プレートと接触するように貫通孔に配置されており、水路プレートは、水路用溝及び貫通孔を塞ぐように底面と接触している。
【0007】
このような電力変換器では、放熱材が筐体の底壁の貫通孔に水路プレートと接触するように配置されており、水路プレートが底壁の貫通孔及び水路用溝を塞ぐように底壁の底面と接触している。これにより、放熱材と水路プレートとの間に底壁が配置される場合に比べて、底壁の厚さ分、電力変換器の高さを低くすることができる。よって、部品の加工を容易にしつつ、電力変換器を小型化することができる。
【0008】
(2)上記の(1)において、水路用溝の少なくとも一部は、対向方向から見た場合に貫通孔を囲んでいる。このような構成では、水路用溝の少なくとも一部が貫通孔を囲んでいることにより、貫通孔に配置された放熱材と水路用溝を流れる冷媒との熱交換が効果的に行われる。
【0009】
(3)上記の(1)又は(2)において、水路プレートにおける底面と対向する対向面には、水路用溝の両側に沿って封止材が形成されている。このような構成では、冷媒が水路用溝から漏れ出すことを抑制できる。
【0010】
(4)上記の(1)~(3)の何れかにおいて、電力変換器は、筐体に収容された回路基板を更に備え、発熱部品は、回路基板に実装されている。このような構成では、回路基板に発熱部品が実装される場合でも、電力変換器を小型化することができる。
【発明の効果】
(【0011】以降は省略されています)
特許ウォッチbot のツイートを見る
この特許をJ-PlatPat(特許庁公式サイト)で参照する
関連特許
株式会社豊田自動織機
産業車両
2日前
株式会社豊田自動織機
電力変換器
2日前
株式会社豊田自動織機
回転圧縮機
5日前
株式会社豊田自動織機
回転圧縮機
5日前
株式会社豊田自動織機
電力変換器
5日前
株式会社豊田自動織機
荷役制御装置
9日前
株式会社豊田自動織機
電力変換装置
2日前
株式会社豊田自動織機
電磁ブレーキ装置
2日前
株式会社豊田自動織機
エンジン式産業車両
3日前
株式会社豊田自動織機
スクロール型圧縮機
2日前
株式会社豊田自動織機
スクロール型圧縮機
4日前
株式会社豊田自動織機
スクロール型圧縮機
3日前
株式会社豊田自動織機
スクロール型圧縮機
4日前
株式会社豊田自動織機
車両のリアシート構造
4日前
株式会社豊田自動織機
インバータ一体型電動機
2日前
株式会社豊田自動織機
スクロール型電動圧縮機
2日前
トヨタ自動車株式会社
電池
5日前
株式会社豊田自動織機
両回転式スクロール型圧縮機
4日前
株式会社豊田自動織機
両回転式スクロール型圧縮機
4日前
株式会社豊田自動織機
両回転式スクロール型圧縮機
4日前
株式会社豊田自動織機
両回転式スクロール型圧縮機
4日前
株式会社豊田自動織機
両回転式スクロール型圧縮機
4日前
株式会社豊田自動織機
両回転式スクロール型圧縮機
4日前
株式会社豊田自動織機
ローリングピストン型圧縮機
3日前
株式会社豊田自動織機
両回転式スクロール型圧縮機
4日前
トヨタ自動車株式会社
塗工装置
3日前
トヨタ自動車株式会社
二次電池
3日前
株式会社豊田自動織機
ローリングピストン型電動圧縮機
3日前
株式会社豊田自動織機
ローリングピストン型電動圧縮機
3日前
株式会社豊田自動織機
ローリングピストン型電動圧縮機
3日前
株式会社豊田自動織機
ローリングピストン型電動圧縮機
3日前
株式会社豊田自動織機
ローリングピストン型電動圧縮機
3日前
株式会社豊田自動織機
産業車両及び産業車両の冷却装置
3日前
株式会社豊田自動織機
ACインバータ及び絶縁抵抗低下検知方法
3日前
トヨタ自動車株式会社
バイポーラ型電池
5日前
トヨタ自動車株式会社
負極及びリチウムイオン二次電池
4日前
続きを見る
他の特許を見る