TOP
|
特許
|
意匠
|
商標
特許ウォッチ
Twitter
他の特許を見る
10個以上の画像は省略されています。
公開番号
2025151403
公報種別
公開特許公報(A)
公開日
2025-10-09
出願番号
2024052806
出願日
2024-03-28
発明の名称
空気調和装置
出願人
パナソニックIPマネジメント株式会社
代理人
個人
,
個人
主分類
F24F
6/00 20060101AFI20251002BHJP(加熱;レンジ;換気)
要約
【課題】空気調和装置に使用される水位検知技術において、貯水容器内の凹凸を減らし、お手入れ性向上を目的とする。
【解決手段】本体ケース2内の隔離壁39に覆われた空洞部10に設けられ水を貯水する貯水容器19と、隔離壁39に設けられ静電容量を検知する静電センサー40と、静電センサー40が検知した静電容量を記憶する制御部5と、を有し、静電センサー40は、隔離壁39に貯水容器19の側面を介して貯水容器19内の水に対向するように設けられ、貯水容器19は、第1水位41aにおける静電センサー40と貯水容器19内の水までの距離と、第1水位41aより高い第2水位41bにおける静電センサー40と貯水容器19内の水までの距離が変化する距離変更部42を有し、制御部5は、静電センサー40が検知した静電容量の変化に基づいて貯水容器19内の水位を第1水位41aと判断する空気調和装置。
【選択図】 図13
特許請求の範囲
【請求項1】
吸気口と吹出口とを有する本体ケースと、
前記本体ケース内の隔離壁に一部が囲まれた空洞部に設けられ水を貯水する貯水容器と、前記貯水容器内の水に下端が浸漬するように配置されたフィルタと、
前記吸気口から吸い込んだ空気を、前記フィルタを介して、前記吹出口へ送風する送風機と、
前記隔離壁に設けられ静電容量を検知する静電センサーと、
前記静電センサーが検知した前記静電容量を記憶する制御部と、を有し、
前記静電センサーは、前記隔離壁に前記貯水容器の側面を介して前記貯水容器内の水に対向するように設けられ、
前記貯水容器は、第1水位における前記静電センサーと前記貯水容器内の水までの距離と、前記第1水位より高い第2水位における前記静電センサーと前記貯水容器内の水までの距離が変化する距離変更部を有し、
前記制御部は、前記静電センサーが検知した前記静電容量の変化に基づいて前記貯水容器内の水位を前記第1水位と判断する空気調和装置。
続きを表示(約 470 文字)
【請求項2】
前記距離変更部は、前記静電センサーが対向する前記貯水容器の側面である対向側面が、前記貯水容器の内方へ凹んだ凹部分である請求項1に記載の空気調和装置。
【請求項3】
前記凹部分の上面には平らな平坦部を有する請求項2に記載の空気調和装置。
【請求項4】
前記凹部分は、前記第1水位における前記静電センサーと前記フィルタとの間に設けられ、前記貯水容器の前記対向側面から前記フィルタ側の前記平坦部の周縁との距離は、前記フィルタ側の前記平坦部の周縁から前記フィルタまでの距離より長い請求項3に記載の空気調和装置。
【請求項5】
前記平坦部は、前記貯水容器の前記対向側面から前記貯水容器の内方へ向かって下方へ傾斜する請求項3または4に記載の空気調和装置。
【請求項6】
前記静電センサーは、水面に対して垂直となる前記隔離壁において、前記貯水容器の側面および前記隔離壁を介して前記貯水容器内の水に対向するように設けられる請求項3または4に記載の空気調和装置。
発明の詳細な説明
【技術分野】
【0001】
本開示は、貯水容器の水を浸漬したフィルタへの送風により、保水した水分を気化して加湿する空気調和装置に関する。
続きを表示(約 1,700 文字)
【背景技術】
【0002】
従来の空気調和装置は、水を貯水する貯水容器と、貯水容器内の水を保水するフィルタと、浮力を有するフロート部分と、フロート部分の位置を検知する検知部分と、検知部分からの検知信号によって、給水部を制御する制御部とを、備えていた(例えば、特許文献1を参照)。
【先行技術文献】
【特許文献】
【0003】
特開2020―120790号公報
【発明の概要】
【発明が解決しようとする課題】
【0004】
このような従来の空気調和装置の水位検知技術においては、浮力を有するフロート部分と、フロート部分の位置を検知する検知部分と、検知部分から検知信号によって給水部を制御する制御部との構成となっていた。貯水容器内にフロート部分を回動自在に備えなくてはならないことにより、貯水容器内の凹凸が多く、お手入れ性が悪化するという課題を有していた。
【0005】
そこで本発明は、上記従来の課題を解決するものであり、貯水容器内の凹凸を減らし、お手入れ性を向上した空気調和装置を提供することを目的とする。
【課題を解決するための手段】
【0006】
そして、この目的を達成するために、本発明に係る空気調和装置は、
吸気口と吹出口とを有する本体ケースと、
前記本体ケース内の隔離壁に一部が囲まれた空洞部に設けられ水を貯水する貯水容器と、前記貯水容器内の水に下端が浸漬するように配置されたフィルタと、
前記吸気口から吸い込んだ空気を、前記フィルタを介して、前記吹出口へ送風する送風機と、
前記隔離壁に設けられ静電容量を検知する静電センサーと、
前記静電センサーが検知した前記静電容量を記憶する制御部と、を有し、
前記静電センサーは、前記隔離壁に前記貯水容器の側面を介して前記貯水容器内の水に対向するように設けられ、
前記貯水容器は、第1水位における前記静電センサーと前記貯水容器内の水までの距離と、前記第1水位より高い第2水位における前記静電センサーと前記貯水容器内の水までの距離が変化する距離変更部を有し、
前記制御部は、前記静電センサーが検知した前記静電容量の変化に基づいて前記貯水容器内の水位を前記第1水位と判断するものであり、これにより所期の目的を達成するものである。
【発明の効果】
【0007】
本発明によれば、凹凸の少ない貯水容器で水位を検知することが可能となり、お手入れ性の向上という効果を得ることができる。
【図面の簡単な説明】
【0008】
本発明の実施の形態1の空気調和装置の斜視図
同空気調和装置のパネルを開いた状態の斜視図
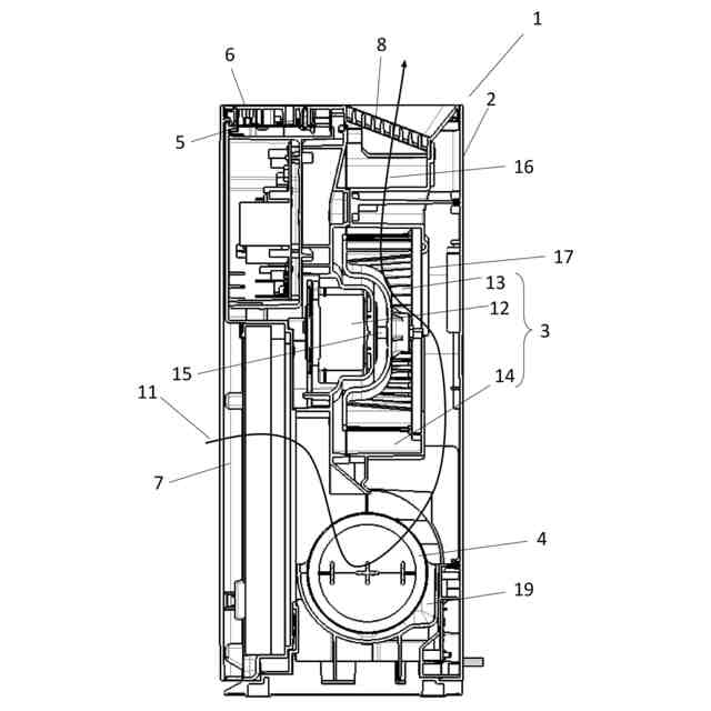
同空気調和装置の前面に向かって右側から見た断面構成を示す図
同空気調和装置の一部分解斜視図
同空気調和装置の一部分解斜視図
同空気調和装置のタンク部材の分解斜視図
同空気調和装置のタンク部材の断面構成を示す図
同空気調和装置の貯水容器の断面構成を示す図
同空気調和装置の貯水容器の断面構成を示す図
同空気調和装置の貯水容器の斜視図
同空気調和装置の一部分解斜視図
同空気調和装置の貯水容器の斜視図
同空気調和装置の貯水容器の断面構成を示す図
同空気調和装置の構成を示すブロック図
【発明を実施するための形態】
【0009】
(実施の形態1)
本開示の第1の実施の形態について図面を参照して説明する。
【0010】
図1、および図2は、本開示の第1の実施の形態の空気調和装置1の斜視図である。なお、図1は、空気調和装置を前面側の斜め上方から見た図である。図2は、パネルを開いた空気調和装置1を前面側の斜め上方から見た図である。また、図3は、空気調和装置1を前面に向かって右側から見た断面構成を示す図である。
(【0011】以降は省略されています)
この特許をJ-PlatPat(特許庁公式サイト)で参照する
関連特許
個人
空気調和機
4か月前
個人
エアコン室内機
4か月前
株式会社コロナ
空調装置
2か月前
株式会社コロナ
空調装置
16日前
株式会社コロナ
空調装置
3か月前
株式会社コロナ
空調装置
1か月前
株式会社コロナ
加湿装置
26日前
株式会社コロナ
加湿装置
4か月前
株式会社コロナ
給湯装置
2か月前
株式会社コロナ
空調装置
6日前
株式会社コロナ
空気調和機
2か月前
個人
住宅換気空調システム
1か月前
個人
太陽光パネル傾斜装置
1日前
株式会社コロナ
風呂給湯機
1か月前
株式会社コロナ
空気調和機
1か月前
株式会社コロナ
暖房システム
16日前
株式会社コロナ
貯湯式給湯機
20日前
ホーコス株式会社
排気フード
2か月前
株式会社コロナ
貯湯式給湯機
12日前
株式会社パロマ
給湯器
3か月前
株式会社コロナ
直圧式給湯機
1か月前
株式会社コロナ
貯湯式給湯機
4か月前
株式会社コロナ
直圧式給湯機
3か月前
三菱電機株式会社
換気扇
今日
ホーコス株式会社
換気扇取付枠
1か月前
三菱電機株式会社
換気扇
今日
株式会社コロナ
貯湯式給湯装置
3か月前
株式会社コロナ
貯湯式給湯装置
4か月前
株式会社コロナ
輻射式冷房装置
1か月前
株式会社コロナ
貯湯式給湯装置
4か月前
三菱電機株式会社
換気扇
今日
株式会社ツインバード
加熱調理器
26日前
株式会社パロマ
給湯暖房機
3か月前
株式会社ノーリツ
温水装置
3か月前
株式会社ノーリツ
給湯装置
3か月前
株式会社ノーリツ
温水装置
3か月前
続きを見る
他の特許を見る