TOP
|
特許
|
意匠
|
商標
特許ウォッチ
Twitter
他の特許を見る
10個以上の画像は省略されています。
公開番号
2025150842
公報種別
公開特許公報(A)
公開日
2025-10-09
出願番号
2024051974
出願日
2024-03-27
発明の名称
画像表示方法
出願人
株式会社JVCケンウッド
代理人
個人
主分類
G06F
3/04886 20220101AFI20251002BHJP(計算;計数)
要約
【課題】表示部の表面側の一部領域に形成される操作部(物理ボタン)との関係で画像を表示することができる画像表示方法を提供する。
【解決手段】少なくとも1つの操作画像を含む画像が表示される表示画面を含むディスプレイ及び前記操作画像に対するユーザの接触操作を検出するタッチパネルを備えた表示部と、前記表示部の表面側の一部領域にユーザが接触操作する操作部を形成する制御部と、を備える情報処理装置が、利用可能な操作部に関する利用可能操作部情報と前記操作部に関するハードウェアプロファイル情報とに基づいて、前記操作部を利用可能か否かを判定する判定ステップと、操作部制御ステップと、を備え、前記操作部制御ステップは、前記操作部を利用可能と判定された場合、前記一部領域に前記操作部が形成されるように前記一部領域を変形させる。
【選択図】図1
特許請求の範囲
【請求項1】
少なくとも1つの操作画像を含む画像が表示される表示画面を含むディスプレイ及び前記操作画像に対するユーザの接触操作を検出するタッチパネルを備えた表示部と、前記表示部の表面側の一部領域にユーザが接触操作する操作部を形成する制御部と、を備える情報処理装置が、
利用可能な操作部に関する利用可能操作部情報と前記操作部に関するハードウェアプロファイル情報とに基づいて、前記操作部を利用可能か否かを判定する判定ステップと、
前記一部領域に前記操作部が形成されるように又は前記操作部が形成された前記一部領域が前記操作部形成前の元の状態に戻るように前記一部領域を変形させる操作部制御ステップと、
前記操作画像が前記操作部に一致するように位置合わせされた状態で前記表示画面に前記画像を表示する画像表示ステップと、
前記操作部に対する前記ユーザの接触操作を検出する接触操作検出ステップと、を備え、
前記操作部制御ステップは、前記操作部を利用可能と判定された場合、前記一部領域に前記操作部が形成されるように前記一部領域を変形させる画像表示方法。
続きを表示(約 140 文字)
【請求項2】
前記利用可能操作部情報は、利用可能な操作部の配置、動作、属性に関する情報を含む請求項1に記載の画像表示方法。
【請求項3】
前記属性は、利用可能な操作部の種類を表す情報、利用可能な操作部の感圧検知の有無を表す情報を含む請求項2に記載の画像表示方法。
発明の詳細な説明
【技術分野】
【0001】
本開示は、画像表示方法に関する。
続きを表示(約 1,900 文字)
【背景技術】
【0002】
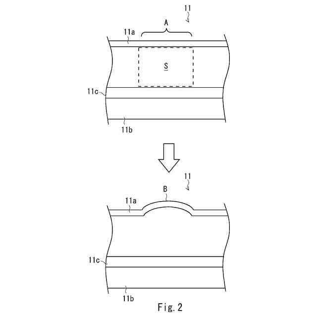
制御部からの制御に従いディスプレイ及びタッチパネルを含む表示部の表面側の一部領域にユーザが接触操作する操作部(物理ボタン)を形成する(又は物理ボタンが形成された一部領域を操作部形成前の元の状態に戻す)方法が知られている(例えば、特許文献1、非特許文献1参照)。
【先行技術文献】
【特許文献】
【0003】
特表2011-508935号公報
https://drive.google.com/file/d/1--KfMTvkerE1dZxiXC6Uf-zRVMtbA6YY/view
【発明の概要】
【発明が解決しようとする課題】
【0004】
しかしながら、特許文献1及び非特許文献1においては、表示部の表面側の一部領域に形成される操作部(物理ボタン)との関係で画像を表示することについて全く考慮されておらず、この点で改良の余地がある。
【0005】
本開示は、このような課題を解決するためになされたものであり、表示部の表面側の一部領域に形成される操作部(物理ボタン)との関係で画像を表示することができる画像表示方法を提供するものである。
【課題を解決するための手段】
【0006】
本開示にかかる画像表示方法は、少なくとも1つの操作画像を含む画像が表示される表示画面を含むディスプレイ及び前記操作画像に対するユーザの接触操作を検出するタッチパネルを備えた表示部と、前記表示部の表面側の一部領域にユーザが接触操作する操作部を形成する制御部と、を備える情報処理装置が、利用可能な操作部に関する利用可能操作部情報と前記操作部に関するハードウェアプロファイル情報とに基づいて、前記操作部を利用可能か否かを判定する判定ステップと、前記一部領域に前記操作部が形成されるように又は前記操作部が形成された前記一部領域が前記操作部形成前の元の状態に戻るように前記一部領域を変形させる操作部制御ステップと、前記操作画像が前記操作部に一致するように位置合わせされた状態で前記表示画面に前記画像を表示する画像表示ステップと、前記操作部に対する前記ユーザの接触操作を検出する接触操作検出ステップと、を備え、前記操作部制御ステップは、前記操作部を利用可能と判定された場合、前記一部領域に前記操作部が形成されるように前記一部領域を変形させる。
【発明の効果】
【0007】
本開示によれば、表示部の表面側の一部領域に形成される操作部(物理ボタン)との関係で画像を表示することができる画像表示方法を提供することができる。
【図面の簡単な説明】
【0008】
実施形態1である画像表示方法を実施する情報処理装置1の概略構成図である。
表示部11の一例(断面図)である。
記憶部12に記憶されたプログラム等の一例である。
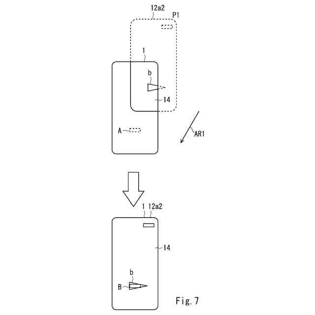
ボタン画像指定情報12a3により指定されるボタン画像bが物理ボタンBに一致するように位置合わせされた状態でディスプレイ11b(表示画面)に操作面画像12a2を表示する様子を表す図である。
情報処理装置1の動作例1(画像表示方法)のフローチャートである。
情報処理装置1の動作例2(画像表示方法)のフローチャートである。
ボタン画像指定情報12a3により指定されるボタン画像bが物理ボタンBに一致するように位置合わせされた状態でディスプレイ11b(表示画面)に操作面画像12a2を表示する様子を表す図である。
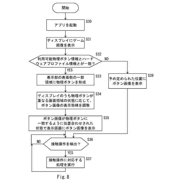
情報処理装置1の動作例3(画像表示方法)のフローチャートである。
(a)動作例3で用いられる、表示部11の表面側の一部領域Aに形成される物理ボタンBの一例、(b)ディスプレイ11b(表示画面)の「一部領域」に表示されるゲーム画像HT1の一例、(c)ディスプレイ11b(表示画面)の「全領域」に表示されるゲーム画像HT2の一例である。
【発明を実施するための形態】
【0009】
(実施形態1)
以下、実施形態1である画像表示方法を実施する情報処理装置1について添付図面を参照しながら説明する。各図において対応する構成要素には同一の符号が付され、重複する説明は省略される。
【0010】
図1は、実施形態1である画像表示方法を実施する情報処理装置1の概略構成図である。
(【0011】以降は省略されています)
この特許をJ-PlatPat(特許庁公式サイト)で参照する
関連特許
個人
QRコードの彩色
今日
個人
地球保全システム
9日前
個人
表変換編集支援システム
29日前
個人
残土処理システム
2日前
個人
知的財産出願支援システム
3日前
個人
パスワード管理支援システム
29日前
個人
海外支援型農作物活用システム
21日前
株式会社キーエンス
受発注システム
8日前
個人
システム及びプログラム
22日前
株式会社キーエンス
受発注システム
8日前
個人
AIキャラクター制御システム
29日前
個人
食品レシピ生成システム
8日前
株式会社キーエンス
受発注システム
8日前
個人
帳票自動生成型SaaSシステム
3日前
個人
音声・通知・再配達UX制御構造
3日前
大同特殊鋼株式会社
疵判定方法
15日前
キヤノン株式会社
表示システム
8日前
個人
社会還元・施設向け供給支援構造
29日前
個人
音声対話型帳票生成支援システム
29日前
個人
人格進化型対話応答制御システム
29日前
個人
未来型家系図構築システム
21日前
個人
SaaS型勤務調整支援システム
29日前
株式会社キーエンス
製品受発注システム
8日前
フリー株式会社
情報処理システム
15日前
個人
マーケティング活動支援装置
7日前
大同特殊鋼株式会社
棒材計数方法
1日前
中部電力株式会社
学習装置
21日前
株式会社竹中工務店
管理システム
21日前
株式会社カネカ
製造工場の管理システム
3日前
TOTO株式会社
姿勢評価システム
1日前
株式会社梓総合研究所
冷却システム
7日前
マクセル株式会社
非接触ICカード
22日前
マクセル株式会社
非接触ICカード
22日前
ブラザー工業株式会社
サポートプログラム
14日前
TOTO株式会社
衛生評価システム
1日前
個人
本人認証連動型帳票出力支援システム
11日前
続きを見る
他の特許を見る