TOP
|
特許
|
意匠
|
商標
特許ウォッチ
Twitter
他の特許を見る
10個以上の画像は省略されています。
公開番号
2025149866
公報種別
公開特許公報(A)
公開日
2025-10-08
出願番号
2024223878
出願日
2024-12-19
発明の名称
センサユニット
出願人
キヤノン株式会社
代理人
個人
,
個人
,
個人
,
個人
,
個人
主分類
H10F
55/00 20250101AFI20251001BHJP()
要約
【課題】迷光による誤検知を抑制するセンサユニットを提供する。
【解決手段】フラグ101は、遮光部の面に垂直かつ互いが垂直な2方向を覆う壁部を有し、遮光時に壁部は、基板に垂直な方向と、基板に平行かつスリットによって基板が切り欠かれている方向と、に関して発光素子102または受光素子103を覆うことを特徴とする。
【選択図】図1
特許請求の範囲
【請求項1】
発光素子と受光素子が設置された基板であって、発光素子と受光素子の間に基板の1辺から基板の内側へ切り欠かれたスリットを有する基板と、
前記スリットを通過して前記発光素子から前記受光素子へ向かう光を遮光する遮光部を有するフラグと、
を備え、
前記フラグの前記遮光部が前記発光素子から前記受光素子に向かう光を遮る遮光時に前記フラグの検出を行うセンサユニットであって、
前記フラグは、前記遮光部の面に垂直かつ互いが垂直な2方向を覆う壁部を有し、
前記遮光時に前記壁部は、前記基板に垂直な方向と、前記基板に平行かつ前記スリットによって基板が切り欠かれている方向と、に関して前記発光素子または前記受光素子を覆うことを特徴とするセンサユニット。
続きを表示(約 760 文字)
【請求項2】
発光素子と受光素子が設置面に設置された基板であって、発光素子と受光素子の間に基板の1辺から基板の内側へ切り欠かれたスリットを有する基板と、
前記スリットを通過して前記発光素子から前記受光素子へ向かう光を遮光する遮光部を有するフラグと、
を備え、
前記フラグの前記遮光部が前記発光素子から前記受光素子に向かう光を遮る遮光時に前記フラグの検出を行うセンサユニットであって、
前記基板の前記設置面側に前記設置面と平行な方向に延びる壁が配置されており、
前記フラグは、前記遮光部の面に垂直な方向を覆う壁部を有し、
前記遮光時に、前記発光素子から前記受光素子へ向かう方向に見て前記フラグと前記壁の隙間がなくなるように前記フラグが移動し、
前記遮光時に前記壁は、前記基板の前記設置面と垂直な方向であって前記設置面から見て前記発光素子および前記受光素子が設置されている方向に関して前記発光素子または前記受光素子を覆い、
前記遮光時に前記壁部は、前記基板に平行かつ前記スリットによって基板が切り欠かれている方向に関して前記発光素子または前記受光素子を覆うことを特徴とするセンサユニット。
【請求項3】
前記遮光時に、前記フラグと前記壁は接触することを特徴とする請求項2に記載のセンサユニット。
【請求項4】
前記壁は、前記基板の前記設置面側に前記設置面と垂直な方向に延びる突出部を有することを特徴とする請求項2に記載のセンサユニット。
【請求項5】
前記遮光時に、前記フラグと前記壁は、前記発光素子から前記受光素子へ向かう方向に見て重なっていることを特徴とする請求項2に記載のセンサユニット。
発明の詳細な説明
【技術分野】
【0001】
本発明は、発光素子と受光素子を用いてフラグの検出を行うセンサユニットに関するものである。
続きを表示(約 1,500 文字)
【背景技術】
【0002】
LEDなどの発光素子とフォトトランジスタなどの受光素子を備え、発光素子と受光素子の間をフラグが通過する時にフラグが光を遮ることを利用し、フラグの検出を行うセンサユニットとしてのフォトインタラプタが知られている。
【0003】
特許文献1には、フォトインタラプタを画像形成装置内に組み込んでシートの通過によって可動する遮光フラグを発光部と受光部の間に通すことでシートの通過を検知する装置が開示されている。
【先行技術文献】
【特許文献】
【0004】
特開2015-124066
【発明の概要】
【発明が解決しようとする課題】
【0005】
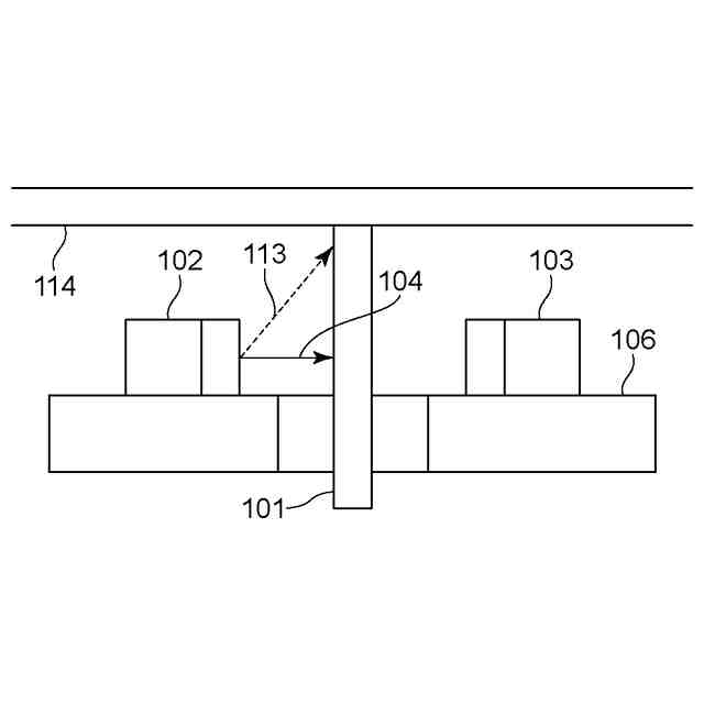
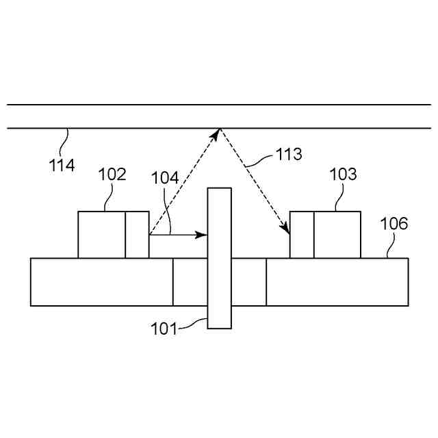
特許文献1のようなフォトインタラプタを装置内に組み込んで検知を行う場合、周囲の部材の配置によっては、発光部から出射された光が遮光フラグの遮光時でも周囲の部材に反射して受光部へ迷光として至ることでセンサの誤検知となってしまうおそれがあった。
【0006】
そこで、本発明の目的は、迷光による誤検知を抑制するセンサユニットを提供することである。
【課題を解決するための手段】
【0007】
上記目的を達成するための本発明のセンサユニットは、
発光素子と受光素子が設置された基板であって、発光素子と受光素子の間に基板の1辺から基板の内側へ切り欠かれたスリットを有する基板と、前記スリットを通過して前記発光素子から前記受光素子へ向かう光を遮光する遮光部を有するフラグと、を備え、前記フラグの前記遮光部が前記発光素子から前記受光素子に向かう光を遮る遮光時に前記フラグの検出を行うセンサユニットであって、前記フラグは、前記遮光部の面に垂直かつ互いが垂直な2方向を覆う壁部を有し、前記遮光時に前記壁部は、前記基板に垂直な方向と、前記基板に平行かつ前記スリットによって基板が切り欠かれている方向と、に関して前記発光素子または前記受光素子を覆うことを特徴とする。
【発明の効果】
【0008】
本発明によれば、迷光による誤検知を抑制するセンサユニットを提供することができる。
【図面の簡単な説明】
【0009】
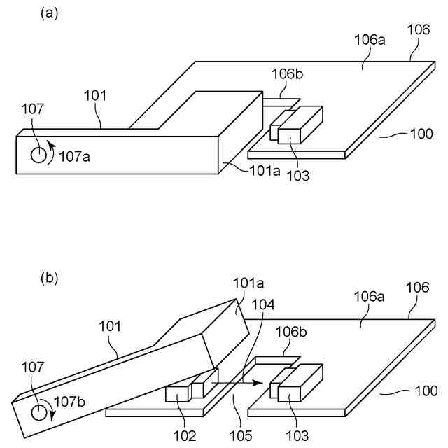
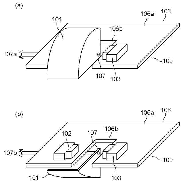
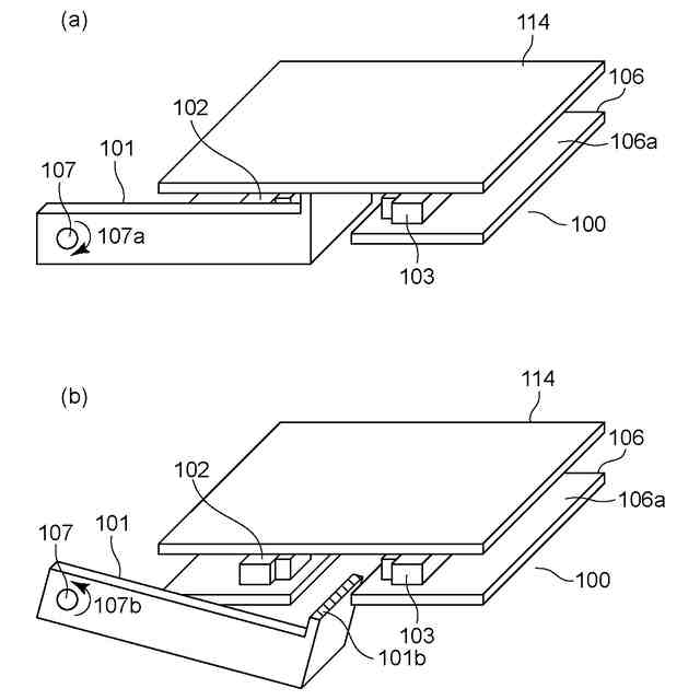
実施例1における第1の例のセンサユニットの斜視図である。
実施例1における光学センサの回路図である。
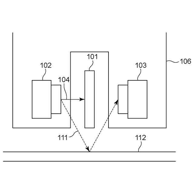
光学センサの天面図である。
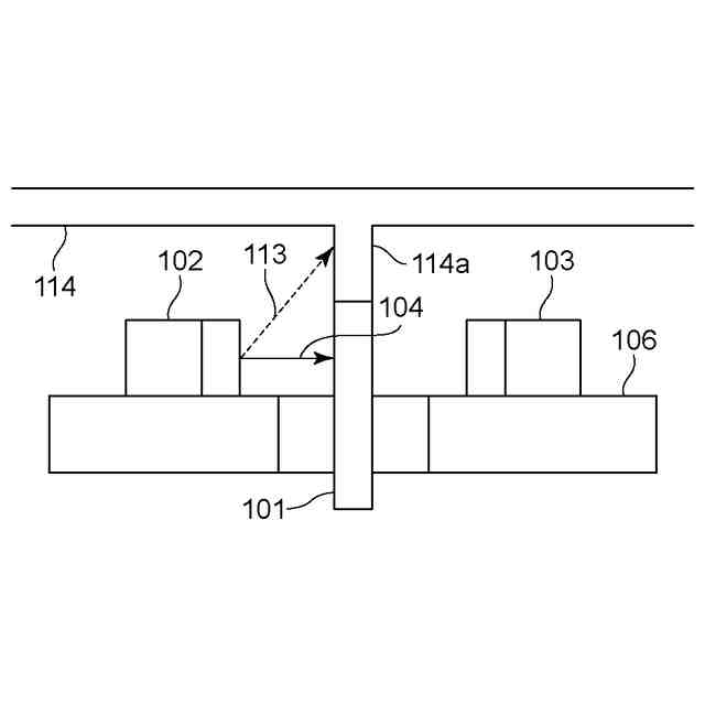
光学センサの側面図である。
実施例1における第1の例のセンサユニットの斜視図である。
実施例1における第2の例のセンサユニットの斜視図である。
実施例2におけるセンサユニットの斜視図である。
実施例2におけるセンサユニットの側面図である。
実施例2におけるセンサユニットの側面図である。
実施例2におけるセンサユニットの側面図である。
実施例1および実施例2におけるセンサユニットを用いた画像形成装置の断面図である。
【発明を実施するための形態】
【0010】
以下、図面を参照して、本発明の好適な実施の形態を例示的に詳しく説明する。ただし、以下の実施形態に記載されている構成部品の寸法、材質、形状、それらの相対配置などは、本発明が適用される装置の構成や各種条件により適宜変更されるべきものであり、本発明の範囲をそれらのみに限定する趣旨のものではない。
【実施例】
(【0011】以降は省略されています)
この特許をJ-PlatPat(特許庁公式サイト)で参照する
関連特許
キヤノン株式会社
トナー
今日
キヤノン株式会社
トナー
今日
キヤノン株式会社
トナー
5日前
キヤノン株式会社
トナー
今日
キヤノン株式会社
定着装置
28日前
キヤノン株式会社
電子機器
28日前
キヤノン株式会社
電子機器
13日前
キヤノン株式会社
撮像装置
13日前
キヤノン株式会社
電子機器
7日前
キヤノン株式会社
定着装置
19日前
キヤノン株式会社
定着装置
28日前
キヤノン株式会社
電子機器
13日前
キヤノン株式会社
定着装置
28日前
キヤノン株式会社
撮像装置
21日前
キヤノン株式会社
電子機器
21日前
キヤノン株式会社
記録装置
21日前
キヤノン株式会社
撮像装置
1日前
キヤノン株式会社
電子機器
9日前
キヤノン株式会社
撮像装置
19日前
キヤノン株式会社
撮像装置
20日前
キヤノン株式会社
撮像装置
5日前
キヤノン株式会社
記録装置
20日前
キヤノン株式会社
撮像装置
1か月前
キヤノン株式会社
発光装置
12日前
キヤノン株式会社
表示装置
12日前
キヤノン株式会社
収容装置
13日前
キヤノン株式会社
記録装置
5日前
キヤノン株式会社
定着装置
13日前
キヤノン株式会社
電子機器
1か月前
キヤノン株式会社
光学センサ
今日
キヤノン株式会社
半導体装置
7日前
キヤノン株式会社
現像剤容器
6日前
キヤノン株式会社
モジュール
今日
キヤノン株式会社
有機発光素子
19日前
キヤノン株式会社
画像表示装置
5日前
キヤノン株式会社
画像形成装置
5日前
続きを見る
他の特許を見る