TOP
|
特許
|
意匠
|
商標
特許ウォッチ
Twitter
他の特許を見る
10個以上の画像は省略されています。
公開番号
2025149735
公報種別
公開特許公報(A)
公開日
2025-10-08
出願番号
2024050558
出願日
2024-03-26
発明の名称
タスクチューニングプログラムおよびタスクチューニング方法
出願人
富士通株式会社
代理人
個人
主分類
G06F
11/34 20060101AFI20251001BHJP(計算;計数)
要約
【課題】プログラムの高速化を図ること。
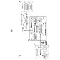
【解決手段】情報処理装置101は、プログラム110を解析してタスク(例えば、タスク1,2,3)を検出する。情報処理装置101は、検出したタスク間の依存関係に基づいて、検出したタスクのうち、1タスクに融合可能なタスクのペア(例えば、ペア111,112)を特定する。情報処理装置101は、特定したペアごとに、当該ペアのタスク同士を融合した場合の理論ピーク演算性能(例えば、理論ピーク演算性能a,b)を算出する。情報処理装置101は、算出した理論ピーク演算性能に基づいて、特定したペアの中から、融合対象のペア(例えば、ペア112)を決定する。情報処理装置101は、プログラム110における、決定した融合対象のペアのタスク同士を融合する。
【選択図】図1
特許請求の範囲
【請求項1】
プログラムを解析してタスクを検出し、
検出した前記タスク間の依存関係に基づいて、検出した前記タスクのうち、1タスクに融合可能なタスクのペアを特定し、
特定した前記ペアごとに、前記ペアのタスク同士を融合した場合の演算性能あたりのメモリバンド幅を表す第1の値と、前記プログラムを実行するハードウェアの演算性能あたりのメモリバンド幅を表す第2の値と、前記ハードウェアの演算性能とに基づいて、前記ペアのタスク同士を融合した場合の理論ピーク演算性能を算出し、
算出した前記理論ピーク演算性能に基づいて、特定した前記ペアの中から、融合対象のペアを決定し、
前記プログラムにおける、決定した前記融合対象のペアのタスク同士を融合する、
処理をコンピュータに実行させることを特徴とするタスクチューニングプログラム。
続きを表示(約 1,200 文字)
【請求項2】
決定した前記融合対象のペアの各タスクの演算性能あたりのメモリバンド幅を表す第3の値と、前記第2の値と、前記ハードウェアの演算性能とに基づいて、前記各タスクの理論ピーク演算性能を算出する、
処理を前記コンピュータに実行させ、
前記融合する処理は、
前記融合対象のペアの理論ピーク演算性能が、算出した前記各タスクの理論ピーク演算性能のうちの最も高い理論ピーク演算性能以下の場合には、前記融合対象のペアのタスク同士を融合しない、
ことを特徴とする請求項1に記載のタスクチューニングプログラム。
【請求項3】
前記融合する処理は、
決定した前記融合対象のペアのタスク同士を融合した場合に使用するレジスタ数が、前記ハードウェアが有するレジスタ数を超える場合、前記融合対象のペアのタスク同士を融合しない、
ことを特徴とする請求項1に記載のタスクチューニングプログラム。
【請求項4】
検出した前記タスク間の依存関係に基づいて、検出した前記タスクを、前記依存関係を満たすような実行順で並べるとともに、前記依存関係があるタスク同士を接続したタスクフローを作成する、
処理を前記コンピュータに実行させ、
前記特定する処理は、
作成した前記タスクフローに基づいて、検出した前記タスクのうち、1タスクに融合可能なタスクのペアを特定する、
ことを特徴とする請求項1に記載のタスクチューニングプログラム。
【請求項5】
前記決定する処理は、
特定した前記ペアのうち、算出した前記理論ピーク演算性能が最も高いペアを、前記融合対象のペアとして決定する、ことを特徴とする請求項1に記載のタスクチューニングプログラム。
【請求項6】
前記融合対象のペアのタスク同士を融合した前記プログラムを実行する、
処理を前記コンピュータに実行させることを特徴とする請求項1~5のいずれか一つに記載のタスクチューニングプログラム。
【請求項7】
プログラムを解析してタスクを検出し、
検出した前記タスク間の依存関係に基づいて、検出した前記タスクのうち、1タスクに融合可能なタスクのペアを特定し、
特定した前記ペアごとに、前記ペアのタスク同士を融合した場合の演算性能あたりのメモリバンド幅を表す第1の値と、前記プログラムを実行するハードウェアの演算性能あたりのメモリバンド幅を表す第2の値と、前記ハードウェアの演算性能とに基づいて、前記ペアのタスク同士を融合した場合の理論ピーク演算性能を算出し、
算出した前記理論ピーク演算性能に基づいて、特定した前記ペアの中から、融合対象のペアを決定し、
前記プログラムにおける、決定した前記融合対象のペアのタスク同士を融合する、
処理をコンピュータが実行することを特徴とするタスクチューニング方法。
発明の詳細な説明
【技術分野】
【0001】
本発明は、タスクチューニングプログラムおよびタスクチューニング方法に関する。
続きを表示(約 1,600 文字)
【背景技術】
【0002】
従来、分散メモリ環境におけるプログラミング手法の一つに、データ依存付きタスク並列がある。データ依存付きタスク並列の実行形態としては、例えば、ノード内のコアに対応するスレッドを生成し、そのスレッド上でタスクを実行するものがある。一方で、近年は様々な種類のハードウェアが登場しており、プログラムの高速化に、ハードウェアの特性に合わせたプログラミングが求められる。
【0003】
先行技術としては、例えば、複数の計算デバイスを用いてタスクを実行する時に、タスクの処理命令によって処理されるデータのデータ量を、複数の計算デバイスの計算能力の違いに応じて複数の計算デバイス間で配分し、複数の計算デバイスを用いてタスクを分散して実行させるものがある。
【先行技術文献】
【特許文献】
【0004】
国際公開第2018-158819号
【発明の概要】
【発明が解決しようとする課題】
【0005】
しかしながら、従来技術では、データ依存付きタスク並列記述などのプログラムを高速化することが難しい。例えば、様々な種類のハードウェアが登場している中で、ハードウェアの特性に合わせたプログラムの書き換えを人手で行う場合、実装や保守にかかるコストの増大化を招くという問題がある。
【0006】
一つの側面では、本発明は、プログラムの高速化を図ることを目的とする。
【課題を解決するための手段】
【0007】
1つの実施態様では、プログラムを解析してタスクを検出し、検出した前記タスク間の依存関係に基づいて、検出した前記タスクのうち、1タスクに融合可能なタスクのペアを特定し、特定した前記ペアごとに、前記ペアのタスク同士を融合した場合の演算性能あたりのメモリバンド幅を表す第1の値と、前記プログラムを実行するハードウェアの演算性能あたりのメモリバンド幅を表す第2の値と、前記ハードウェアの演算性能とに基づいて、前記ペアのタスク同士を融合した場合の理論ピーク演算性能を算出し、算出した前記理論ピーク演算性能に基づいて、特定した前記ペアの中から、融合対象のペアを決定し、前記プログラムにおける、決定した前記融合対象のペアのタスク同士を融合する、タスクチューニングプログラムが提供される。
【発明の効果】
【0008】
本発明の一側面によれば、プログラムの高速化を図ることができるという効果を奏する。
【図面の簡単な説明】
【0009】
図1は、実施の形態にかかるタスクチューニング方法の一実施例を示す説明図である。
図2は、データ依存付きタスク並列記述のプログラムの一例を示す説明図である。
図3は、情報処理装置101のハードウェア構成例を示すブロック図である。
図4は、情報処理装置101の機能的構成例を示すブロック図である。
図5は、対象プログラムの具体例を示す説明図である。
図6は、タスクフローの具体例を示す説明図である。
図7は、理論ピーク演算性能の算出例を示す説明図(その1)である。
図8は、理論ピーク演算性能の算出例を示す説明図(その2)である。
図9は、タスクの融合例を示す説明図である。
図10は、タスクフローの更新例を示す説明図である。
図11は、情報処理装置101のタスクチューニング処理手順の一例を示すフローチャート(その1)である。
図12は、情報処理装置101のタスクチューニング処理手順の一例を示すフローチャート(その2)である。
【発明を実施するための形態】
【0010】
以下に図面を参照して、本発明にかかるタスクチューニングプログラムおよびタスクチューニング方法の実施の形態を詳細に説明する。
(【0011】以降は省略されています)
この特許をJ-PlatPat(特許庁公式サイト)で参照する
関連特許
富士通株式会社
半導体装置
5日前
富士通株式会社
半導体デバイス
5日前
富士通株式会社
電子機器筐体及び電子機器
4日前
富士通株式会社
光送信器及び光トランシーバ
4日前
富士通株式会社
探索プログラム、探索方法、および情報処理装置
4日前
富士通株式会社
プログラム、データ処理装置及びデータ処理方法
5日前
富士通株式会社
キャッシュ装置およびキャッシュ装置の制御方法
5日前
富士通株式会社
出張情報受付方法および出張情報受付プログラム
4日前
富士通株式会社
光ネットワーク管理装置及び光ネットワーク管理方法
5日前
富士通株式会社
情報出力プログラム、情報出力方法及び情報処理装置
4日前
富士通株式会社
チェックプログラム、チェック方法及び情報処理装置
4日前
富士通株式会社
勤怠管理プログラム、勤怠管理方法および情報処理装置
4日前
富士通株式会社
勤怠管理プログラム、勤怠管理方法および情報処理装置
4日前
富士通株式会社
情報処理プログラム、情報処理方法および情報処理装置
4日前
富士通株式会社
情報処理プログラム、情報処理方法、および情報処理装置
5日前
富士通株式会社
リスク推定プログラム、リスク推定方法および情報処理装置
4日前
富士通株式会社
マトリクススケジューラを備えるプロセッサ及び情報処理装置
4日前
富士通株式会社
訓練データ生成プログラム、機械学習プログラム、推定プログラム、方法、及び装置
4日前
セイコーエプソン株式会社
機械学習モデルの解析装置
5日前
株式会社栗本鐵工所
操作装置及び操作受付方法
4日前
富士通株式会社
探索プログラム、探索方法、および情報処理装置
4日前
日産自動車株式会社
画像処理方法及び画像処理装置
4日前
キヤノン株式会社
読取装置及び情報提供システム
4日前
株式会社MRSホールディングズ
口座開設方法及びプログラム
4日前
株式会社トプコン
物体検出装置および測量システム
4日前
個人
対象物分別システム、対象物分別方法及び対象物分別プログラム
4日前
日立建機株式会社
リスク判定装置及びリスク判定システム
4日前
BIPROGY株式会社
情報処理方法、情報処理プログラム及び情報処理装置
4日前
株式会社MRSホールディングズ
送金方法、プログラム及び情報処理装置
4日前
株式会社カネカ
情報処理システム、情報処理装置、情報処理方法、及びプログラム
4日前
株式会社カネカ
情報処理システム、情報処理装置、情報処理方法、及びプログラム
4日前
株式会社カネカ
情報処理システム、情報処理装置、情報処理方法、及びプログラム
4日前
株式会社小松製作所
認証情報表示システム、情報端末、及び認証情報表示方法
4日前
地方独立行政法人青森県産業技術センター
生産情報管理システム及び生産情報管理プログラム
4日前
東洋製罐グループホールディングス株式会社
情報処理装置、情報処理システム、及び、情報処理方法
4日前
株式会社日立産機システム
設備管理システム、無線通信装置、プログラム
4日前
続きを見る
他の特許を見る