TOP
|
特許
|
意匠
|
商標
特許ウォッチ
Twitter
他の特許を見る
10個以上の画像は省略されています。
公開番号
2025154701
公報種別
公開特許公報(A)
公開日
2025-10-10
出願番号
2024057846
出願日
2024-03-29
発明の名称
情報処理装置、情報処理システム、及び、情報処理方法
出願人
東洋製罐グループホールディングス株式会社
代理人
個人
,
個人
主分類
G06F
16/907 20190101AFI20251002BHJP(計算;計数)
要約
【課題】複数の要素間の様々な関係性に基づいた情報を適切に検索することができる情報処理装置を提供する。
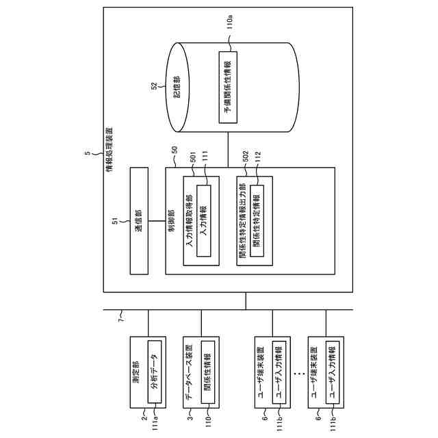
【解決手段】情報処理装置5は、物質の成分に関連する情報を検索する情報処理装置5であって、物質の特徴を示す入力情報111を取得する入力情報取得部501と、入力情報111に基づいて、物質の成分を示す1又は複数の成分要素と、成分の化学的特徴、物理的特徴、及び、用途的特徴のいずれかを示す1又は複数の特徴要素とからなる複数の要素間の関係性が特定された関係性特定情報112を出力する関係性特定情報出力部502と、を備える。
【選択図】 図2
特許請求の範囲
【請求項1】
物質の成分に関連する情報を検索する情報処理装置であって、
前記物質の特徴を示す入力情報を取得する入力情報取得部と、
前記入力情報に基づいて、前記物質の前記成分を示す1又は複数の成分要素と、前記成分の化学的特徴、物理的特徴、及び、用途的特徴のいずれかを示す1又は複数の特徴要素とからなる複数の要素間の関係性が特定された関係性特定情報を出力する関係性特定情報出力部と、
を備える
情報処理装置。
続きを表示(約 1,100 文字)
【請求項2】
前記入力情報は、
前記物質の化学的入力情報、
前記物質の物理的入力情報、
前記物質の用途的入力情報、
及び、
前記物質の管理的入力情報、
の少なくとも一つである
請求項1に記載の情報処理装置。
【請求項3】
前記化学的入力情報は、分析データである
請求項2に記載の情報処理装置。
【請求項4】
前記分析データは、
スペクトル
熱特性、
クロマトグラム、
画像、
及び、
質量、
の少なくとも一つである
請求項3に記載の情報処理装置。
【請求項5】
前記物理的入力情報は、
色、
硬さ、
もろさ、
透明度、
粘性、
及び、
状態
の少なくとも一つである、
請求項2に記載の情報処理装置。
【請求項6】
前記用途的入力情報は、
前記物質の用途を示す物質用途、
及び、
前記物質に前記成分を混入した用途を示す成分混入用途、
の少なくとも一つである、
である、
請求項2に記載の情報処理装置。
【請求項7】
前記管理的入力情報は、
前記物質又は前記成分を使用する製品を示す製品的入力情報、
前記物質又は前記成分を使用する施設を示す施設的入力情報、
前記物質又は前記成分を使用する工程を示す工程的入力情報、
及び、
前記製品、前記施設、前記工程、前記物質、及び、前記成分の少なくとも1つに対する過去の報告データを示す報告的入力情報、
の少なくとも一つである
請求項2に記載の情報処理装置。
【請求項8】
前記製品的入力情報は、
前記製品の種類を示す製品種類的入力情報、
及び、
前記製品で使用される材料の成分を示す材料成分的入力情報、
の少なくとも一つである
請求項7に記載の情報処理装置。
【請求項9】
前記製品種類的入力情報は、前記製品の名称である
請求項8に記載の情報処理装置。
【請求項10】
前記材料成分的入力情報は、
前記材料の成分の種類を示す材料成分種類的入力情報、
及び、
前記材料の成分の由来を示す材料成分由来的入力情報、
の少なくとも一つである
請求項8に記載の情報処理装置。
(【請求項11】以降は省略されています)
発明の詳細な説明
【技術分野】
【0001】
本発明は、情報処理装置、情報処理システム、及び、情報処理方法に関する。
続きを表示(約 1,500 文字)
【背景技術】
【0002】
従来、分析対象に関する情報及び分析対象の状態を示す情報に基づいて、分析対象の状態に対応する知識を提示するサービス提供システムが開示されている(特許文献1参照)。
【先行技術文献】
【特許文献】
【0003】
特許第6995871号公報
【発明の概要】
【発明が解決しようとする課題】
【0004】
特許文献1に開示されたサービス提供システムは、要素間の共起関係を抽出し、共起関係を示す要素IDを知識ベースとして格納するものであって、共起関係以外には要素間の関係を抽出することができない。
【0005】
本発明は、上記の課題に鑑み、既知の情報に関係する関係性特定情報を適切に検索することができる情報処理装置、情報処理システム、及び、情報処理方法を提供することを目的とする。
【課題を解決するための手段】
【0006】
上記目的を達成するために、本発明の一態様に係る情報処理装置は、
物質の成分に関連する情報を検索する情報処理装置であって、
前記物質の特徴を示す入力情報を取得する入力情報取得部と、
前記入力情報に基づいて、前記物質の前記成分を示す1又は複数の成分要素と、前記成分の化学的特徴、物理的特徴、及び、用途的特徴のいずれかを示す1又は複数の特徴要素とからなる複数の要素間の関係性が特定された関係性特定情報を出力する関係性特定情報出力部と、
を備える。
【発明の効果】
【0007】
本発明の一態様に係る情報処理装置によれば、複数の要素間の様々な関係性に基づいた情報を適切に検索することができる。
【0008】
上記以外の課題、構成及び効果は、後述する発明を実施するための形態にて明らかにされる。
【図面の簡単な説明】
【0009】
本実施形態の情報処理システム1の一例を示す全体構成図である。
本実施形態のデータベース装置3に記憶される関係性情報110のデータ構成図の一例を示す。
本実施形態の特徴要素の化学的特徴、物理的特徴、及び、用途的特徴の一例を示す。
本実施形態の特徴要素の管理的特徴の一例を示す。
本実施形態のデータベース装置3に記憶される関係性情報110のイメージの一例を示す。
本実施形態の情報処理装置5の一例を示すブロック図である。
本実施形態の情報処理装置5が出力する関係性特定情報112のイメージの一例を示す。
本実施形態のユーザ端末装置6の一例を示すブロック図である。
本実施形態のコンピュータ900の一例を示すハードウエア構成図である。
本実施形態の情報処理装置5及びユーザ端末装置6による情報処理方法の一例を示すフローチャートである。
本実施形態のユーザ端末装置6の入力画面の一例を示す。
本実施形態のユーザ端末装置6の出力画面の一例を示す。
本実施形態のユーザ端末装置6の出力画面の他の例を示す。
【発明を実施するための形態】
【0010】
以下、図面を参照して本発明を実施するための実施形態について説明する。以下では、本発明の目的を達成するための説明に必要な範囲を模式的に示し、本発明の該当部分の説明に必要な範囲を主に説明することとし、説明を省略する箇所については公知技術によるものとする。
(【0011】以降は省略されています)
この特許をJ-PlatPat(特許庁公式サイト)で参照する
関連特許
個人
詐欺保険
2日前
個人
縁伊達ポイン
2日前
個人
QRコードの彩色
6日前
個人
地球保全システム
15日前
個人
為替ポイント伊達夢貯
1か月前
個人
冷凍食品輸出支援構造
1か月前
個人
農作物用途分配システム
1日前
個人
残土処理システム
8日前
個人
表変換編集支援システム
1か月前
個人
知的財産出願支援システム
9日前
個人
知財出願支援AIシステム
1か月前
個人
パスワード管理支援システム
1か月前
個人
AIによる情報の売買の仲介
1か月前
個人
行動時間管理システム
1か月前
個人
食品レシピ生成システム
14日前
個人
AIキャラクター制御システム
1か月前
株式会社キーエンス
受発注システム
14日前
株式会社キーエンス
受発注システム
14日前
個人
海外支援型農作物活用システム
27日前
株式会社キーエンス
受発注システム
14日前
個人
システム及びプログラム
28日前
日本精機株式会社
施工管理システム
1か月前
個人
帳票自動生成型SaaSシステム
9日前
キヤノン株式会社
表示システム
14日前
個人
冷凍加工連携型農場運用システム
1か月前
個人
音声・通知・再配達UX制御構造
9日前
個人
音声対話型帳票生成支援システム
1か月前
個人
SaaS型勤務調整支援システム
1か月前
個人
人格進化型対話応答制御システム
1か月前
個人
社会還元・施設向け供給支援構造
1か月前
大同特殊鋼株式会社
疵判定方法
21日前
サクサ株式会社
中継装置
1か月前
個人
未来型家系図構築システム
27日前
大同特殊鋼株式会社
棒材計数方法
7日前
株式会社キーエンス
製品受発注システム
14日前
株式会社竹中工務店
管理システム
27日前
続きを見る
他の特許を見る