TOP
|
特許
|
意匠
|
商標
特許ウォッチ
Twitter
他の特許を見る
10個以上の画像は省略されています。
公開番号
2025154833
公報種別
公開特許公報(A)
公開日
2025-10-10
出願番号
2024058052
出願日
2024-03-29
発明の名称
生産情報管理システム及び生産情報管理プログラム
出願人
地方独立行政法人青森県産業技術センター
代理人
個人
,
個人
,
個人
主分類
G06Q
50/02 20240101AFI20251002BHJP(計算;計数)
要約
【課題】農産物生産の現場情報を効率的に提供し、対話型の双方向通信で管理情報を更新することが可能な生産情報管理システムを提供する。
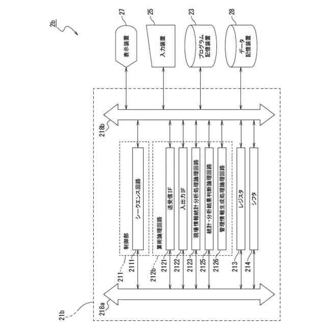
【解決手段】生産者端末と双方向通信が可能な管理サーバ2aが、管理情報を格納したデータ記憶装置28と、生産者端末から非同期で送信された農産物の生産現場の現場情報を逐次受信し、データ記憶装置28に蓄積する送受信インターフェイス2121と、データ記憶装置28に蓄積された現場情報を読み出して統計分析処理を実行し結果をデータ記憶装置28に格納する現場情報統計分析処理論理回路2123と、現場情報統計分析処理論理回路2123の結果を表示する表示装置27と、管理情報を更新する管理情報更新処理論理回路2124を備える。
【選択図】図1B
特許請求の範囲
【請求項1】
農産物の生産管理に必要な管理情報が表示可能な現場アプリケーションがインストールされた複数の生産者端末のそれぞれと双方向通信が可能な管理サーバを有する生産情報管理システムであって、
前記管理サーバが、
前記管理情報を格納したデータ記憶装置と、
前記現場アプリケーションを介して、前記複数の生産者端末のそれぞれから非同期で送信された、前記農産物の生産現場の現場情報を逐次受信し、前記データ記憶装置に逐次蓄積する送受信インターフェイスと、
前記データ記憶装置に逐次蓄積された前記現場情報を読み出して統計分析処理を実行し、該統計分析処理の結果を前記データ記憶装置に格納する現場情報統計分析処理論理回路と、
前記現場情報統計分析処理論理回路が前記統計分析処理した前記結果を表示する表示装置と、
前記データ記憶装置に格納された前記管理情報を読み出して、前記管理情報を更新する管理情報更新処理論理回路と、
を備えることを特徴とする生産情報管理システム。
続きを表示(約 510 文字)
【請求項2】
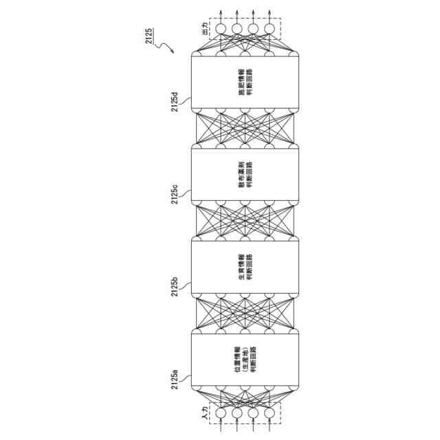
前記現場情報は、生産地、生育情報、対象病害虫、散布薬剤、及び施肥情報を含むことを特徴とする請求項1に記載の生産情報管理システム。
【請求項3】
農産物の生産管理に必要な管理情報をデータ記憶装置に格納させる命令と、
複数の生産者端末にインストールされた現場アプリケーションを介して、前記複数の生産者端末のそれぞれから非同期で送信された、前記農産物の生産現場の現場情報を、送受信インターフェイスに逐次受信させ、前記データ記憶装置に逐次蓄積させる命令と、
現場情報統計分析処理論理回路に、前記データ記憶装置に逐次蓄積された前記現場情報を読み出させて統計分析処理を実行させ、該統計分析処理の結果を前記データ記憶装置に格納させる命令と、
表示装置に、前記現場情報統計分析処理論理回路が前記統計分析処理した前記結果を表示させる命令と、
管理情報更新処理論理回路に、前記データ記憶装置に格納された前記管理情報を読み出させて前記管理情報を更新させる命令と、
を含む一連の命令による処理を、コンピュータシステムとしての管理サーバに実行させる生産情報管理プログラム。
発明の詳細な説明
【技術分野】
【0001】
本発明は、生産情報管理システム、この生産情報管理システムに用いられるコンピュータシステムを動作させるための生産情報管理プログラムに関する。
続きを表示(約 2,300 文字)
【背景技術】
【0002】
農産物の栽培において、病害虫防除のために、栽培する作物ごとに農薬名、希釈倍数、散布時期、散布回数、使用方法などの病害虫防除情報について時系列で紙媒体に記載され内容が固定された静的な防除暦(以下において「静的防除暦」という。)が利用されている。静的防除暦は、青森県、青森県産業技術センター、農業協同組合(JA)、生産者団体で構成されている編成部会によって毎年更新され、JAなどにより各生産者に提供される。静的防除暦は、情報量が多いためサイズが大きく、持ち運びには不適であり、さらに、求められる情報が多岐にわたり内容が複雑化しているため、利用しづらくなっている。薬剤の選択ミスや注意事項の見逃しなどの懸念がある。また、生産者は毎年新しい静的防除暦を入手して変更点を理解しなければならない。
【0003】
静的防除暦は年1回の発行のため、発行後の年度途中における防除に関する情報の修正や変更が困難である。例えば、防除暦に掲載している農薬が使用できなくなった場合、その情報とその対応の周知に時間を要する。また、静的防除暦では、防除時期の目安として暦日(月旬)と農作物の生育ステージを併記しているが、農作物の生育速度は気候によって変動するため、年によって暦日と生育ステージにズレが生じ、防除時期の目安がわかりづらくなる。
【0004】
静的防除暦は、防除暦管理者から生産者に対する一方的な情報提供であり、生産者の園地における適正な防除管理や、生産園地における病害虫発生状況の把握が困難である。薬剤散布履歴の記録の多くは別様式に手書きでなされ、果樹の出荷時や輸出時の散布済薬剤履歴のデータ管理に労力がかかる。
【0005】
特許文献1には、農業協同組合などで作成された防除暦をデータベース化し、農産物の産地情報に対応して、農産物に使用される農薬の種類などの情報を読み出すことが記載されている。
【先行技術文献】
【特許文献】
【0006】
特開2006‐333704号公報
【発明の概要】
【発明が解決しようとする課題】
【0007】
本発明は、防除暦等の農産物生産の現場情報を効率的に提供し、対話型の双方向通信で管理情報を更新することが可能な生産情報管理システム、この生産情報管理システムに用いられるコンピュータシステムを動作させるための生産情報管理プログラムを提供することを目的とする。
【課題を解決するための手段】
【0008】
本発明の第1の態様は、農産物の生産管理に必要な管理情報が表示可能な現場アプリケーションがインストールされた複数の生産者端末のそれぞれと双方向通信が可能な管理サーバを有する生産情報管理システムであることを要旨とする。第1の態様に係る生産情報管理システムにおいて、管理サーバは(a)管理情報を格納したデータ記憶装置と、(b)現場アプリケーションを介して、複数の生産者端末のそれぞれから非同期で送信された、農産物の生産現場の現場情報を逐次受信し、データ記憶装置に逐次蓄積する送受信インターフェイスと、(c)データ記憶装置に逐次蓄積された現場情報を読み出して統計分析処理を実行し、この統計分析処理の結果をデータ記憶装置に格納する現場情報統計分析処理論理回路と、(d)現場情報統計分析処理論理回路が統計分析処理した結果を表示する表示装置と、(e)データ記憶装置に格納された管理情報を読み出して、管理情報を更新する管理情報更新処理論理回路を備える。
【0009】
本発明の第2の態様は、(a)農産物の生産管理に必要な管理情報をデータ記憶装置に格納するステップと、(b)複数の生産者端末にインストールされた現場アプリケーションを介して、複数の生産者端末のそれぞれから非同期で送信された、農産物の生産現場の現場情報を、送受信インターフェイスが逐次受信し、データ記憶装置に逐次蓄積するステップと、(c)現場情報統計分析処理論理回路が、データ記憶装置に逐次蓄積された現場情報を読み出して統計分析処理を実行し、この統計分析処理の結果をデータ記憶装置に格納するステップと、(d)表示装置が、現場情報統計分析処理論理回路が統計分析処理した結果を表示するステップと、(e)管理情報更新処理論理回路が、データ記憶装置に格納された管理情報を読み出して管理情報を更新するステップを含む生産情報管理方法であることを要旨とする。
【0010】
本発明の第3の態様は、(a)農産物の生産管理に必要な管理情報をデータ記憶装置に格納させる命令と、(b)複数の生産者端末にインストールされた現場アプリケーションを介して、複数の生産者端末のそれぞれから非同期で送信された、農産物の生産現場の現場情報を、送受信インターフェイスに逐次受信させ、データ記憶装置に逐次蓄積させる命令と、(c)現場情報統計分析処理論理回路に、データ記憶装置に逐次蓄積された現場情報を読み出させて統計分析処理を実行させ、この統計分析処理の結果をデータ記憶装置に格納させる命令と、(d)表示装置に、現場情報統計分析処理論理回路が統計分析処理した結果を表示させる命令と、(e)管理情報更新処理論理回路に、データ記憶装置に格納された管理情報を読み出させて管理情報を更新させる命令を含む一連の命令による処理を、コンピュータシステムとしての管理サーバに実行させる生産情報管理プログラムであることを要旨とする。
【発明の効果】
(【0011】以降は省略されています)
この特許をJ-PlatPat(特許庁公式サイト)で参照する
関連特許
個人
地球保全システム
12日前
個人
QRコードの彩色
3日前
個人
工程設計支援装置
1か月前
個人
冷凍食品輸出支援構造
1か月前
個人
為替ポイント伊達夢貯
1か月前
個人
携帯情報端末装置
2か月前
個人
残土処理システム
5日前
個人
表変換編集支援システム
1か月前
個人
結婚相手紹介支援システム
1か月前
個人
知財出願支援AIシステム
1か月前
個人
知的財産出願支援システム
6日前
個人
AIによる情報の売買の仲介
1か月前
個人
行動時間管理システム
1か月前
個人
パスワード管理支援システム
1か月前
個人
海外支援型農作物活用システム
24日前
個人
食品レシピ生成システム
11日前
個人
パスポートレス入出国システム
1か月前
株式会社アジラ
進入判定装置
1か月前
株式会社キーエンス
受発注システム
11日前
個人
AIキャラクター制御システム
1か月前
日本精機株式会社
施工管理システム
1か月前
個人
システム及びプログラム
25日前
株式会社キーエンス
受発注システム
11日前
株式会社キーエンス
受発注システム
11日前
個人
音声・通知・再配達UX制御構造
6日前
個人
冷凍加工連携型農場運用システム
1か月前
サクサ株式会社
中継装置
1か月前
個人
音声対話型帳票生成支援システム
1か月前
個人
食事受注会計処理システム
1か月前
個人
未来型家系図構築システム
24日前
個人
帳票自動生成型SaaSシステム
6日前
個人
人格進化型対話応答制御システム
1か月前
大阪瓦斯株式会社
住宅設備機器
1か月前
大同特殊鋼株式会社
疵判定方法
18日前
キヤノン株式会社
表示システム
11日前
個人
社会還元・施設向け供給支援構造
1か月前
続きを見る
他の特許を見る