TOP
|
特許
|
意匠
|
商標
特許ウォッチ
Twitter
他の特許を見る
公開番号
2025154590
公報種別
公開特許公報(A)
公開日
2025-10-10
出願番号
2024057681
出願日
2024-03-29
発明の名称
設備管理システム、無線通信装置、プログラム
出願人
株式会社日立産機システム
代理人
弁理士法人サンネクスト国際特許事務所
主分類
G06Q
50/04 20120101AFI20251002BHJP(計算;計数)
要約
【課題】設備稼働時の利便性を損なうことなく、設備の稼働状況を管理可能な技術を提供する。
【解決手段】設備管理システム1は、管理対象の設備に取り付けられ、付近に存在する通信端末との間で近距離無線通信を行うことが可能な無線通信装置10と、設備の稼働状況に関する稼働データが蓄積されるLCMサーバ30と、無線通信装置10から近距離無線通信により送信される稼働データを受信し、受信した稼働データをモバイルネットワーク40を介してLCMサーバ30へ送信する移動通信端末20と、を備える。無線通信装置10は、設備について稼働データを取得し、取得した稼働データの少なくとも一部を近距離無線通信のアドバタイズ信号により移動通信端末20へ送信する。
【選択図】図1
特許請求の範囲
【請求項1】
管理対象の設備に取り付けられ、付近に存在する通信端末との間で近距離無線通信を行うことが可能な無線通信装置と、
前記設備の稼働状況に関する稼働データが蓄積されるサーバと、
前記無線通信装置から前記近距離無線通信により送信される前記稼働データを受信し、受信した前記稼働データをモバイルネットワークを介して前記サーバへ送信する移動通信端末と、を備え、
前記無線通信装置は、前記設備について前記稼働データを取得し、取得した前記稼働データの少なくとも一部を前記近距離無線通信のアドバタイズ信号により前記移動通信端末へ送信する設備管理システム。
続きを表示(約 1,300 文字)
【請求項2】
請求項1に記載の設備管理システムにおいて、
前記稼働データは、前記設備の稼働時間に関する第1の情報を含み、
前記無線通信装置は、前記第1の情報を前記近距離無線通信のアドバタイズ信号により前記移動通信端末へ送信する設備管理システム。
【請求項3】
請求項2に記載の設備管理システムにおいて、
前記稼働データは、前記設備の警報発生履歴に関する第2の情報を含み、
前記無線通信装置は、前記移動通信端末とペアリングを行い、前記ペアリング後に前記第2の情報を前記近距離無線通信により前記移動通信端末へ送信する設備管理システム。
【請求項4】
請求項1に記載の設備管理システムにおいて、
前記サーバは、複数の前記設備の各々に対して割り当てられた固有のIDと、前記設備の製造時に付与された製造番号との関係を表す設備管理データを保有し、
前記無線通信装置は、前記稼働データの少なくとも一部と、前記設備の前記IDとを併せて、前記近距離無線通信のアドバタイズ信号により前記移動通信端末へ送信し、
前記移動通信端末は、前記無線通信装置から前記アドバタイズ信号により送信された前記稼働データの少なくとも一部と前記IDとを、前記モバイルネットワークを介して前記サーバへ送信し、
前記サーバは、前記設備管理データに基づいて、前記移動通信端末から送信された前記IDに対応する前記製造番号を特定する設備管理システム。
【請求項5】
請求項4に記載の設備管理システムにおいて、
前記サーバは、特定した前記製造番号を前記移動通信端末へ通知し、
前記移動通信端末は、前記サーバから通知された前記製造番号を表示する設備管理システム。
【請求項6】
請求項1に記載の設備管理システムにおいて、
前記移動通信端末は、前記無線通信装置から前記アドバタイズ信号により送信された前記稼働データの少なくとも一部と、自身の位置情報とを併せて、前記モバイルネットワークを介して前記サーバへ送信する設備管理システム。
【請求項7】
管理対象の設備に取り付けられ、付近に存在する通信端末との間で近距離無線通信を行うことが可能な無線通信装置であって、
前記設備の稼働時間の情報を少なくとも含む前記設備の稼働状況に関する稼働データを取得し、
取得した前記稼働データを、近距離無線通信のアドバタイズ信号により、付近に存在する通信端末へ送信する無線通信装置。
【請求項8】
移動通信端末に対するユーザの操作が行われていない状態で、前記移動通信端末が行う近距離無線通信の通信範囲内に存在する無線通信装置から、前記無線通信装置が取り付けれた設備の稼働状況に関する稼働データを、前記近距離無線通信により収集する処理と、
収集した前記稼働データを、モバイルネットワークを介して接続されたサーバへ送信する処理と、を前記移動通信端末に実行させるプログラム。
発明の詳細な説明
【技術分野】
【0001】
本発明は、設備の稼働状況を管理するためのシステム、装置およびプログラムに関する。
続きを表示(約 2,000 文字)
【背景技術】
【0002】
工場等の所定の場所で稼働される各種設備(例えばチェーンブロック、エアーコンプレッサ等)は、不具合等によって稼働できない状態になると、その設備を用いた作業工程を実施できなくなり、製品の生産計画等に多大な影響を及ぼすおそれがある。これを避けるためには、設備の保守管理者が設備の稼働履歴や状態を監視し、必要に応じて適切なタイミングでメンテナンスを実施する必要がある。
【0003】
一般的に、設備の保守管理者(例えば設備の製造業者やメンテナンス会社等の従業員)は、設備の設置場所やその付近には常駐しておらず、設備の稼働状態をリアルタイムに監視することが難しい。したがって、稼働中の設備において不具合等の予兆があったとしても、設備が実際に稼働停止するまで分からず、設備の稼働停止から復旧までに時間がかかるという問題があった。
【0004】
上記課題を解決するため、例えば特許文献1の発明が知られている。特許文献1には、工事現場などでの釘打ち作業に用いられるエアーコンプレッサに制御装置を搭載し、この制御装置からスマートフォンや携帯電話等の情報端末を介して、エアーコンプレッサの機器情報を管理サーバへ送信するエアーコンプレッサの管理システムが記載されている。これにより、エアーコンプレッサの稼働時間や稼働履歴等の機器情報を管理サーバに記録して、メンテナンスの必要性などを判断できるようにしている。
【先行技術文献】
【特許文献】
【0005】
特許第6200653号
【発明の概要】
【発明が解決しようとする課題】
【0006】
特許文献1のエアーコンプレッサの管理システムでは、情報端末にインストールされている機器管理アプリケーションを起動させた後、その情報端末をコンプレッサの制御装置にかざして近距離無線通信を実行させることで、コンプレッサのセキュリティが解除されてコンプレッサが稼働可能な状態となる。したがって、コンプレッサを稼働させるたびに、情報端末において機器管理アプリケーションを起動し、その情報端末をコンプレッサの制御装置にかざす操作を行う必要がある。そのため、従来よりもコンプレッサを稼働させるまでの手順が増えてしまい、利便性が低下するという課題がある。
【0007】
本発明は、上記課題に鑑みて、設備稼働時の利便性を損なうことなく、設備の稼働状況を管理可能な技術の提供を目的とする。
【課題を解決するための手段】
【0008】
本発明による設備管理システムは、管理対象の設備に取り付けられ、付近に存在する通信端末との間で近距離無線通信を行うことが可能な無線通信装置と、前記設備の稼働状況に関する稼働データが蓄積されるサーバと、前記無線通信装置から前記近距離無線通信により送信される前記稼働データを受信し、受信した前記稼働データをモバイルネットワークを介して前記サーバへ送信する移動通信端末と、を備え、前記無線通信装置は、前記設備について前記稼働データを取得し、取得した前記稼働データの少なくとも一部を前記近距離無線通信のアドバタイズ信号により前記移動通信端末へ送信する。
本発明による無線通信装置は、管理対象の設備に取り付けられ、付近に存在する通信端末との間で近距離無線通信を行うことが可能なものであって、前記設備の稼働時間の情報を少なくとも含む前記設備の稼働状況に関する稼働データを取得し、取得した前記稼働データを、近距離無線通信のアドバタイズ信号により、付近に存在する通信端末へ送信する。
本発明によるプログラムは、移動通信端末に対するユーザの操作が行われていない状態で、前記移動通信端末が行う近距離無線通信の通信範囲内に存在する無線通信装置から、前記無線通信装置が取り付けれた設備の稼働状況に関する稼働データを、前記近距離無線通信により収集する処理と、収集した前記稼働データを、モバイルネットワークを介して接続されたサーバへ送信する処理と、を前記移動通信端末に実行させる。
【発明の効果】
【0009】
本発明によれば、設備稼働時の利便性を損なうことなく、設備の稼働状況を管理可能な技術を提供できる。
【図面の簡単な説明】
【0010】
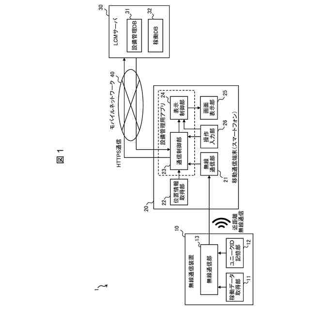
本発明の一実施形態に係る設備管理システムの構成例を示す図。
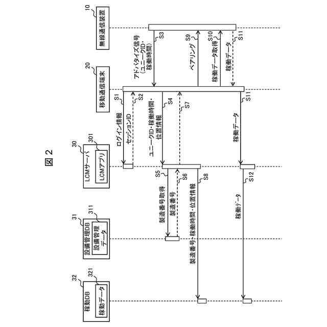
本発明の一実施形態に係る設備管理システムのシーケンス図。
本発明の一実施形態に係る設備管理システムにおける管理用アプリの処理の流れを示すフローチャート。
本発明の一実施形態に係る設備管理システムにおける無線通信装置の処理の流れを示すフローチャート。
【発明を実施するための形態】
(【0011】以降は省略されています)
この特許をJ-PlatPat(特許庁公式サイト)で参照する
関連特許
個人
詐欺保険
2日前
個人
縁伊達ポイン
2日前
個人
地球保全システム
15日前
個人
QRコードの彩色
6日前
個人
冷凍食品輸出支援構造
1か月前
個人
為替ポイント伊達夢貯
1か月前
個人
農作物用途分配システム
1日前
個人
残土処理システム
8日前
個人
表変換編集支援システム
1か月前
個人
知財出願支援AIシステム
1か月前
個人
知的財産出願支援システム
9日前
個人
パスワード管理支援システム
1か月前
個人
AIによる情報の売買の仲介
1か月前
個人
行動時間管理システム
1か月前
株式会社キーエンス
受発注システム
14日前
個人
AIキャラクター制御システム
1か月前
日本精機株式会社
施工管理システム
1か月前
株式会社キーエンス
受発注システム
14日前
株式会社キーエンス
受発注システム
14日前
個人
海外支援型農作物活用システム
27日前
個人
食品レシピ生成システム
14日前
株式会社アジラ
進入判定装置
1か月前
個人
パスポートレス入出国システム
1か月前
個人
システム及びプログラム
28日前
個人
冷凍加工連携型農場運用システム
1か月前
個人
未来型家系図構築システム
27日前
個人
SaaS型勤務調整支援システム
1か月前
個人
音声・通知・再配達UX制御構造
9日前
個人
帳票自動生成型SaaSシステム
9日前
個人
人格進化型対話応答制御システム
1か月前
キヤノン株式会社
表示システム
14日前
大同特殊鋼株式会社
疵判定方法
21日前
個人
社会還元・施設向け供給支援構造
1か月前
個人
音声対話型帳票生成支援システム
1か月前
個人
食事受注会計処理システム
1か月前
サクサ株式会社
中継装置
1か月前
続きを見る
他の特許を見る