TOP
|
特許
|
意匠
|
商標
特許ウォッチ
Twitter
他の特許を見る
10個以上の画像は省略されています。
公開番号
2025149600
公報種別
公開特許公報(A)
公開日
2025-10-08
出願番号
2024050345
出願日
2024-03-26
発明の名称
基地局、5G移動体通信システム及び基地局の制御方法
出願人
KDDI株式会社
代理人
個人
,
個人
,
個人
主分類
H04W
24/10 20090101AFI20251001BHJP(電気通信技術)
要約
【課題】クロスリンク干渉の影響を好適に制御する。
【解決手段】基地局は、メモリとプロセッサとを備える5G移動体通信システムの基地局であって、5G移動体通信システムに含まれるユーザ装置である第1ユーザ装置に対して特定の電波の送信のスケジューリングを行い、前記ユーザ装置であって前記第1ユーザ装置とは異なる第2ユーザ装置に対して、前記第1ユーザ装置により送信される電力の測定のスケジューリングを行い、前記第2ユーザ装置により測定された電力の測定結果を取得し、共通する上位のノードにより制御されるノードに対し、前記第2ユーザ装置により測定された電力の測定結果を共有し、前記第2ユーザ装置により測定された電力の測定結果を共有したノードから、前記第2ユーザ装置に到来する干渉信号の電力に関する情報を取得する。
【選択図】図3
特許請求の範囲
【請求項1】
メモリとプロセッサとを備える5G移動体通信システムの基地局であって、
5G移動体通信システムに含まれるユーザ装置である第1ユーザ装置に対して特定の電波の送信のスケジューリングを行い、
前記ユーザ装置であって前記第1ユーザ装置とは異なる第2ユーザ装置に対して、前記第1ユーザ装置により送信される電力の測定のスケジューリングを行い、
前記第2ユーザ装置により測定された電力の測定結果を取得し、
共通する上位のノードにより制御されるノードに対し、前記第2ユーザ装置により測定された電力の測定結果を共有し、
前記第2ユーザ装置により測定された電力の測定結果を共有したノードから、前記第2ユーザ装置に到来する干渉信号の電力に関する情報を取得する、
基地局。
続きを表示(約 2,600 文字)
【請求項2】
前記特定の電波の送信とは、SRS(Sounding Reference Signal)の送信である、
請求項1に記載の基地局。
【請求項3】
複数の前記第2ユーザ装置に対して、前記第1ユーザ装置により送信される電力の測定のスケジューリングを行い、
複数の前記第2ユーザ装置によりそれぞれ測定された電力の測定結果を取得し、
共通する上位のノードにより制御されるノードに対し、複数の前記第2ユーザ装置によりそれぞれ測定された電力の測定結果を共有し、
前記第2ユーザ装置により測定された電力の測定結果を共有したノードから、複数の前記第2ユーザ装置にそれぞれ到来する干渉信号の電力に関する情報を取得する、
請求項1又は請求項2に記載の基地局。
【請求項4】
メモリとプロセッサとを備える基地局と、5G移動体通信システムに含まれるユーザ装置である第1ユーザ装置と、前記ユーザ装置であって前記第1ユーザ装置とは異なる第2ユーザ装置とを備える5G移動体通信システムであって、
前記基地局は、
前記第1ユーザ装置に対して特定の電波の送信のスケジューリングを行い、
前記第2ユーザ装置に対して、前記第1ユーザ装置により送信される電力の測定のスケジューリングを行い、
前記第2ユーザ装置により測定された電力の測定結果を取得し、
共通する上位のノードにより制御されるノードに対し、前記第2ユーザ装置により測定された電力の測定結果を共有し、
前記第2ユーザ装置により測定された電力の測定結果を共有したノードから、前記第2ユーザ装置に到来する干渉信号の電力に関する情報を取得する、
5G移動体通信システム。
【請求項5】
メモリとプロセッサとを備える5G移動体通信システムの基地局の制御方法であって、
5G移動体通信システムに含まれるユーザ装置である第1ユーザ装置に対して特定の電波の送信のスケジューリングを行い、
前記ユーザ装置であって前記第1ユーザ装置とは異なる第2ユーザ装置に対して、前記第1ユーザ装置により送信される電力の測定のスケジューリングを行い、
前記第2ユーザ装置により測定された電力の測定結果を取得し、
共通する上位のノードにより制御されるノードに対し、前記第2ユーザ装置により測定された電力の測定結果を共有し、
前記第2ユーザ装置により測定された電力の測定結果を共有したノードから、前記第2ユーザ装置に到来する干渉信号の電力に関する情報を取得する、
基地局の制御方法。
【請求項6】
メモリとプロセッサとを備える5G移動体通信システムの基地局であって、
共通する上位のノードにより制御される第1ノードと第2ノードとを有し、
前記第1ノードから前記第2ノードに対して特定の電波の送信のスケジューリングを行い、
前記第1ノードは、特定の電波の送信を行い、
前記第2ノードは、前記第1ノードにより特定の電波の送信が行われた際の干渉電力を測定し、前記第1ノードに対し、測定した干渉電力を送信し、
前記第1ノードは、前記第2ノードから受信した干渉電力に基づき、干渉電力の算出を行い、
前記第2ノードは、前記第1ノードにより算出された干渉電力に基づきスケジューリングを行う、
基地局。
【請求項7】
前記特定の電波の送信とは、RSSI(Received Signal Strength Indicator)の、基準信号の送信である、
請求項6に記載の基地局。
【請求項8】
複数の前記第2ノードを有し、
前記第1ノードから、複数の前記第2ノードに対して特定の電波の送信のスケジューリングを行い、
前記第1ノードは、特定の電波の送信を行い、
複数の前記第2ノードは、それぞれ、前記第1ノードにより特定の電波の送信が行われた際の干渉電力を測定し、前記第1ノードに対し、測定した干渉電力を送信し、
前記第1ノードは、複数の前記第2ノードそれぞれから受信した干渉電力に基づき、干渉電力の算出を行い、
複数の前記第2ノードは、それぞれ前記第1ノードにより算出された干渉電力に基づきスケジューリングを行う、
請求項6又は請求項7に記載の基地局。
【請求項9】
5G移動体通信システムに含まれるユーザ装置と、メモリとプロセッサとを備える基地局とを備える5G移動体通信システムであって、
メモリとプロセッサとを備える5G移動体通信システムの基地局であって、
共通する上位のノードにより制御される第1ノードと第2ノードとを有し、
前記第1ノードから前記第2ノードに対して特定の電波の送信のスケジューリングを行い、
前記第1ノードは、特定の電波の送信を行い、
前記第2ノードは、前記第1ノードにより特定の電波の送信が行われた際の干渉電力を測定し、前記第1ノードに対し、測定した干渉電力を送信し、
前記第1ノードは、前記第2ノードから受信した干渉電力に基づき、干渉電力の算出を行い、
前記第2ノードは、前記第1ノードにより算出された干渉電力に基づきスケジューリングを行う、
5G移動体通信システム。
【請求項10】
メモリとプロセッサとを備え、共通する上位のノードにより制御される第1ノードと第2ノードとを有する5G移動体通信システムの基地局の制御方法であって、
前記第1ノードから前記第2ノードに対して特定の電波の送信のスケジューリングを行い、
前記第1ノードは、特定の電波の送信を行い、
前記第2ノードは、前記第1ノードにより特定の電波の送信が行われた際の干渉電力を測定し、前記第1ノードに対し、測定した干渉電力を送信し、
前記第1ノードは、前記第2ノードから受信した干渉電力に基づき、干渉電力の算出を行い、
前記第2ノードは、前記第1ノードにより算出された干渉電力に基づきスケジューリングを行う、
基地局の制御方法。
発明の詳細な説明
【技術分野】
【0001】
本発明は、基地局、5G移動体通信システム及び基地局の制御方法に関する。
続きを表示(約 4,600 文字)
【背景技術】
【0002】
5G移動体通信システムにおいて、基地局間の干渉及びユーザ装置間の干渉(以下、クロスリンク干渉(Cross-Link Interference:CLI)と記載する場合がある)の影響を好適に制御することが課題として知られていた。従来、クロスリンク干渉を測定する技術として、特許文献1に記載されたような技術が知られている。
【先行技術文献】
【特許文献】
【0003】
特開2023―052199号公報
【発明の概要】
【発明が解決しようとする課題】
【0004】
クロスリンク干渉のうち、特にユーザ装置間の干渉においては、ユーザ装置の移動により位置関係が変動するため、ユーザ装置間の位置関係の変動に伴い、干渉の特性も大きく変動する。したがって、好適に干渉の影響を制御することができないといった課題があった。例えば、基地局がUL(UpLink)及びDL(DownLink)のスケジューリングによって、ユーザ装置間の干渉の影響を制御するためには、離接したユーザ装置間の信号電力を測定することを要する。しかしながら、現在は、ユーザ装置間の干渉電力を高精度に測定し、基地局にフィードバックする手段がないといった課題があった。
【0005】
本発明は、このような事情を考慮してなされたものであり、その目的は、クロスリンク干渉の影響を好適に制御することが可能な基地局、5G移動体通信システム及び基地局の制御方法を提供することにある。
【課題を解決するための手段】
【0006】
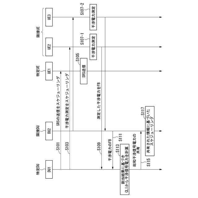
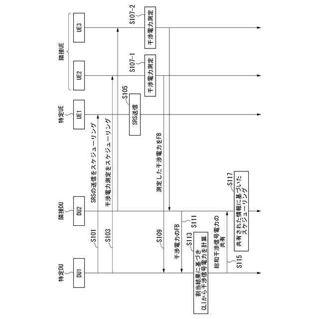
(1)本発明の一態様は、メモリとプロセッサとを備える5G移動体通信システムの基地局であって、5G移動体通信システムに含まれるユーザ装置である第1ユーザ装置に対して特定の電波の送信のスケジューリングを行い、前記ユーザ装置であって前記第1ユーザ装置とは異なる第2ユーザ装置に対して、前記第1ユーザ装置により送信される電力の測定のスケジューリングを行い、前記第2ユーザ装置により測定された電力の測定結果を取得し、共通する上位のノードにより制御されるノードに対し、前記第2ユーザ装置により測定された電力の測定結果を共有し、前記第2ユーザ装置により測定された電力の測定結果を共有したノードから、前記第2ユーザ装置に到来する干渉信号の電力に関する情報を取得する基地局である。
(2)また、本発明の一態様は、上述した(1)の基地局において、前記特定の電波の送信とは、SRS(Sounding Reference Signal)の送信である。
(3)また、本発明の一態様は、上述した(1)又は(2)の基地局において、複数の前記第2ユーザ装置に対して、前記第1ユーザ装置により送信される電力の測定のスケジューリングを行い、複数の前記第2ユーザ装置によりそれぞれ測定された電力の測定結果を取得し、共通する上位のノードにより制御されるノードに対し、複数の前記第2ユーザ装置によりそれぞれ測定された電力の測定結果を共有し、前記第2ユーザ装置により測定された電力の測定結果を共有したノードから、複数の前記第2ユーザ装置にそれぞれ到来する干渉信号の電力に関する情報を取得するものである。
(4)また、本発明の一態様は、メモリとプロセッサとを備える基地局と、5G移動体通信システムに含まれるユーザ装置である第1ユーザ装置と、前記ユーザ装置であって前記第1ユーザ装置とは異なる第2ユーザ装置とを備える5G移動体通信システムであって、前記基地局は、前記第1ユーザ装置に対して特定の電波の送信のスケジューリングを行い、前記第2ユーザ装置に対して、前記第1ユーザ装置により送信される電力の測定のスケジューリングを行い、前記第2ユーザ装置により測定された電力の測定結果を取得し、共通する上位のノードにより制御されるノードに対し、前記第2ユーザ装置により測定された電力の測定結果を共有し、前記第2ユーザ装置により測定された電力の測定結果を共有したノードから、前記第2ユーザ装置に到来する干渉信号の電力に関する情報を取得する、5G移動体通信システムである。
(5)また、本発明の一態様は、メモリとプロセッサとを備える5G移動体通信システムの基地局の制御方法であって、5G移動体通信システムに含まれるユーザ装置である第1ユーザ装置に対して特定の電波の送信のスケジューリングを行い、前記ユーザ装置であって前記第1ユーザ装置とは異なる第2ユーザ装置に対して、前記第1ユーザ装置により送信される電力の測定のスケジューリングを行い、前記第2ユーザ装置により測定された電力の測定結果を取得し、共通する上位のノードにより制御されるノードに対し、前記第2ユーザ装置により測定された電力の測定結果を共有し、前記第2ユーザ装置により測定された電力の測定結果を共有したノードから、前記第2ユーザ装置に到来する干渉信号の電力に関する情報を取得する、基地局の制御方法である。
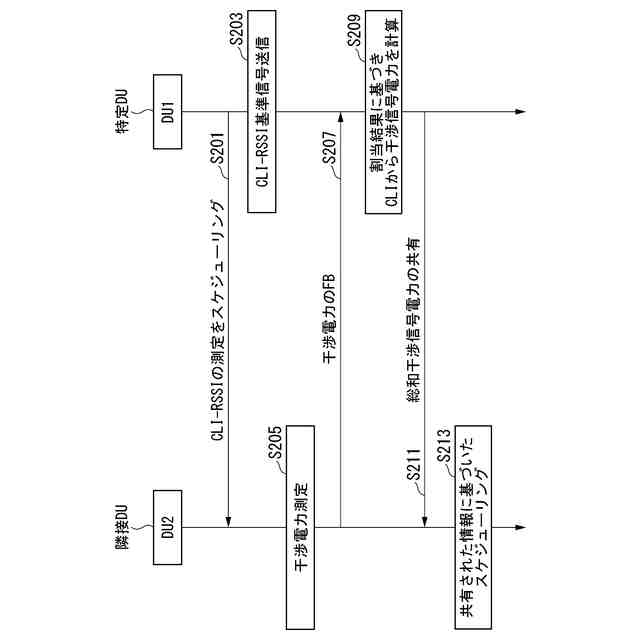
(6)また、本発明の一態様は、メモリとプロセッサとを備える5G移動体通信システムの基地局であって、共通する上位のノードにより制御される第1ノードと第2ノードとを有し、前記第1ノードから前記第2ノードに対して特定の電波の送信のスケジューリングを行い、前記第1ノードは、特定の電波の送信を行い、前記第2ノードは、前記第1ノードにより特定の電波の送信が行われた際の干渉電力を測定し、前記第1ノードに対し、測定した干渉電力を送信し、前記第1ノードは、前記第2ノードから受信した干渉電力に基づき、干渉電力の算出を行い、前記第2ノードは、前記第1ノードにより算出された干渉電力に基づきスケジューリングを行う、基地局である。
(7)また、本発明の一態様は、上述した(6)の基地局において、前記特定の電波の送信とは、RSSI(Received Signal Strength Indicator)の、基準信号の送信である。
(8)また、本発明の一態様は、上述した(6)又は(7)の基地局において、複数の前記第2ノードを有し、前記第1ノードから、複数の前記第2ノードに対して特定の電波の送信のスケジューリングを行い、前記第1ノードは、特定の電波の送信を行い、複数の前記第2ノードは、それぞれ、前記第1ノードにより特定の電波の送信が行われた際の干渉電力を測定し、前記第1ノードに対し、測定した干渉電力を送信し、前記第1ノードは、複数の前記第2ノードそれぞれから受信した干渉電力に基づき、干渉電力の算出を行い、複数の前記第2ノードは、それぞれ前記第1ノードにより算出された干渉電力に基づきスケジューリングを行うものである。
(9)また、本発明の一態様は、5G移動体通信システムに含まれるユーザ装置と、メモリとプロセッサとを備える基地局とを備える5G移動体通信システムであって、メモリとプロセッサとを備える5G移動体通信システムの基地局であって、共通する上位のノードにより制御される第1ノードと第2ノードとを有し、前記第1ノードから前記第2ノードに対して特定の電波の送信のスケジューリングを行い、前記第1ノードは、特定の電波の送信を行い、前記第2ノードは、前記第1ノードにより特定の電波の送信が行われた際の干渉電力を測定し、前記第1ノードに対し、測定した干渉電力を送信し、前記第1ノードは、前記第2ノードから受信した干渉電力に基づき、干渉電力の算出を行い、前記第2ノードは、前記第1ノードにより算出された干渉電力に基づきスケジューリングを行う、5G移動体通信システムである。
(10)また、本発明の一態様は、メモリとプロセッサとを備え、共通する上位のノードにより制御される第1ノードと第2ノードとを有する5G移動体通信システムの基地局の制御方法であって、前記第1ノードから前記第2ノードに対して特定の電波の送信のスケジューリングを行い、前記第1ノードは、特定の電波の送信を行い、前記第2ノードは、前記第1ノードにより特定の電波の送信が行われた際の干渉電力を測定し、前記第1ノードに対し、測定した干渉電力を送信し、前記第1ノードは、前記第2ノードから受信した干渉電力に基づき、干渉電力の算出を行い、前記第2ノードは、前記第1ノードにより算出された干渉電力に基づきスケジューリングを行う、基地局の制御方法である。
【発明の効果】
【0007】
本発明によれば、クロスリンク干渉の影響を好適に制御することが可能な基地局、5G移動体通信システム及び基地局の制御方法を提供することができるという効果が得られる。
【図面の簡単な説明】
【0008】
第1の実施形態に係る5G移動体通信システムの構成と、クロスリンク干渉について説明するための図である。
第1の実施形態に係る5G移動体通信システムの機能構成を示す機能構成図である。
第1の実施形態に係る5G移動体通信システムにおけるアップリンク時のクロスリンク干渉の影響を制御するための処理を示すシーケンス図である。
第1の実施形態に係る5G移動体通信システムにおけるダウンリンク時のクロスリンク干渉の影響を制御するための処理を示すシーケンス図である。
第2の実施形態に係るユーザ装置のビームフォーミングの一例について説明するための図である。
第2の実施形態に係るユーザ装置のビームフォーミングの結果、干渉が測定されたビームのIDを示す図である。
第2の実施形態に係る干渉ビームの測定結果を、基地局からユーザ装置に共有する場合のシーケンス図である。
第2の実施形態に係る干渉ビームの測定結果を、ユーザ装置間で共有する場合のシーケンス図である。
本実施形態に係る基地局又はユーザ装置の内部構成の一例を示すブロック図である。
【発明を実施するための形態】
【0009】
本発明の態様に係る基地局、5G移動体通信システム及び基地局の制御方法について、好適な実施の形態を掲げ、添付の図面を参照しながら以下、詳細に説明する。なお、本発明の態様は、これらの実施の形態に限定されるものではなく、多様な変更または改良を加えたものも含まれる。つまり、以下に記載した構成要素には、当業者が容易に想定できるもの、実質的に同一のものが含まれ、以下に記載した構成要素は適宜組み合わせることが可能である。また、本発明の要旨を逸脱しない範囲で構成要素の種々の省略、置換または変更を行うことができる。また、以下の図面においては、各構成をわかりやすくするために、各構造における縮尺および数等を、実際の構造における縮尺および数等と異ならせる場合がある。
【0010】
[第1の実施形態]
まず、図1から図4を参照しながら、第1の実施形態について説明する。
(【0011】以降は省略されています)
この特許をJ-PlatPat(特許庁公式サイト)で参照する
関連特許
KDDI株式会社
光増幅器
21日前
KDDI株式会社
光増幅器
21日前
KDDI株式会社
光増幅器
8日前
KDDI株式会社
光増幅器
8日前
KDDI株式会社
光接続ノード
8日前
KDDI株式会社
緊急ネットワーク分離方法
9日前
KDDI株式会社
基地局及び基地局の制御方法
今日
KDDI株式会社
情報処理装置及び情報処理方法
7日前
KDDI株式会社
制御装置、方法及びプログラム
1日前
KDDI株式会社
情報処理装置及び情報処理方法
7日前
KDDI株式会社
基地局装置およびその通信方法
2日前
KDDI株式会社
情報処理装置及び情報処理方法
1日前
KDDI株式会社
情報処理装置及び情報処理方法
1日前
KDDI株式会社
情報処理装置及び情報処理方法
7日前
KDDI株式会社
情報処理装置及び情報処理方法
2日前
KDDI株式会社
情報処理装置及び情報処理方法
1日前
KDDI株式会社
情報処理装置及び情報処理方法
今日
KDDI株式会社
情報処理装置及び情報処理方法
21日前
KDDI株式会社
情報処理装置及び情報処理方法
21日前
KDDI株式会社
通信制御システム及び通信制御方法
15日前
KDDI株式会社
通信制御システム及び通信制御方法
15日前
KDDI株式会社
通信制御システム及び通信制御方法
15日前
KDDI株式会社
情報処理装置、方法及びプログラム
今日
KDDI株式会社
通信制御システム及び通信制御方法
15日前
KDDI株式会社
通信装置、無線デバイス及びプログラム
11日前
KDDI株式会社
飛行体、情報処理装置及び情報処理方法
11日前
KDDI株式会社
中継装置、中継方法及び中継プログラム
1か月前
KDDI株式会社
認証装置、認証方法及び認証プログラム
1か月前
KDDI株式会社
基地局装置、端末装置及び無線通信方法
今日
KDDI株式会社
情報処理装置、学習装置及びプログラム
1日前
KDDI株式会社
情報処理装置、情報処理方法及びプログラム
22日前
KDDI株式会社
情報処理装置、情報処理方法及びプログラム
1日前
KDDI株式会社
プログラム、情報処理端末及び情報処理方法
1日前
KDDI株式会社
情報処理装置、情報処理方法及びプログラム
1日前
KDDI株式会社
情報処理装置、情報処理方法及びプログラム
11日前
KDDI株式会社
情報処理装置、情報処理方法及びプログラム
1日前
続きを見る
他の特許を見る