TOP
|
特許
|
意匠
|
商標
特許ウォッチ
Twitter
他の特許を見る
10個以上の画像は省略されています。
公開番号
2025149074
公報種別
公開特許公報(A)
公開日
2025-10-08
出願番号
2024049511
出願日
2024-03-26
発明の名称
ひずみセンサ付き軸受装置、ひずみセンサ付き外輪間座、および工作機械用スピンドル装置
出願人
NTN株式会社
代理人
個人
,
個人
,
個人
主分類
F16C
19/52 20060101AFI20251001BHJP(機械要素または単位;機械または装置の効果的機能を生じ維持するための一般的手段)
要約
【課題】予圧荷重の大きさを精度よく検出することが可能なひずみセンサ付き軸受装置を提供する。
【解決手段】予圧ナット30から付与される予圧荷重が、第1内輪34、第1転動体35、第1外輪33、外輪間座26、第2外輪38、第2転動体40、第2内輪39を通って伝達するように構成されているひずみセンサ付き軸受装置1において、ひずみセンサが、外輪間座26の軸方向中央に配置された中央ひずみセンサ28と、外輪間座26の軸方向中央から軸方向にオフセットして配置されたオフセットひずみセンサ29とで構成されている。
【選択図】図2
特許請求の範囲
【請求項1】
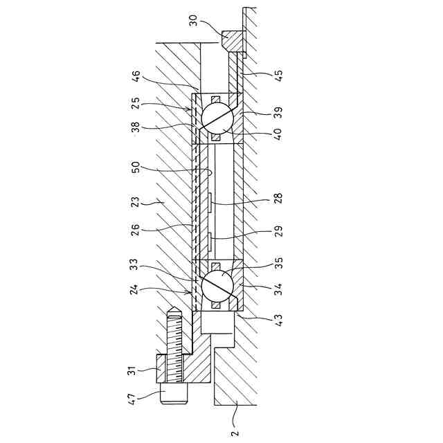
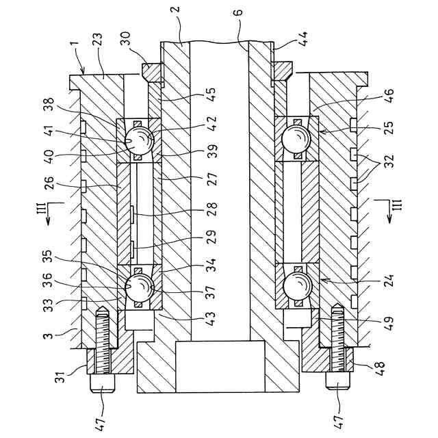
軸方向に間隔をおいて配置される第1軸受(24)および第2軸受(25)と、前記第1軸受(24)と前記第2軸受(25)の間に設けられる筒状の外輪間座(26)と、前記外輪間座(26)に取り付けられたひずみセンサとを有し、
前記第1軸受(24)は、第1外輪(33)と、第1内輪(34)と、前記第1外輪(33)と前記第1内輪(34)の間に組み込まれた複数の第1転動体(35)とを有し、
前記第2軸受(25)は、第2外輪(38)と、第2内輪(39)と、前記第2外輪(38)と前記第2内輪(39)の間に組み込まれた複数の第2転動体(40)とを有し、
前記第1内輪(34)の前記第2内輪(39)の側とは反対側の軸方向端面と、前記第2内輪(39)の前記第1内輪(34)の側とは反対側の軸方向端面との間に予圧荷重を付与する予圧付与部(30)と、
前記第1外輪(33)の前記第2外輪(38)の側とは反対側の軸方向端面と、前記第2外輪(38)の前記第1外輪(33)の側とは反対側の軸方向端面との間に外輪固定荷重を付与する外輪押圧部(31)とを更に有するひずみセンサ付き軸受装置において、
前記ひずみセンサが、前記外輪間座(26)の軸方向中央に配置された中央ひずみセンサ(28)と、前記外輪間座(26)の軸方向中央から軸方向にオフセットして配置されたオフセットひずみセンサ(29)とで構成されていることを特徴とするひずみセンサ付き軸受装置。
続きを表示(約 1,000 文字)
【請求項2】
前記中央ひずみセンサ(28)は、周方向に間隔をおいて3つ以上設けられ、
前記オフセットひずみセンサ(29)も、周方向に間隔をおいて3つ以上設けられている請求項1に記載のひずみセンサ付き軸受装置。
【請求項3】
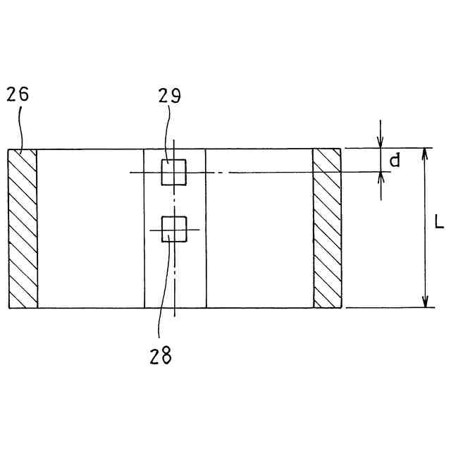
前記オフセットひずみセンサ(29)の位置から前記外輪間座(26)の軸方向の端までの軸方向距離(d)が、前記外輪間座(26)の全長(L)の1/4以下に設定されている請求項1または2に記載のひずみセンサ付き軸受装置。
【請求項4】
前記第1軸受(24)および前記第2軸受(25)が、背面組み合わせの関係となるように設けられた一対のアンギュラ玉軸受である請求項1または2に記載のひずみセンサ付き軸受装置。
【請求項5】
前記中央ひずみセンサ(28)の出力と前記オフセットひずみセンサ(29)の出力とに基づいて前記予圧荷重の大きさを演算する予圧演算処理部(51)を有する請求項1または2に記載のひずみセンサ付き軸受装置。
【請求項6】
軸方向に間隔をおいて配置される第1軸受(24)と第2軸受(25)の間に設けられる筒状の外輪間座(26)と、前記外輪間座(26)に取り付けられたひずみセンサとを有し、
前記ひずみセンサが、前記外輪間座(26)の軸方向中央に配置された中央ひずみセンサ(28)と、前記外輪間座(26)の軸方向中央から軸方向にオフセットして配置されたオフセットひずみセンサ(29)とで構成されているひずみセンサ付き外輪間座。
【請求項7】
前記中央ひずみセンサ(28)は、周方向に間隔をおいて3つ以上設けられ、
前記オフセットひずみセンサ(29)も、周方向に間隔をおいて3つ以上設けられている請求項6に記載のひずみセンサ付き外輪間座。
【請求項8】
前記オフセットひずみセンサ(29)の位置から前記外輪間座(26)の軸方向の端までの軸方向距離(d)が、前記外輪間座(26)の全長(L)の1/4以下に設定されている請求項6または7に記載のひずみセンサ付き外輪間座。
【請求項9】
請求項1または2に記載のひずみセンサ付き軸受装置(1)と、
前記ひずみセンサ付き軸受装置(1)で回転可能に支持される工作機械の主軸(2)と、
前記主軸(2)を回転駆動するモータ(4)と、を有する工作機械用スピンドル装置。
発明の詳細な説明
【技術分野】
【0001】
この発明は、ひずみセンサ付き軸受装置、そのひずみセンサ付き軸受装置に用いられるひずみセンサ付き外輪間座、およびそのひずみセンサ付き軸受装置を使用した工作機械用スピンドル装置に関する。
続きを表示(約 1,100 文字)
【背景技術】
【0002】
マシニングセンタや旋盤等の工作機械やその他の産業機械では、工具や被加工物等の対象物が取り付けられる回転軸を回転可能に支持するスピンドル装置が用いられる。このようなスピンドル装置の使用分野において、近年、省人化や無人化のための状態監視機能の強化が求められるようになっている。
【0003】
そこで、本願の発明者らは、状態監視機能の強化のニーズに応えるため、ひずみセンサ付き軸受装置を既に提案している(特許文献1)。
【0004】
特許文献1のひずみセンサ付き軸受装置は、軸方向に間隔をおいて配置される第1軸受および第2軸受と、第1軸受と第2軸受の間に設けられる筒状の外輪間座と、外輪間座に取り付けられたひずみセンサとを有し、このひずみセンサで予圧荷重の大きさを監視することを可能としている。
【0005】
ここで、第1軸受は、第1外輪と、第1内輪と、第1外輪と第1内輪の間に組み込まれた複数の第1転動体とを有する。同様に、第2軸受は、第2外輪と、第2内輪と、第2外輪と第2内輪の間に組み込まれた複数の第2転動体とを有する。外輪間座は、第1外輪と第2外輪の間に軸方向に挟み込まれて配置されている。
【0006】
第1内輪の第2内輪の側とは反対側の軸方向端面と、第2内輪の第1内輪の側とは反対側の軸方向端面との間には、予圧ナットの締め込みにより予圧が付与されている。第1軸受と第2軸受は、予圧ナットの締め込みによる予圧荷重が、第1内輪、第1転動体、第1外輪、外輪間座、第2外輪、第2転動体、第2内輪を通って伝達するように構成されている。第1軸受と第2軸受は、背面組み合わせの関係となるように設けられた一対のアンギュラ玉軸受である。
【0007】
ひずみセンサは、外輪間座の外周(または内周)に取り付けられ、このひずみセンサの出力に基づいて、第1軸受および第2軸受に加わる予圧荷重の大きさを検出することが可能となっている。
【0008】
また、第1外輪と第2外輪は、中空円筒状の軸受支持筒に組み込まれ、その軸受支持筒の軸方向端面にボルトで取り付けられる蓋部材によって、軸方向に押圧して固定されている。
【先行技術文献】
【特許文献】
【0009】
特開2021-014886号公報
【発明の概要】
【発明が解決しようとする課題】
【0010】
ところで、特許文献1のひずみセンサ付き軸受装置において、外輪間座には、予圧ナットによる予圧荷重と、蓋部材による外輪固定荷重の2種類の荷重が同時に加わる。
(【0011】以降は省略されています)
この特許をJ-PlatPat(特許庁公式サイト)で参照する
関連特許
NTN株式会社
基板
17日前
NTN株式会社
玉軸受
18日前
NTN株式会社
玉軸受
25日前
NTN株式会社
玉軸受
26日前
NTN株式会社
ハンド
12日前
NTN株式会社
玉軸受
4日前
NTN株式会社
密封装置
1か月前
NTN株式会社
軸受装置
24日前
NTN株式会社
作業装置
10日前
NTN株式会社
密封装置
10日前
NTN株式会社
軸受装置
4日前
NTN株式会社
把持装置
12日前
NTN株式会社
把持装置
12日前
NTN株式会社
軸受装置
4日前
NTN株式会社
軸受装置
4日前
NTN株式会社
焼結軸受
4日前
NTN株式会社
軸受装置
4日前
NTN株式会社
転がり軸受
12日前
NTN株式会社
転がり軸受
1か月前
NTN株式会社
荷積込装置
5日前
NTN株式会社
深溝玉軸受
1か月前
NTN株式会社
転がり軸受
5日前
NTN株式会社
転がり軸受
18日前
NTN株式会社
転がり軸受
4日前
NTN株式会社
等速自在継手
24日前
NTN株式会社
回転伝達装置
10日前
NTN株式会社
基板取付構造
24日前
NTN株式会社
シール付軸受
10日前
NTN株式会社
状態監視装置
11日前
NTN株式会社
軸受用保持器
1か月前
NTN株式会社
球面滑り軸受
1か月前
NTN株式会社
円筒ころ軸受
26日前
NTN株式会社
回転伝達装置
5日前
NTN株式会社
回転伝達装置
5日前
NTN株式会社
保持器付きころ
14日前
NTN株式会社
車輪用軸受装置
26日前
続きを見る
他の特許を見る