TOP
|
特許
|
意匠
|
商標
特許ウォッチ
Twitter
他の特許を見る
公開番号
2025149021
公報種別
公開特許公報(A)
公開日
2025-10-08
出願番号
2024049447
出願日
2024-03-26
発明の名称
駆動回路及び電気音響変換システム
出願人
ミツミ電機株式会社
代理人
個人
,
個人
主分類
H04R
3/00 20060101AFI20251001BHJP(電気通信技術)
要約
【課題】圧電素子の劣化を抑制することが可能な駆動回路及を提供する。
【解決手段】駆動回路10は、入力信号を増幅し、増幅された信号を、圧電素子21により駆動されるMEMSスピーカー20の前記圧電素子21に駆動信号として供給する増幅器14と、前記駆動信号の電圧の絶対値の最小値が正の所定電圧以上となるようなオフセットを生成するオフセット生成部16a~16cと、を備える。
【選択図】図1
特許請求の範囲
【請求項1】
入力信号を増幅し、増幅された信号を、圧電素子により駆動されるMEMSスピーカーの前記圧電素子に駆動信号として供給する増幅器と、
前記駆動信号の電圧の絶対値の最小値が正の所定電圧以上となるようなオフセットを生成するオフセット生成部と、
を備える駆動回路。
続きを表示(約 530 文字)
【請求項2】
前記圧電素子は、圧電体と、前記圧電体に電圧を印加する第1電極及び第2電極と、を備え、
前記駆動信号は、前記第1電極に対し前記第2電極が正の電圧となるように前記圧電素子に供給される請求項1に記載の駆動回路。
【請求項3】
前記圧電体は、前記第1電極に対し前記第2電極の方が正に自発分極されている請求項2に記載の駆動回路。
【請求項4】
前記オフセット生成部は、前記増幅器が増幅した後の前記駆動信号に前記オフセットを加える請求項1から3のいずれか一項に記載の駆動回路。
【請求項5】
前記オフセット生成部は、前記増幅器が増幅する前の前記入力信号にオフセットを加える請求項1から3のいずれか一項に記載の駆動回路。
【請求項6】
デジタル信号をアナログ信号である前記入力信号に変換するデジタルアナログ変換器を備え、
前記オフセット生成部は、前記デジタル信号にオフセットを加える請求項1から3のいずれか一項に記載の駆動回路。
【請求項7】
請求項1または請求項2に記載の駆動回路と、
前記MEMSスピーカーと、
を備える電気音響変換システム。
発明の詳細な説明
【技術分野】
【0001】
本開示は、駆動回路及び電気音響変換システムに関する。
続きを表示(約 1,400 文字)
【背景技術】
【0002】
電気音響変換器として、MEMS(Micro Electro Mechanical Systems)を用いたスピーカーが知られている。MEMSの駆動部として圧電素子を用いることが知られている(例えば、特許文献1)。
【先行技術文献】
【特許文献】
【0003】
特許第7157332号公報
【発明の概要】
【発明が解決しようとする課題】
【0004】
圧電素子の圧電体に直流電圧を印加することで、圧電体が分極する。圧電体に印加された直流電圧を印加した後も圧電体は分極状態を維持する。このため、圧電体の圧電特性を高く維持することができる。圧電体に分極とは逆方向の電圧が加わると、分極が消失した状態となる、いわゆる脱分極が生じる。圧電体の脱分極を抑制するために、圧電素子には正の駆動信号を供給する。しかし、駆動信号にノイズ等が加わると、圧電素子に負の電圧が加わり圧電素子が劣化する可能性がある。
【0005】
本開示は、圧電素子の劣化を抑制することが可能な駆動回路及び電気音響変換システムを提供する。
【課題を解決するための手段】
【0006】
本開示の実施形態によれば、駆動回路は、入力信号を増幅し、増幅された信号を、圧電素子により駆動されるMEMSスピーカーの前記圧電素子に駆動信号として供給する増幅器と、前記駆動信号の電圧の絶対値の最小値が正の所定電圧以上となるようなオフセットを生成するオフセット生成部と、を備える。
【発明の効果】
【0007】
本開示によれば、圧電素子の劣化を抑制できる。
【図面の簡単な説明】
【0008】
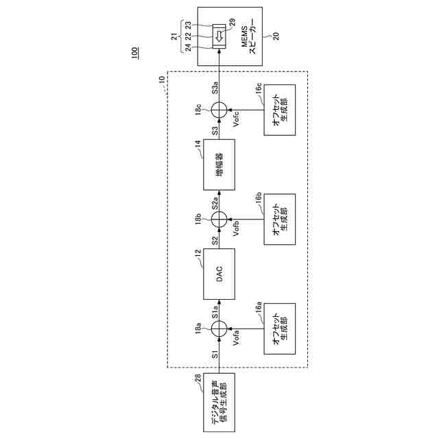
図1は、第1実施形態に係る電気音響変換システムのブロック図である。
図2は、第1実施形態におけるMEMSスピーカーの平面図である。
図3(a)及び図3(b)は、比較構成における駆動信号の時間に対する電圧を示す図、図3(c)は、第1実施形態における駆動信号の時間に対する電圧を示す図である。
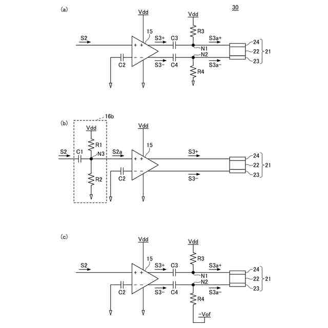
図4(a)から図4(c)は、それぞれ回路30、回路31及び回路32の回路図である。
図5(a)から図5(c)は、それぞれ回路30、回路31及び回路32における時間に対する電圧を示す図である。
【発明を実施するための形態】
【0009】
以下、図面を参照して本開示を実施するための形態について詳細に説明する。下記の実施形態は、発明の技術思想を具体化するための例示であり、本発明を記載された構成や数値に限定するものではない。なお、各図面において、同一構成部分には同一符号を付し、重複した説明を適宜省略する場合がある。各図面が示す各部材の大きさ、位置関係等は、発明の理解を容易にするために誇張して描かれている場合がある。
【0010】
(第1実施形態)
図1は、第1実施形態に係る電気音響変換システムのブロック図である。第1実施形態に係る電気音響変換システム100は、駆動回路10及びMEMSスピーカー20を備えている。電気音響変換システム100には、デジタル音声信号生成部28から音声デジタル信号S1が入力する。
(【0011】以降は省略されています)
この特許をJ-PlatPat(特許庁公式サイト)で参照する
関連特許
個人
監視カメラシステム
3日前
キーコム株式会社
光伝送線路
4日前
WHISMR合同会社
収音装置
1か月前
個人
スキャン式車載用撮像装置
3日前
サクサ株式会社
中継装置
10日前
サクサ株式会社
中継装置
9日前
アイホン株式会社
電気機器
1か月前
キヤノン株式会社
撮像装置
1か月前
株式会社リコー
画像形成装置
1か月前
個人
ワイヤレスイヤホン対応耳掛け
29日前
キヤノン電子株式会社
画像読取装置
1か月前
株式会社リコー
画像形成装置
1か月前
キヤノン電子株式会社
画像読取装置
2日前
サクサ株式会社
無線通信装置
9日前
サクサ株式会社
無線システム
8日前
サクサ株式会社
無線通信装置
9日前
キヤノン株式会社
撮像システム
1か月前
個人
発信機及び発信方法
8日前
日本電気株式会社
海底分岐装置
4日前
株式会社JVCケンウッド
通信システム
15日前
国立大学法人電気通信大学
小型光学装置
1か月前
株式会社NTTドコモ
端末
3日前
株式会社NTTドコモ
端末
4日前
シャープ株式会社
端末装置
1日前
沖電気工業株式会社
画像形成装置
11日前
株式会社松平商会
携帯機器カバー
1か月前
株式会社NTTドコモ
端末
3日前
パテントフレア株式会社
超高速電波通信
1か月前
株式会社NTTドコモ
端末
3日前
株式会社小糸製作所
画像照射装置
1か月前
大日本印刷株式会社
写真撮影装置
1か月前
キヤノン電子株式会社
画像処理システム
2日前
有限会社フィデリックス
マイクロフォン
15日前
沖電気工業株式会社
画像形成装置
19日前
株式会社NTTドコモ
端末
4日前
日本無線株式会社
無線通信システム
2か月前
続きを見る
他の特許を見る