TOP
|
特許
|
意匠
|
商標
特許ウォッチ
Twitter
他の特許を見る
10個以上の画像は省略されています。
公開番号
2025148710
公報種別
公開特許公報(A)
公開日
2025-10-08
出願番号
2024048965
出願日
2024-03-26
発明の名称
液体吐出装置
出願人
ブラザー工業株式会社
代理人
弁理士法人ATEN
主分類
B41J
2/165 20060101AFI20251001BHJP(印刷;線画機;タイプライター;スタンプ)
要約
【課題】液体吐出装置において、洗浄液が付着したワイパでノズル面をワイプすることができるようにする。
【解決手段】ワイパユニット53は、第1ワイパ81と第2ワイパ82とを有する。ワイパユニット53がワイプ位置に位置している状態で、第1ワイパ81は、左側の面の上端部が傾斜面81Aである。また、ワイパユニット53がワイプ位置に位置している状態で、第1ワイパ81の左側の面の、傾斜面81Aよりも下方に位置する部分に左側に突出した突出部81Bが形成されている。また、ワイパユニット53がワイプ位置に位置している状態で、第1ワイパ81の左側の面の、突出部81Bよりも下方に位置する部分に右側に凹んだ凹部81Cが形成されている。
【選択図】図7
特許請求の範囲
【請求項1】
ノズル面と、
前記ノズル面に沿った第1方向に延び、前記ノズル面をワイプする第1ワイパと、
前記第1ワイパの下方に配置され、洗浄液を貯留するまたは前記洗浄液が流れる洗浄液槽と、
前記第1方向に延びる回動軸を中心に前記第1ワイパを回動させて、前記第1ワイパを、前記ノズル面と接触可能なワイプ位置と、前記洗浄液槽内の前記洗浄液に浸漬する浸漬位置とに変位させるワイパ回動機構と、
前記第1方向に延び、前記第1ワイパが前記ワイプ位置に位置している状態で、前記第1ワイパの、前記ノズル面に沿った方向であって前記第1方向と交差する第2方向の一方側に配置され、前記ノズル面をワイプする第2ワイパと、
前記第1ワイパが前記ワイプ位置に位置している状態で、前記ノズル面を前記第2方向の前記一方側に移動させる、または、前記第1ワイパおよび前記第2ワイパを前記第2方向の他方側に移動させる移動機構と、
前記第1ワイパの、前記第1ワイパが前記ワイプ位置に位置している状態での上端部に前記洗浄液を保持させる洗浄液保持部と、を備えていることを特徴とする液体吐出装置。
続きを表示(約 970 文字)
【請求項2】
前記洗浄液保持部が、前記第1ワイパの、前記第1ワイパが前記ワイプ位置に位置している状態での前記第2方向における前記他方側に設けられていることを特徴とする請求項1に記載の液体吐出装置。
【請求項3】
前記洗浄液保持部は、前記第1ワイパの表面であって、前記第1ワイパが前記ワイプ位置に位置している状態で上方から下方に向かうほど前記第2方向の前記一方側から前記他方側に向かう傾斜面、を有することを特徴とする請求項2に記載の液体吐出装置。
【請求項4】
前記第1ワイパが前記ワイプ位置に位置している状態で、前記傾斜面の下端が前記ノズル面よりも下方に位置していることを特徴とする請求項3に記載の液体吐出装置。
【請求項5】
前記洗浄液保持部は、前記第1ワイパの、前記第1ワイパが前記ワイプ位置に位置している状態での前記第2方向における前記他方側の面の、前記第1ワイパの上端よりも下方に位置する部分から前記第2方向の前記他方側に突出した突出部、を有することを特徴とする請求項2に記載の液体吐出装置。
【請求項6】
前記突出部が、前記第1方向において前記第1ワイパの全長にわたって連続的に設けられていることを特徴とする請求項5に記載の液体吐出装置。
【請求項7】
前記第1ワイパの、前記第1ワイパが前記ワイプ位置に位置している状態での前記突出部よりも下方の部分に、前記第1ワイパが前記ワイプ位置に位置している状態での前記第2方向の前記一方側に凹んだ凹部が設けられていることを特徴とする請求項5に記載の液体吐出装置。
【請求項8】
前記凹部が、前記第1方向において前記第1ワイパの全長にわたって連続的に設けられていることを特徴とする請求項7に記載の液体吐出装置。
【請求項9】
前記第1ワイパが前記ワイプ位置に位置している状態で、前記突出部が前記ノズル面よりも下方に位置していることを特徴とする請求項5に記載の液体吐出装置。
【請求項10】
前記第1ワイパは、前記第2ワイパよりも硬度の低い材質によって形成されていることを特徴する請求項1に記載の液体吐出装置。
(【請求項11】以降は省略されています)
発明の詳細な説明
【技術分野】
【0001】
本発明は、ノズルから液体を吐出する液体吐出装置に関する。
続きを表示(約 2,600 文字)
【背景技術】
【0002】
ノズルから液体を吐出する液体吐出装置の一例として、特許文献1には、ノズルからインクを吐出して記録媒体に画像を印刷するプリンタが記載されている。特許文献1に記載のプリンタは、ノズルが形成されたノズル面に付着したインクを除去するためのワイパと、ワイパの下方に配置された洗浄液槽とを有する。ワイパは、ワイパ移動機構によって回転軸を中心に回転可能である。上記回転軸を中心にワイパを回転させることで、ワイパを、ノズル面と接触可能な位置、洗浄液槽内の洗浄液に浸漬される位置、および、ワイパに付着した洗浄液を吸収するためのスクレイパーと接触する位置に変位させることができる。また、特許文献1のプリンタにおいて、洗浄液は、ワイパでノズル面をワイプしたときにワイパに付着したインク等を洗浄するためのものであり、ワイパでノズル面をワイプする前に、ワイパをスクレイパーに接触させて、ワイパから洗浄液を除去する。
【先行技術文献】
【特許文献】
【0003】
特開2019-198988号公報
【発明の概要】
【発明が解決しようとする課題】
【0004】
ここで、特許文献1のプリンタでは、上述したように、ワイパでノズル面をワイプする前に、ワイパから洗浄液を除去している。一方で、特許文献1のような、ワイパと、ワイパを浸漬させる洗浄液を貯留する洗浄液槽を備えたプリンタにおいて、ノズル面に付着した汚れなどを効率よく除去するために、洗浄液が付着したワイパでノズル面をワイプすることが考えられる。しかしながら、この場合、ワイパがノズル面をワイプするための位置に位置している状態で、ワイパの表面に付着した洗浄液が下方に流れやすく、ノズル面と接触する部分に洗浄液が付着していないワイパでノズル面をワイプすることになってしまう虞がある。
【0005】
本発明の目的は、洗浄液が付着したワイパでノズル面をワイプすることが可能な液体吐出装置を提供することである。
【課題を解決するための手段】
【0006】
本発明の液体吐出装置は、ノズル面と、前記ノズル面に沿った第1方向に延び、前記ノズル面をワイプする第1ワイパと、前記第1ワイパの下方に配置され、洗浄液を貯留するまたは前記洗浄液が流れる洗浄液槽と、前記第1方向に延びる回動軸を中心に前記第1ワイパを回動させて、前記第1ワイパを、前記ノズル面と接触可能なワイプ位置と、前記洗浄液槽内の前記洗浄液に浸漬する浸漬位置とに変位させるワイパ回動機構と、前記第1方向に延び、前記第1ワイパが前記ワイプ位置に位置している状態で、前記第1ワイパの、前記ノズル面に沿った方向であって前記第1方向と交差する第2方向の一方側に配置され、前記ノズル面をワイプする第2ワイパと、前記第1ワイパが前記ワイプ位置に位置している状態で、前記ノズル面を前記第2方向の前記一方側に移動させる、または、前記第1ワイパおよび前記第2ワイパを前記第2方向の他方側に移動させる移動機構と、前記第1ワイパの、前記第1ワイパが前記ワイプ位置に位置している状態での上端部に前記洗浄液を保持させる洗浄液保持部と、を備えている。
【発明の効果】
【0007】
本発明によると、第1ワイパの、第1ワイパがワイプ位置に位置している状態での上端部に洗浄液を保持させる洗浄液保持部を備えていることにより、洗浄液が付着した第1ワイパでノズル面をワイプすることができる。また、洗浄液が付着した第1ワイパでノズル面をワイプした後にノズル面に残った洗浄液を第2ワイパで拭き取ることにより、ノズル面に付着した汚れなどを洗浄液とともに除去することができる。
【図面の簡単な説明】
【0008】
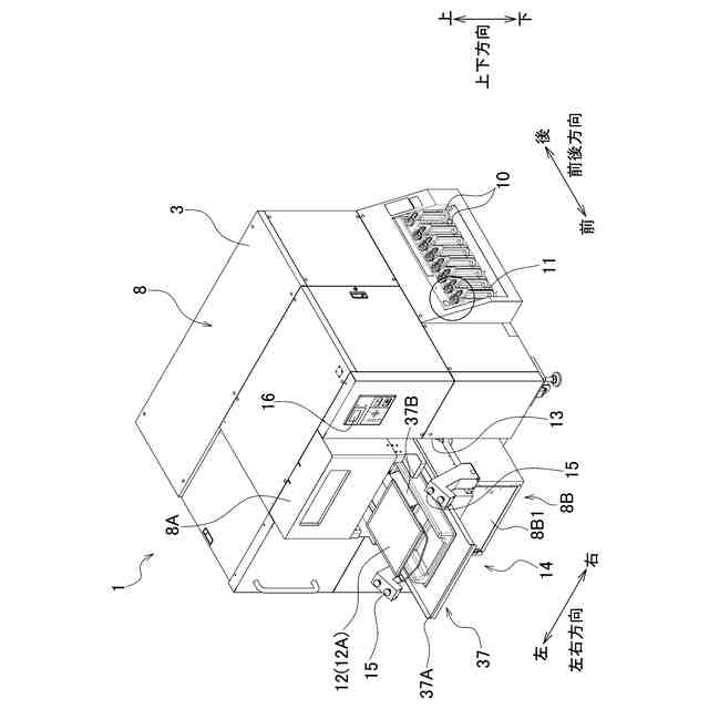
本発明の実施形態に係る印刷装置の概略斜視図である。
図1に示す印刷装置の内部構造を示す平面図である。
図1に示す印刷装置の正面図である。
洗浄液槽等の斜視図である。
白ヘッドに対応する蓋を取り外した状態での洗浄液槽の一部等の斜視図である。
図5のワイパ領域周辺の部分を拡大した図である。
ワイパユニットの斜視図である。
(a)は、ワイプ位置を説明するための、ワイパユニット等の前後方向と直交する断面の断面図であり、(b)は浸漬位置を説明するための(a)に対応する断面図である。
(a)は第1ワイパの右側から支持される部分の高さと第2ワイパの右側から支持される部分の高さとが同じワイパユニットの斜視図であり、(b)は(a)のワイパユニットの前後方向と直交する断面の断面図である。
(a)は第1ワイパと第3ワイパとを並べて配置することで洗浄液保持部が形成されたワイパユニットの斜視図であり、(b)は(a)のワイパユニットの前後方向と直交する断面の断面図である。
【発明を実施するための形態】
【0009】
<実施形態>
本発明の一実施形態に係る印刷装置1を、図面を参照しつつ説明する。以下の説明においては、図1に示す、印刷装置1が使用可能に設置された状態を基準として上下方向および前後方向を定義し、印刷装置1を前方から見て左右方向を定義する。以下の説明では、左右方向を主走査方向、前後方向を副走査方向と称することもある。なお、本実施形態では、印刷装置1が本発明の「液体吐出装置」に相当する。また、本実施形態では、前後方向が本発明の「第1方向」に相当する。また、本実施形態では、左右方向が本発明の「第2方向」に相当し、左右方向の右側および左側が、それぞれ、本発明の「第2方向の一方側」および「第2方向の他方側」に相当する。
【0010】
図1に示す印刷装置1はインクジェットプリンタであり、印刷媒体にインクを吐出して印刷を行う。印刷装置1は、白、黒、イエロー、シアン、マゼンタ、グリーン、および、オレンジの7色のインクを用いて、印刷媒体にカラー画像を印刷する。印刷媒体は、インクを吐出して画像を形成することが可能であれば特に限定するものではなく、例えば、布帛、紙等である。
(【0011】以降は省略されています)
この特許をJ-PlatPat(特許庁公式サイト)で参照する
関連特許
ブラザー工業株式会社
ホルダ
5日前
ブラザー工業株式会社
スキャナ
1日前
ブラザー工業株式会社
スキャナ
1日前
ブラザー工業株式会社
画像形成装置
1日前
ブラザー工業株式会社
静電塗工装置
5日前
ブラザー工業株式会社
画像形成装置
1日前
ブラザー工業株式会社
画像形成装置
1日前
ブラザー工業株式会社
インクジェット記録方法及び印刷物
今日
ブラザー工業株式会社
画像形成方法及びそれに用いられる液体
1日前
ブラザー工業株式会社
工作機械の数値制御装置及び数値制御方法
5日前
ブラザー工業株式会社
工作機械の数値制御装置及び数値制御方法
5日前
ブラザー工業株式会社
画像形成装置、画像形成システム、消耗品
1日前
ブラザー工業株式会社
接着液、画像形成システム、及び画像形成方法
5日前
ブラザー工業株式会社
制御装置、制御方法、及びコンピュータプログラム
5日前
ブラザー工業株式会社
画像形成装置、画像形成プログラム、及び画像形成方法
5日前
ブラザー工業株式会社
通信システム、サーバ、および、コンピュータプログラム
5日前
ブラザー工業株式会社
通信システム、サーバ、および、コンピュータプログラム
5日前
ブラザー工業株式会社
プリンタ
今日
ブラザー工業株式会社
カセット
1日前
ブラザー工業株式会社
制御装置、工作機械、制御方法及びコンピュータプログラム
5日前
ブラザー工業株式会社
制御装置、工作機械、制御方法及びコンピュータプログラム
5日前
ブラザー工業株式会社
工作機械、工作機械の制御方法、及びコンピュータプログラム
5日前
ブラザー工業株式会社
ラベル巻付装置
1日前
ブラザー工業株式会社
制御パラメータ生成方法、制御パラメータ生成プログラム及び記憶媒体
5日前
ブラザー工業株式会社
記録装置、記録装置用消耗品、及び情報処理方法
1日前
個人
箔熱転写装置
1か月前
シヤチハタ株式会社
印判
4か月前
東レ株式会社
凸版印刷版原版
10か月前
シヤチハタ株式会社
反転式印判
9か月前
独立行政法人 国立印刷局
印刷物
7か月前
三光株式会社
感熱記録材料
6か月前
キヤノン株式会社
記録装置
28日前
株式会社リコー
液体吐出装置
2か月前
株式会社リコー
液体吐出装置
6か月前
株式会社リコー
液体吐出装置
5か月前
日本製紙株式会社
感熱記録体
7か月前
続きを見る
他の特許を見る