TOP
|
特許
|
意匠
|
商標
特許ウォッチ
Twitter
他の特許を見る
公開番号
2025148558
公報種別
公開特許公報(A)
公開日
2025-10-07
出願番号
2025120978,2024568798
出願日
2025-07-18,2024-11-05
発明の名称
積層型電子部品
出願人
京セラ株式会社
代理人
個人
主分類
H01G
4/30 20060101AFI20250930BHJP(基本的電気素子)
要約
【課題】外部電極の固着力を高めた積層型電子部品を提供する。
【解決手段】積層型電子部品である積層セラミックコンデンサ1において、有効部11は、積層方向に交互に積層されている誘電体層7及び内部電極9を有する。カバー13は、有効部に対して積層方向の第1側から重なっている。下地電極16は、カバーに対して第1側から重なっている。外部電極5は、下地電極に対して第1側から重なっている。下地電極及び外部電極は、下地電極に含まれる第1金属と外部電極に含まれる第2金属とが相互に混在する拡散層21を共有して固定されている。拡散層は、下地電極と外部電極の界面BS全体に亘って形成されている。
【選択図】図3
特許請求の範囲
【請求項1】
積層方向に交互に積層されている誘電体層及び内部電極を有する有効部と、
前記有効部に対して前記積層方向の第1側及び第2側のうち前記第1側から重なっているカバーと、
前記カバーに対して前記第1側から重なっており、第1金属を主成分とする下地電極と、
前記下地電極に対して前記第1側から重なっており、前記第1金属とは異なる第2金属を主成分とする外部電極と、を有しており、
前記内部電極の縁部である第1縁部と前記外部電極とが接しており、
前記下地電極は、前記外部電極に含まれる前記第2金属が12.5原子%以上で、前記下地電極に拡散している下地拡散層を有し、
前記下地拡散層は、前記積層方向に平行な断面において、前記下地電極と前記外部電極の界面全体に亘って形成される
積層型電子部品。
続きを表示(約 1,200 文字)
【請求項2】
前記第2金属が12.5原子%以上で、前記下地電極に拡散している厚さが、前記下地電極の厚さの0.25以上0.88以下である
請求項1に記載の積層型電子部品。
【請求項3】
前記下地電極は前記カバーに埋まっている領域を有する
請求項1に記載の積層型電子部品。
【請求項4】
前記下地電極は端部に、上面および側面が前記外部電極と接している第2縁部を有し、
前記第2縁部は、前記下地電極の厚み全体に前記下地拡散層を有する
請求項1に記載の積層型電子部品。
【請求項5】
前記外部電極に含まれる前記第2金属が12.5原子%以上で前記下地電極に拡散している厚さが、前記外部電極に含まれる前記第2金属が12.5原子%以上で前記内部電極に拡散している部分の前記第1縁部からの長さよりも大きい
請求項1に記載の積層型電子部品。
【請求項6】
前記カバーは、
前記積層方向に積層されている2以上の絶縁層と、
前記2以上の絶縁層の境界に位置しているダミー電極と、を有しており、
前記ダミー電極の縁部である第3縁部と前記外部電極とが接しており、
前記外部電極に含まれる前記第2金属が12.5原子%以上で前記下地電極に拡散している厚さが、前記外部電極に含まれる前記第2金属が12.5原子%以上で前記ダミー電極に拡散している部分の前記第3縁部からの長さよりも小さい
請求項1に記載の積層型電子部品。
【請求項7】
前記カバーは、
前記積層方向に積層されている2以上の絶縁層と、
前記2以上の絶縁層の境界に位置しているダミー電極と、を有しており、
前記ダミー電極の第3縁部と前記外部電極とが接しており、
前記外部電極に含まれる前記第2金属が12.5原子%以上で前記内部電極に拡散している部分の前記第1縁部からの長さが、前記外部電極に含まれる前記第2金属が12.5原子%以上で前記ダミー電極に拡散している部分の前記第3縁部からの長さよりも短い
請求項1に記載の積層型電子部品。
【請求項8】
前記外部電極に含まれる前記第2金属が12.5原子%以上で前記下地電極に拡散している厚さが1.0μm以上3.5μm以下である
請求項1に記載の積層型電子部品。
【請求項9】
前記下地電極に含まれる前記第1金属が12.5原子%以上で前記外部電極に拡散している厚さが1.0μm以上3.5μm以下である
請求項1に記載の積層型電子部品。
【請求項10】
前記外部電極に含まれる前記第2金属が12.5原子%以上で前記下地電極に拡散している厚さが、前記下地電極に含まれる前記第1金属が12.5原子%以上で前記外部電極に拡散している厚さに対して、2/3以上3/2以下である
請求項1に記載の積層型電子部品。
(【請求項11】以降は省略されています)
発明の詳細な説明
【技術分野】
【0001】
本開示は、積層セラミックコンデンサ等の積層型電子部品に関する。
続きを表示(約 1,900 文字)
【背景技術】
【0002】
積層型電子部品として、例えば、積層セラミックコンデンサが知られている(例えば下記特許文献1及び2)。積層セラミックコンデンサは、例えば、コンデンサとしての機能を直接的に担う本体部と、コンデンサを回路基板等に実装するための外部電極とを有している。本体部は、交互に積層された誘電体層と平板状の内部電極とを有している。特許文献1及び2では、本体部の表面を構成する下地電極を設け、下地電極上にめっき法によって金属層を析出させ、これにより、外部電極を形成している。
【先行技術文献】
【特許文献】
【0003】
特開2014-212298号公報
特開2023-135456号公報
【発明の概要】
【0004】
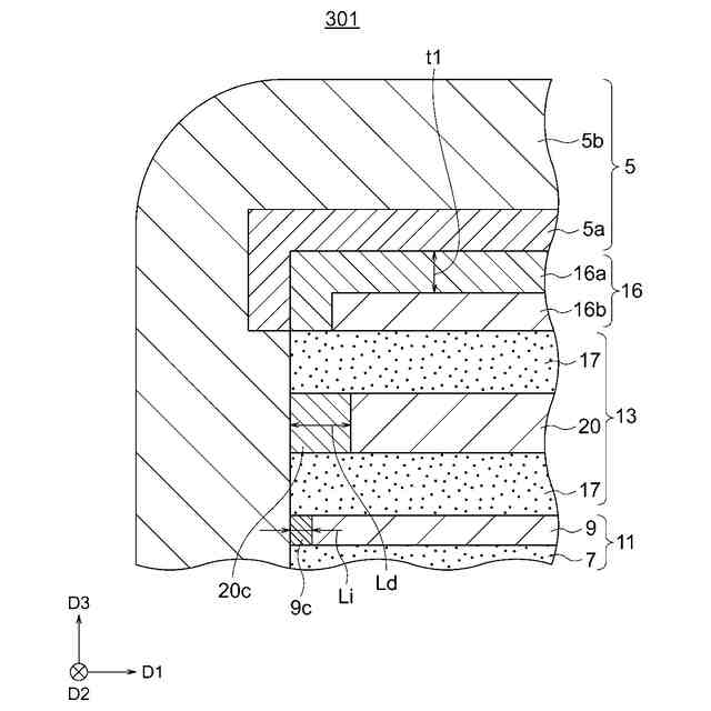
本開示の一態様に係る積層型電子部品は、有効部と、カバーと、下地電極と、外部電極と、を有している。前記有効部は、積層方向に交互に積層されている誘電体層及び内部電極を有する。前記カバーは、前記有効部に対して前記積層方向の第1側及び第2側のうち前記第1側から重なっている。前記下地電極は、第1金属を主成分とし、前記カバーに対して前記第1側から重なっている。前記外部電極は、第2金属を主成分とし、前記下地電極に対して前記第1側から重なっている。前記下地電極及び前記外部電極は、前記下地電極に含まれる第1金属と前記外部電極に含まれる第2金属とが相互に混在する拡散層を共有して固定されており、前記拡散層は、前記下地電極と前記外部電極の界面全体に亘って形成されている。
【図面の簡単な説明】
【0005】
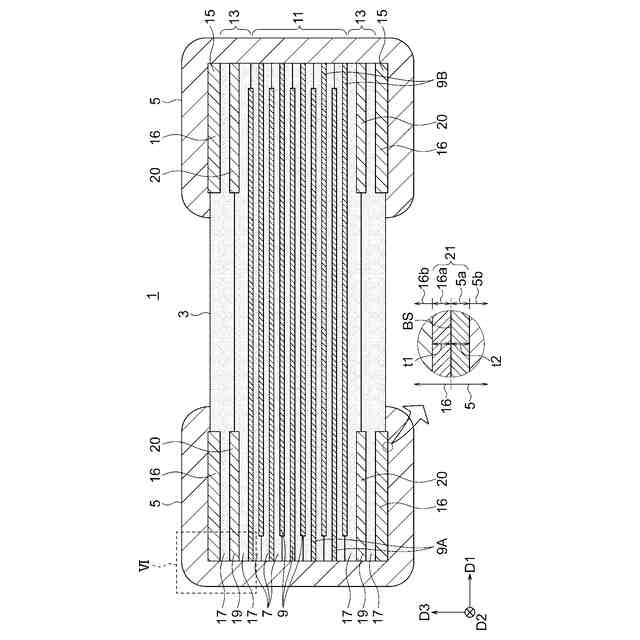
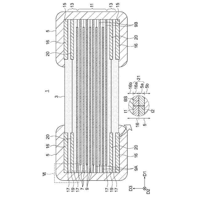
第1実施形態に係るコンデンサを示す斜視図。
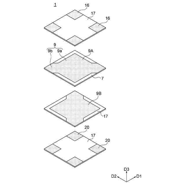
図1のコンデンサの模式的な分解斜視図。
図1のIII-III線における断面図。
第2実施形態に係るコンデンサを示す斜視図。
実施例に係るコンデンサの評価結果を示す図表。
第3実施形態に係るコンデンサの一部を示す模式的な断面図。
【発明を実施するための形態】
【0006】
以下、本開示に係る実施形態について、図面を参照して説明する。なお、以下の説明で用いられる図は模式的なものである。従って、例えば、図面上の寸法比率等は現実のものとは必ずしも一致していない。また、寸法比率等が図面同士で一致しないこともある。特定の形状及び/又は寸法等が誇張されたり、細部が省略されたりすることがある。ただし、上記は、実際の形状及び/又は寸法が図面の通りとされたり、図面から形状及び/又は寸法の特徴が抽出されたりしてもよいことを否定するものではない。
【0007】
相対的に後に説明される態様については、基本的に、相対的に先に説明される態様との相違点についてのみ述べる。特に言及が無い事項については、先に説明される態様と同様とされたり、先に説明される態様から類推されたりしてよい。異なる態様同士で互いに対応する構成要素については、便宜上、相違点があっても、同一の符号を用いることがある。
【0008】
以下の説明において、「矩形」(又は矩形状)、「正方形」(又は正方形状)及び「長方形」(又は長方形状)というとき、その角部は、上記の形状の概念が成立する範囲で、曲面等によって面取りがなされていても構わない。例えば、2辺が成す角部は、2辺のうち短い方の長さの1/5以下、1/10以下又は1/20以下の長さで面取りがなされていても構わない。なお、微視的に見たときに、製造の精度(誤差)に起因して角部が丸くなっていてもよいことは当然である。他の多角形等についても同様である。
【0009】
(実施形態の概要)
図1は、第1実施形態に係るコンデンサ1(積層型電子部品の一例)を示す斜視図である。図1及び後述する他の図には、便宜上、直交座標系D1D2D3が付されている。コンデンサ1は、いずれが上方又は下方とされて用いられてもよい。ただし、実施形態の説明では、便宜上、+D3側を上方として、上面及び下面等の語を用いることがある。
【0010】
コンデンサ1は、例えば、積層セラミックコンデンサである。コンデンサ1は、概略直方体状の本体部3と、平面視において(D3方向に見て)本体部3の4隅に位置している4つの外部電極5とを有している。外部電極5は、コンデンサ1と他の電子部品(例えば不図示の回路基板)との電気的接続に寄与する。
(【0011】以降は省略されています)
この特許をJ-PlatPat(特許庁公式サイト)で参照する
関連特許
京セラ株式会社
蓄電装置
9日前
京セラ株式会社
二次電池
1か月前
京セラ株式会社
弾性波装置
22日前
京セラ株式会社
粒子分離装置
9日前
京セラ株式会社
センサシステム
15日前
京セラ株式会社
静圧気体軸受装置
8日前
京セラ株式会社
太陽電池モジュール
1か月前
京セラ株式会社
配線基板及び電子装置
15日前
京セラ株式会社
配線基板及び電子装置
15日前
京セラ株式会社
コネクタ及び取付方法
10日前
京セラ株式会社
走査装置及び制御装置
8日前
京セラ株式会社
走査装置及び制御装置
8日前
京セラ株式会社
発光装置および照明装置
19日前
京セラ株式会社
流路デバイスの準備方法
10日前
京セラ株式会社
太陽電池付きカーポート
8日前
京セラ株式会社
太陽電池付きカーポート
8日前
京セラ株式会社
取付部材及びヘッド取付方法
16日前
京セラ株式会社
半導体装置及びその製造方法
1か月前
京セラ株式会社
受電装置及び光給電システム
10日前
京セラ株式会社
電源制御装置及び電源制御方法
1か月前
京セラ株式会社
電源制御装置及び電源制御方法
1か月前
京セラ株式会社
液体吐出ヘッドおよび記録装置
1か月前
京セラ株式会社
電源制御装置及び電源制御方法
1か月前
京セラ株式会社
フィルタデバイスおよび通信装置
15日前
京セラ株式会社
液滴吐出ヘッドおよび液滴吐出装置
1か月前
京セラ株式会社
光センサおよび光センサの製造方法
4日前
京セラ株式会社
揺動装置、電磁波照射装置、及び制御装置
8日前
京セラ株式会社
光通信装置、光通信システム及び光照射素子
11日前
京セラ株式会社
ホルダ、切削工具、及び切削加工物の製造方法
9日前
京セラ株式会社
情報処理装置及び学習モデル用データ生成方法
1か月前
京セラ株式会社
多層基板、フィルタモジュール、および通信装置
19日前
京セラ株式会社
ノード、方法、プログラム及び分散台帳システム
10日前
京セラ株式会社
切削インサート、切削工具及び切削加工物の製造方法
1か月前
京セラ株式会社
表示システム、表示制御装置及び表示制御プログラム
1か月前
京セラ株式会社
プログラム、給電方法、給電装置及び光給電システム
9日前
京セラ株式会社
情報処理装置、情報処理システム、及び情報処理方法
10日前
続きを見る
他の特許を見る