TOP
|
特許
|
意匠
|
商標
特許ウォッチ
Twitter
他の特許を見る
公開番号
2025147172
公報種別
公開特許公報(A)
公開日
2025-10-06
出願番号
2025020401
出願日
2025-02-11
発明の名称
導電膜付き基板、多層反射膜付き基板、マスクブランク、反射型マスク、および半導体装置の製造方法
出願人
HOYA株式会社
代理人
個人
主分類
G03F
1/24 20120101AFI20250929BHJP(写真;映画;光波以外の波を使用する類似技術;電子写真;ホログラフイ)
要約
【課題】難エッチング性の材料を吸収体膜等に用いた場合にも、吸収体膜等のエッチングによる導電膜が受けるダメージの少ない導電膜付き基板を提供する。
【解決手段】この導電膜付き基板は、第1主表面及び該第1主表面に対向する第2主表面を有する基板と、第1主表面の上に形成され、第1の膜組成を有する第1膜と、第2主表面の上に形成され、第2の膜組成を有する導電膜とを備え、第1膜をエッチングするために用いられる第1のエッチング条件において、前記第2の膜組成に対する前記第1の膜組成のエッチング選択比は0.8以上又は0未満である。
【選択図】図1
特許請求の範囲
【請求項1】
第1主表面および前記第1主表面に対向する第2主表面を有する基板と、
前記第1主表面の上に形成され、第1の膜組成を有する第1膜と、
前記第2主表面の上に形成され、第2の膜組成を有する導電膜と、を備え、
前記第1膜をエッチングするために用いられる第1のエッチング条件において、前記第2の膜組成に対する、前記第1の膜組成のエッチング選択比は0.8以上または0未満であることを特徴とする導電膜付き基板。
続きを表示(約 1,100 文字)
【請求項2】
第1主表面および前記第1主表面に対向する第2主表面を有する基板と、
前記第1主表面の上に形成された第1膜と、
前記第2主表面の上に形成され、第2膜を有する導電膜と、を備え、
前記第1膜をエッチングするために用いられる第1のエッチング条件において、前記第2膜に対する、前記第1膜のエッチング選択比は0.8以上または0未満であることを特徴とする導電膜付き基板。
【請求項3】
前記第1のエッチング条件下で前記第1膜をエッチングしたとき、前記第1膜のエッチング後の前記導電膜の外周部における膜厚の減膜量が、前記第1膜のエッチング前の前記導電膜の前記外周部における膜厚の20%以下であることを特徴とする請求項1又は2に記載の導電膜付き基板。
【請求項4】
前記第1のエッチング条件下での前記第1膜のエッチングレートが0より大きく0.5nm/秒以下であることを特徴とする請求項1又は2に記載の導電膜付き基板。
【請求項5】
前記導電膜は単層膜であることを特徴とする請求項1又は2に記載の導電膜付き基板。
【請求項6】
前記導電膜は、前記基板の前記第2主表面から最も離れた上層と、前記上層と前記第2主表面との間に形成された下層とを有し、
前記上層が前記第2の膜組成を有することを特徴とする請求項1に記載の導電膜付き基板。
【請求項7】
前記導電膜は、前記基板の前記第2主表面から最も離れた上層と、前記上層と前記第2主表面との間に形成された下層とを有し、
前記上層が前記第2膜であることを特徴とする請求項2に記載の導電膜付き基板。
【請求項8】
前記導電膜は、ハフニウム、ニオブ、ルテニウム、イリジウムおよびロジウムのうち少なくとも1つを含むことを特徴とする請求項1又は2に記載の導電膜付き基板。
【請求項9】
請求項1又は2に記載の導電膜付き基板の前記第1主表面の上に、交互に積層された高屈折率層および低屈折率層を含む多層反射膜、または前記多層反射膜および前記多層反射膜の上に形成された保護膜を備え、
前記第1膜は、前記多層反射膜または前記保護膜であることを特徴とする多層反射膜付き基板。
【請求項10】
請求項1又は2に記載の導電膜付き基板の前記第1主表面の上に、交互に積層された高屈折率層および低屈折率層を含む多層反射膜を備え、
前記第1膜は、前記多層反射膜の上に形成されていることを特徴とするマスクブランク。
(【請求項11】以降は省略されています)
発明の詳細な説明
【技術分野】
【0001】
本発明は、導電膜付き基板、多層反射膜付き基板、マスクブランク、反射型マスク、および半導体装置の製造方法に関する。
続きを表示(約 2,500 文字)
【背景技術】
【0002】
一般に、半導体装置の製造工程では、フォトリソグラフィ法を用いて微細パターンの形成が行われている。また、この微細パターンの形成には通常何枚ものフォトマスクと呼ばれている転写用マスクが使用される。この転写用マスクは、一般にガラス基板上に、金属薄膜等からなる微細パターンを設けたものである。この転写用マスクの製造においては電子線リソグラフィ法が用いられている。
【0003】
電子線リソグラフィ法による転写用マスクの製造には、ガラス基板等の基板上に転写パターン(マスクパターン)を形成するための薄膜(例えば遮光膜など)を有するマスクブランクが用いられる。このマスクブランクを用いた転写用マスクの製造は、マスクブランク上に形成されたレジスト膜に対し、所望のパターン描画を施す描画工程と、描画後、前記レジスト膜を現像して所望のレジストパターンを形成する現像工程と、このレジストパターンをマスクとして前記薄膜をエッチングするエッチング工程と、残存するレジストパターンを除去する工程とを経て行われている。上記現像工程では、描画工程後のレジスト膜に対して現像液を供給して、現像液に可溶な部位におけるレジスト膜を溶解し、レジストパターンを形成する。また、上記エッチング工程では、このレジストパターンをマスクとして、ドライエッチング又はウェットエッチングによって、レジストパターンが形成されておらず露出している薄膜を除去する。これにより所望のマスクパターンを基板上に形成する。こうして、転写用マスクが出来上がる。
【0004】
転写用マスクの種類としては、従来の基板上にクロム系材料からなる遮光膜パターンを有するバイナリ型マスクのほかに、位相シフト型マスクが知られている。
【0005】
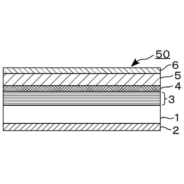
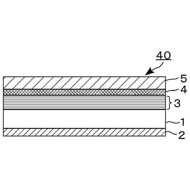
また、近年、半導体産業において、半導体デバイスの高集積化に伴い、従来の紫外光を用いたリソグラフィ法の転写限界を上回る微細パターンが必要とされてきている。このような微細パターン形成を可能とするため、極紫外(Extreme Ultra Violet)光を用いた露光技術であるEUVリソグラフィがある。以下、極紫外光をEUV光と呼ぶ。ここで、EUV光とは、軟X線領域又は真空紫外線領域の波長帯の光を指し、より具体的には波長が0.2~100nm程度の光のことである。本明細書においては、EUV光とは、波長13.5nmの光を含む光であり、具体的には波長13nmから14nmの光、より具体的には、波長13.5nmの光とすることができる。本明細書において、光とは可視光だけでなく電磁波も含む。このEUVリソグラフィにおいて用いられるマスクとして反射型マスクがある。このような反射型マスクは、基板上に形成されるとともに、露光光であるEUV光を反射する多層反射膜と、該多層反射膜上に、パターン状に形成され、EUV光を吸収する吸収体膜とを有する。
【0006】
反射型マスクは、例えば半導体基板上へのパターン転写時に、露光装置内の静電チャックによって支持される。一方で、反射型マスクブランクや反射型マスクに用いられる基板は、絶縁性のガラス基板等からなる。このため、反射型マスクブランクや反射型マスクの基板の裏面には、導電膜(裏面導電膜)が形成される。従来技術として、例えば特許文献1には、シリコン、モリブデン、クロム、オキシ窒化クロムまたはTaSiのような、基板よりも高い誘電率の物質の裏面コーティング(導電膜)を有したマスク基板が開示されている。
【先行技術文献】
【特許文献】
【0007】
特表2003-501823号公報
国際公開第2023/171582号
【発明の概要】
【発明が解決しようとする課題】
【0008】
近年、パターンの解像度、スループットの向上及び/又はいわゆるシャドーイング効果の低減のために、EUV光に対する屈折率が高く、消衰係数が低い材料の吸収体膜が求められている。しかしながら、このような材料は、いわゆる難エッチング性であるため、低いエッチングレートを有する。例えば特許文献2には、難エッチング材料を用いた吸収体膜が開示されている。また、多層反射膜と吸収体膜との間に形成される保護膜に対しても、難エッチング性の材料の使用が増えてきている。したがって、このような難エッチング性の材料をエッチングするには、従来の材料よりも長いエッチング時間が必要となる。
【0009】
導電膜は基板の吸収体膜が形成された主表面とは逆の主表面(裏面)に形成される。このため、吸収体膜などをエッチングする際には、導電膜はほぼ遮蔽された状態となる。このため、吸収体膜をエッチングするためのガスが裏面側に多少回り込んでも、吸収体膜が従来の材料からなる場合は、導電膜がエッチングのダメージを大きく受けることはなかった。しかしながら、本発明者の検討によると、上記のような難エッチング性の材料を吸収体膜(あるいは吸収体膜上のエッチングマスク膜、保護膜等)に用いた場合、導電膜がほぼ遮蔽された状態であっても、裏面側に回り込んだエッチングガスにより、導電膜(特に外周近傍)がダメージを受けてしまうことがわかった。導電膜のダメージは、静電チャックによる基板吸着力、反射型マスクの品質、および/またはパターン転写精度にも影響する。
【0010】
そこで本発明は、このような問題に鑑みなされたものであり、その目的とするところは、第1に、難エッチング性の材料を吸収体膜等に用いた場合にも、吸収体膜等のエッチングによる導電膜が受けるダメージの少ない導電膜付き基板を提供することである。
また、第2に、上記導電膜付き基板を用いた多層反射膜付き基板、マスクブランク、反射型マスクを提供することであり、第3に、この反射型マスクを使用する半導体装置の製造方法を提供することである。
【課題を解決するための手段】
(【0011】以降は省略されています)
この特許をJ-PlatPat(特許庁公式サイト)で参照する
関連特許
HOYA株式会社
光学ガラス及び光学素子
10日前
HOYA株式会社
光学ガラスおよび光学素子
6日前
HOYA株式会社
光学ガラスおよび光学素子
21日前
HOYA株式会社
銀含有偏光ガラスおよび光アイソレータ
17日前
HOYA株式会社
銀含有偏光ガラスおよび光アイソレータ
17日前
HOYA株式会社
光学フィルタ及びそれを備える光脱毛装置
1か月前
HOYA株式会社
荷電粒子線装置の校正基板、および荷電粒子線装置
17日前
HOYA株式会社
マスクブランク、転写用マスク、及び表示装置の製造方法
17日前
HOYA株式会社
光学ガラスおよび光学素子
1か月前
HOYA株式会社
光学ガラスおよび光学素子
1か月前
HOYA株式会社
フォトマスク、及び表示装置の製造方法
3日前
HOYA株式会社
多層反射膜付き基板、反射型マスクブランク、反射型マスク、及び半導体装置の製造方法
11日前
HOYA株式会社
導電膜付き基板、多層反射膜付き基板、マスクブランク、反射型マスク、および半導体装置の製造方法
14日前
HOYA株式会社
反射型マスクブランク、反射型マスク及びその製造方法、並びに半導体装置の製造方法
2か月前
HOYA株式会社
リング状物体の製造方法、成膜装置、ハードディスクドライブ用スペーサ、及びハードディスクドライブ装置
6日前
HOYA株式会社
磁気記録媒体基板用または磁気記録再生装置用ガラススペーサ用のガラス、磁気記録媒体基板、磁気記録媒体、磁気記録再生装置用ガラススペーサおよび磁気記録再生装置
19日前
個人
表示装置
5日前
個人
雨用レンズカバー
3日前
株式会社シグマ
絞りユニット
1か月前
キヤノン株式会社
撮像装置
1か月前
キヤノン株式会社
撮像装置
1か月前
キヤノン株式会社
撮像装置
25日前
日本精機株式会社
車両用投射装置
11日前
平和精機工業株式会社
雲台
1か月前
株式会社リコー
画像形成装置
2か月前
株式会社リコー
画像形成装置
1か月前
株式会社リコー
画像形成装置
2か月前
株式会社リコー
画像形成装置
2か月前
株式会社リコー
画像形成装置
21日前
株式会社リコー
画像形成装置
1か月前
シャープ株式会社
画像形成装置
2か月前
キヤノン株式会社
画像形成装置
6日前
ブラザー工業株式会社
再生方法
2か月前
キヤノン株式会社
トナー
1か月前
株式会社オプトル
プロジェクタ
24日前
キヤノン株式会社
画像形成装置
2か月前
続きを見る
他の特許を見る