TOP
|
特許
|
意匠
|
商標
特許ウォッチ
Twitter
他の特許を見る
10個以上の画像は省略されています。
公開番号
2025147155
公報種別
公開特許公報(A)
公開日
2025-10-06
出願番号
2024047144
出願日
2024-03-22
発明の名称
車両用シート構造
出願人
トヨタ自動車株式会社
代理人
弁理士法人太陽国際特許事務所
主分類
B60N
2/64 20060101AFI20250929BHJP(車両一般)
要約
【課題】簡易な構造で運転時における乗員の姿勢を安定させることが可能な車両用シート構造を得る。
【解決手段】車両用シート構造は、シート幅方向及びシート上下方向に延在して乗員の背部を支持可能なシートバック本体18と、シートバック本体18のシート幅方向中央部における乗員の背部が接触する部位に設けられ、接触した乗員の背部に対してシート上方側へ反力を付与可能な中央反力付与部20A、20Bと、を有する。
【選択図】図4
特許請求の範囲
【請求項1】
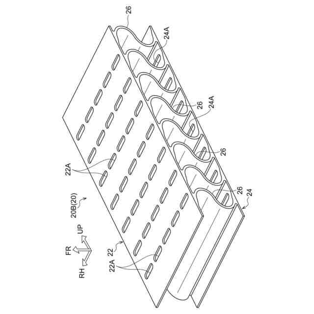
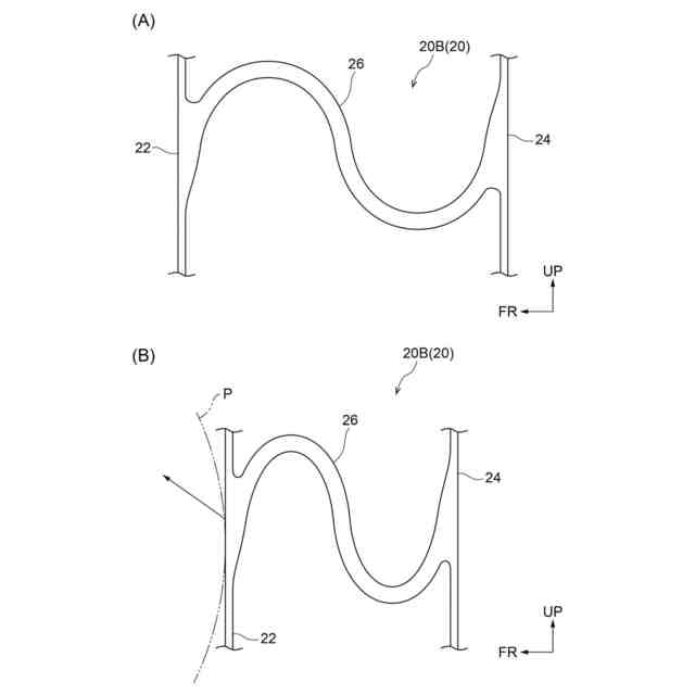
シート幅方向及びシート上下方向に延在して乗員の背部を支持可能なシートバック本体と、
前記シートバック本体のシート幅方向中央部における乗員の背部が接触する部位に設けられ、接触した乗員の背部に対してシート上方側へ反力を付与可能な中央反力付与部と、
を有する車両用シート構造。
続きを表示(約 410 文字)
【請求項2】
前記中央反力付与部に対するシート幅方向両側に並んで配置され、接触した乗員の背部に対してシート下方側へ反力を付与可能な外側反力付与部を有する、請求項1に記載の車両用シート構造。
【請求項3】
前記シートバック本体における前記外側反力付与部のシート上方側には、接触した乗員の背部に対してシート下方側へ反力を付与可能な上段外側反力付与部を有する、請求項2に記載の車両用シート構造。
【請求項4】
前記シートバック本体における前記外側反力付与部のシート上方側には、接触した乗員の背部に対してシート上方側へ反力を付与可能な上段外側反力付与部を有する、請求項2に記載の車両用シート構造。
【請求項5】
前記中央反力付与部は、シート幅方向から見た断面がS字状に形成されたクッションを含んで構成されている、請求項1~4の何れか1項に記載の車両用シート構造。
発明の詳細な説明
【技術分野】
【0001】
本発明は、車両用シート構造に関する。
続きを表示(約 1,300 文字)
【背景技術】
【0002】
特許文献1には、リクライニング軸を介してシートクッションと連結されたメインフレームと、メインフレームに対してロール方向に揺動可能なサブフレームとを備えたシート装置が開示されている。
【先行技術文献】
【特許文献】
【0003】
特開2021-112972号公報
【発明の概要】
【発明が解決しようとする課題】
【0004】
上記特許文献1に記載の構造では、運転時に乗員に作用する慣性力に応じてサブフレームが揺動することで、乗員の姿勢を安定させることができる。しかしながら、構造が複雑であるため、車両用のシートとして普及させるには改善の余地がある。
【0005】
本発明は、簡易な構造で運転時における乗員の姿勢を安定させることが可能な車両用シート構造を得ることを目的とする。
【課題を解決するための手段】
【0006】
請求項1に係る車両用シート構造は、シート幅方向及びシート上下方向に延在して乗員の背部を支持可能なシートバック本体と、前記シートバック本体のシート幅方向中央部における乗員の背部が接触する部位に設けられ、接触した乗員の背部に対してシート上方側へ反力を付与可能な中央反力付与部と、を有する。
【0007】
請求項1に係る車両用シート構造では、シート幅方向及びシート上下方向に延在して乗員の背部を支持可能なシートバック本体を備えている。また、シートバック本体のシート幅方向中央部における乗員の背部が接触する部位には、中央反力付与部が設けられている。ここで、中央反力付与部は、接触した乗員の背部に対してシート上方側へ反力を付与可能に構成されている。これにより、運転時に乗員が中央反力付与部に上体を接触させることで、中央反力付与部から乗員の背骨に対してシート上方側へ反力が付与され、乗員の立腰姿勢が促され、着座姿勢を安定させることが可能となる。
【0008】
また、着座乗員に対してシート上方側へ向かう偏向反力を付与するだけで着座姿勢を安定させることができるため、一部のフレームを揺動させるような大掛かりな構造が不要となり、簡易な構造で着座姿勢を安定させることができる。
【0009】
請求項2に係る車両用シート構造は、請求項1において、前記中央反力付与部に対するシート幅方向両側に並んで配置され、接触した乗員の背部に対してシート下方側へ反力を付与可能な外側反力付与部を有する。
【0010】
請求項2に係る車両用シート構造では、外側反力付与部によって乗員の背部に対してシート下方側へ反力が付与される。このように、中央反力付与部と外側反力付与部とで上下に異なる方向へ偏向反力を付与することで、仙骨に対して上向きの反力を付与しつつ、腸骨に対して下向きの力を付与できる。この結果、車両の旋回時に乗員に対してシート幅方向の外力が入力された際に、上体が旋回外側に移動し、背骨の持つ特性により旋回内側に頭部を誘導させることができ、旋回時の着座姿勢を保持できる。
(【0011】以降は省略されています)
この特許をJ-PlatPat(特許庁公式サイト)で参照する
関連特許
トヨタ自動車株式会社
車両
4日前
トヨタ自動車株式会社
車両
18日前
トヨタ自動車株式会社
電池
今日
トヨタ自動車株式会社
車両
4日前
トヨタ自動車株式会社
車両
27日前
トヨタ自動車株式会社
電池
8日前
トヨタ自動車株式会社
車両
8日前
トヨタ自動車株式会社
電動車
4日前
トヨタ自動車株式会社
電動車
4日前
トヨタ自動車株式会社
電動車
4日前
トヨタ自動車株式会社
電動車
6日前
トヨタ自動車株式会社
電解液
4日前
トヨタ自動車株式会社
ロータ
6日前
トヨタ自動車株式会社
回転子
4日前
トヨタ自動車株式会社
モータ
19日前
トヨタ自動車株式会社
電動車
18日前
トヨタ自動車株式会社
電動車
今日
トヨタ自動車株式会社
回転子
19日前
トヨタ自動車株式会社
サーバ
12日前
トヨタ自動車株式会社
制御装置
8日前
トヨタ自動車株式会社
塗布装置
6日前
トヨタ自動車株式会社
蓄電セル
4日前
トヨタ自動車株式会社
蓄電装置
12日前
トヨタ自動車株式会社
加熱装置
18日前
トヨタ自動車株式会社
切断装置
4日前
トヨタ自動車株式会社
二次電池
8日前
トヨタ自動車株式会社
制御装置
8日前
トヨタ自動車株式会社
電源装置
4日前
トヨタ自動車株式会社
駆動装置
4日前
トヨタ自動車株式会社
蓄電装置
18日前
トヨタ自動車株式会社
制御装置
19日前
トヨタ自動車株式会社
駆動装置
26日前
トヨタ自動車株式会社
蓄電装置
8日前
トヨタ自動車株式会社
電動車両
4日前
トヨタ自動車株式会社
蓄電装置
6日前
トヨタ自動車株式会社
蓄電セル
6日前
続きを見る
他の特許を見る