TOP
|
特許
|
意匠
|
商標
特許ウォッチ
Twitter
他の特許を見る
公開番号
2025146997
公報種別
公開特許公報(A)
公開日
2025-10-03
出願番号
2025128690,2025061251
出願日
2025-07-31,2015-06-26
発明の名称
電力供給システム、電力供給方法、集合住宅及び複合需要家施設
出願人
京セラ株式会社
代理人
個人
,
個人
,
個人
,
個人
主分類
H02J
3/14 20060101AFI20250926BHJP(電力の発電,変換,配電)
要約
【課題】低圧一括受電を行うときに電気料金の低減を実現する。
【解決手段】電力供給システム90は、系統80から低圧一括受電する集合住宅であって、低圧一括受電契約を結ぶ電力会社とは異なる事業者から電力の使用量に応じて電気料金が振り分けられることになる複数の住戸及び共用部を有する1棟の集合住宅における電力供給システム90である。電力供給システム90は、上位メータ装置1と、系統80側に接続される第1ブレーカを有する低圧一括受電盤2と、複数の住戸及び共用部それぞれに接続される複数の第2ブレーカを有する分電盤4と、複数の住戸の消費電力量を測定する複数の下位メータ装置5と、上位メータ装置1と複数の下位メータ装置5との間に接続される分散型電源3とを有する。第1ブレーカの容量は、各第2ブレーカの容量の合計値よりも小さい。
【選択図】図1
特許請求の範囲
【請求項1】
高圧一括受電契約に必要な電力未満の電力の低圧一括受電契約に基づいて系統から低圧一括受電する複数の需要家施設及び共用部を有し、前記複数の需要家施設は、前記低圧一括受電契約を結ぶ電力会社とは異なる者から、前記系統から買電した第1消費電力量と前記複数の需要家施設において消費した第2消費電力量とに応じて電気料金が振り分けられることになる1棟の複合需要家施設における電力供給システムであって、
キュービクル式高圧受電設備を介さずに前記系統と直接接続され、前記第1消費電力量を測定する上位メータと、
前記系統側に接続される第1ブレーカと、
前記複数の需要家施設及び前記共用部それぞれに接続される複数の第2ブレーカと、
前記系統から前記キュービクル式高圧受電設備を介さずに前記上位メータを経由して低圧一括受電された電力を、前記第2ブレーカを経由して前記複数の需要家施設及び前記共用部それぞれに供給する分岐点と、
前記分岐点と前記複数の需要家施設との間に接続され、前記第2消費電力量を測定するメータであって、前記電力会社によって管理されない複数の下位メータと、
蓄電池と、燃料電池、太陽光発電装置および風力発電装置の少なくとも1つを含む発電装置との少なくとも一方を含む分散型電源であって、前記上位メータと前記複数の下位メータとの間に接続され、前記複数の需要家施設及び前記共用部に電力を供給可能な分散型電源と、
を有し、
前記第2ブレーカと前記上位メータとの間、及び、前記第2ブレーカと前記分散型電源との間のそれぞれにスイッチが接続されておらず、
前記第1ブレーカの容量は、前記各第2ブレーカの容量の合計値よりも小さい、電力供給システム。
続きを表示(約 1,200 文字)
【請求項2】
請求項1に記載の電力供給システムにおいて、
前記分散型電源は、前記分岐点と各需要家施設の負荷との間に接続されていない、電力供給システム。
【請求項3】
請求項1又は2に記載の電力供給システムにおいて、
前記複数の需要家施設に設けられる下位制御装置と、
前記複合需要家施設に設けられ、または、前記複合需要家施設内および前記複合需要家施設外の少なくとも一方のサーバ装置に設けられる、上位制御装置と
を有する電力供給システム。
【請求項4】
請求項3に記載の電力供給システムにおいて、
前記下位メータは、前記測定した消費電力量を前記上位制御装置に通知し、
前記上位制御装置は、検針データの管理支援サービスを提供するサーバ装置に前記第2消費電力量を通知する、電力供給システム。
【請求項5】
請求項3又は4に記載の電力供給システムにおいて、
前記下位制御装置、及び、前記上位制御装置はいずれもHEMSである電力供給システム。
【請求項6】
請求項3乃至5のいずれか一項に記載の電力供給システムにおいて、
前記上位制御装置はデマンドレスポンスの信号を取得したとき、前記複数の需要家施設及び前記共用部による消費電力量を抑制するように前記下位制御装置に要求する、電力供給システム。
【請求項7】
請求項3乃至6のいずれか一項に記載の電力供給システムにおいて、
前記分散型電源は前記蓄電池および前記発電装置を含み、
前記上位制御装置が、前記系統への電力の出力を抑制する指示を取得したとき、前記発電装置は余剰電力を前記蓄電池に充電させる、電力供給システム。
【請求項8】
請求項3乃至7のいずれか一項に記載の電力供給システムにおいて、
前記上位制御装置は、前記第1消費電力量に基づいて、前記低圧一括受電契約の複数の料金プランのうち最も安い料金プランを選択し、前記複合需要家施設を管理する事業者のサーバ装置に通知する、電力供給システム。
【請求項9】
請求項3乃至8のいずれか一項に記載の電力供給システムにおいて、
前記上位制御装置は、デマンドレスポンスの信号を取得したとき、前記複数の需要家施設及び前記共用部による消費電力量を抑制するように前記複合需要家施設内の機器に要求する、電力供給システム。
【請求項10】
請求項3乃至9のいずれか一項に記載の電力供給システムにおいて、
前記分散型電源は、少なくとも蓄電池を含み、前記上位制御装置はデマンドレスポンスの信号を取得したとき、前記蓄電池とは異なる他の分散型電源の余剰電力を、前記蓄電池に充電させる、電力供給システム。
(【請求項11】以降は省略されています)
発明の詳細な説明
【技術分野】
【0001】
本発明は、電力供給システムおよび電力供給方法に関する。
続きを表示(約 2,400 文字)
【背景技術】
【0002】
従来、高圧一括受電契約を結び、受電した電力を各戸に配電する集合住宅における配電システムが知られている(例えば特許文献1および2)。
【先行技術文献】
【特許文献】
【0003】
特開2002-118961号公報
特許第3869648号公報
【発明の概要】
【発明が解決しようとする課題】
【0004】
しかしながら、高圧受変電装置は一定のコストがかかる。また、基準値(例えば50kW)以上の容量での電力契約でなければ高圧一括受電契約をそもそも結べないため、高圧一括受電契約は一定規模以上の集合住宅しか結ぶことができない。高圧一括受電契約を結ぶことができない規模の集合住宅でも低圧一括受電契約を結ぶことができるが、必ずしも電気料金の低減を実現できない。
【0005】
かかる事情に鑑みてなされた本発明の目的は、低圧一括受電を行うときに電気料金の低減を実現することができる電力供給システムおよび電力供給方法を提供することにある。
【課題を解決するための手段】
【0006】
上記課題を解決するため、本発明の一実施形態に係る電力供給システムは、
高圧一括受電契約に必要な電力未満の電力の低圧一括受電契約に基づいて系統から低圧一括受電する複合需要家施設であって、電力の使用量に応じて電気料金が振り分けられることになる複数の需要家施設及び共用部を有する1棟の複合需要家施設における電力供給システムであって、
キュービクル式高圧受電設備を介さずに前記系統と直接接続され、前記複合需要家施設において前記系統から買電した電力量を測定する上位メータと、
前記系統側に接続される第1ブレーカと、
前記複数の需要家施設及び前記共用部それぞれに接続される複数の第2ブレーカと、
前記系統から前記キュービクル式高圧受電設備を介さずに前記上位メータを経由して低圧一括受電された電力を、前記第2ブレーカを経由して前記複数の需要家施設及び前記共用部それぞれに供給する分岐点と、
前記分岐点と前記複数の需要家施設との間に接続され、前記複数の需要家施設の消費電力量を測定する複数の下位メータと、
蓄電池と、燃料電池、太陽光発電装置および風力発電装置の少なくとも1つを含む発電装置との少なくとも一方を含む分散型電源であって、前記上位メータと前記複数の下位メータとの間に接続され、前記複数の需要家施設及び前記共用部に電力を供給可能な分散型電源と、
を有し、
前記第1ブレーカの容量は、前記各第2ブレーカの容量の合計値よりも小さい。
【0007】
また、上記課題を解決するため、本発明の一実施形態に係る電力供給方法は、
高圧一括受電契約に必要な電力未満の電力の低圧一括受電契約に基づいて系統から低圧一括受電する複合需要家施設であって、電力の使用量に応じて電気料金が振り分けられることになる複数の需要家施設及び共用部を有する1棟の複合需要家施設における電力供給方法であって、
キュービクル式高圧受電設備を介さずに前記系統と直接接続され、前記複合需要家施設において前記系統から買電した消費電力量を測定する上位メータにおいて、当該消費電力量を測定する第1ステップと、
前記系統側に接続される、前記低圧一括受電契約の契約容量より大きい電力を遮断する第1ブレーカを介して、前記系統から前記キュービクル式高圧受電設備を介さずに電力の供給を受ける第2ステップと、
前記第2ステップで受電された電力を、前記複数の需要家施設及び前記共用部それぞれに接続される複数の第2ブレーカを経由して前記複数の需要家施設及び前記共用部それぞれに供給する第3ステップと、
前記複数の需要家施設の消費電力量を測定する複数の下位メータにおいて、当該複数の需要家施設の消費電力量を測定する第4ステップと、
蓄電池と、燃料電池、太陽光発電装置および風力発電装置の少なくとも1つを含む発電装置との少なくとも一方を含む分散型電源から、前記上位メータと前記複数の下位メータとの間を経由して前記複数の需要家施設及び前記共用部に電力を供給する第5ステップとを含み、
前記第1ブレーカの容量は、前記各第2ブレーカの容量の合計値よりも小さい。
【発明の効果】
【0008】
本発明の一実施形態に係る電力供給システムおよび電力制御方法によれば、低圧一括受電を行うときに電気料金の低減を実現することができる。
【図面の簡単な説明】
【0009】
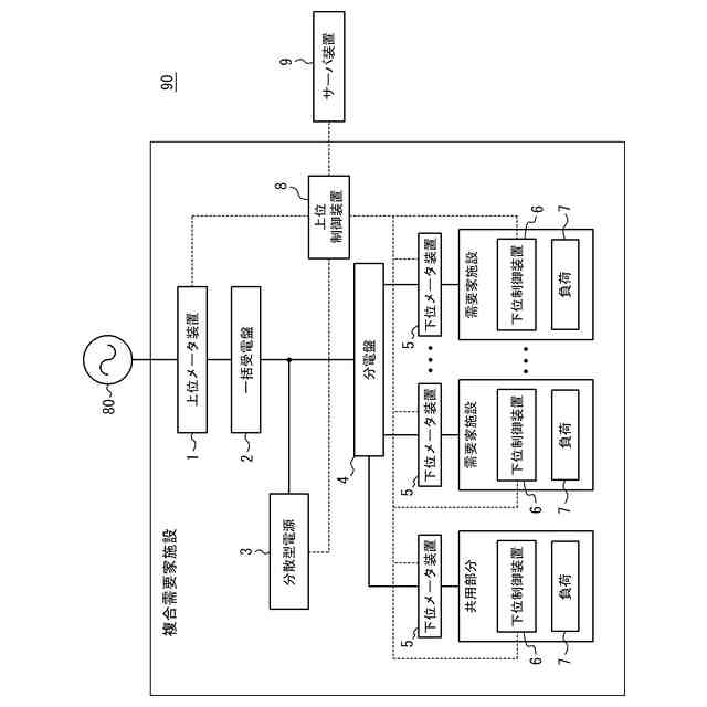
本発明の実施形態に係る電力供給システムの機能ブロック図である。
図1の上位制御装置が蓄電池を制御したときの電力消費の様子を示す図である。
図1の電力供給システムの動作を示すフローチャートである。
【発明を実施するための形態】
【0010】
図1は、本発明の実施形態に係る電力供給システム90の機能ブロック図である。制御ラインおよび情報伝達ラインは破線で示し、電力ラインは実線で示す。電力供給システム90は系統80に接続される。電力供給システム90は上位メータ装置1、一括受電盤2、分散型電源3、分電盤4を少なくとも有し、さらに、下位メータ装置5、下位制御装置6、負荷7、上位制御装置8およびサーバ装置9の少なくとも1つを含んでもよい。電力供給システム90の各機能を説明するが、電力供給システム90が有する他の機能を排除することを意図したものではないことに留意されたい。
(【0011】以降は省略されています)
この特許をJ-PlatPat(特許庁公式サイト)で参照する
関連特許
京セラ株式会社
弾性波装置
9日前
京セラ株式会社
センサシステム
2日前
京セラ株式会社
太陽電池モジュール
18日前
京セラ株式会社
配線基板及び電子装置
2日前
京セラ株式会社
配線基板及び電子装置
2日前
京セラ株式会社
発光装置および照明装置
6日前
京セラ株式会社
取付部材及びヘッド取付方法
3日前
京セラ株式会社
フィルタデバイスおよび通信装置
2日前
京セラ株式会社
多層基板、フィルタモジュール、および通信装置
6日前
京セラ株式会社
疾患予測システム
24日前
京セラ株式会社
認識モデル、情報処理システム、情報処理方法、及び認識モデル生成方法
17日前
京セラ株式会社
提示システム、血中成分指標推定システム、提示方法、および制御プログラム
17日前
京セラ株式会社
液体吐出装置及び液体吐出方法
18日前
京セラ株式会社
半導体基板、半導体デバイスの製造方法
10日前
京セラ株式会社
電子機器、電子機器の制御方法、及びプログラム
17日前
京セラ株式会社
電子機器、電子機器の制御方法、及びプログラム
18日前
京セラ株式会社
睡眠推定システム、睡眠推定方法、及びプログラム
4日前
京セラ株式会社
電力供給システム、電力供給方法、集合住宅及び複合需要家施設
2日前
京セラ株式会社
中継ユーザ機器(UE)無線リソース制御(RRC)接続状態インジケータ
4日前
24エム・テクノロジーズ・インコーポレイテッド
シングルパウチバッテリセル及びその製造方法
10日前
個人
電源装置
17日前
個人
バッテリ内蔵直流電源
16日前
株式会社FUJI
制御盤
6日前
オムロン株式会社
電源回路
10日前
オムロン株式会社
電源回路
10日前
オムロン株式会社
電源回路
10日前
トヨタ自動車株式会社
回転子
17日前
トヨタ自動車株式会社
回転子
2日前
東京応化工業株式会社
発電装置
10日前
大豊工業株式会社
モータ
16日前
ミサワホーム株式会社
居住設備
6日前
株式会社リコー
拡張アンテナ装置
9日前
トヨタ自動車株式会社
ロータ
4日前
ニチコン株式会社
AC入力検出回路
2日前
日産自動車株式会社
ステータ
3日前
ユタカ電業株式会社
ケーブルダクト
6日前
続きを見る
他の特許を見る