TOP
|
特許
|
意匠
|
商標
特許ウォッチ
Twitter
他の特許を見る
公開番号
2025143383
公報種別
公開特許公報(A)
公開日
2025-10-01
出願番号
2025111829,2023569864
出願日
2025-07-01,2022-05-06
発明の名称
中継ユーザ機器(UE)無線リソース制御(RRC)接続状態インジケータ
出願人
京セラ株式会社
代理人
弁理士法人キュリーズ
主分類
H04W
88/04 20090101AFI20250924BHJP(電気通信技術)
要約
【課題】中継装置を使用した無線通信リンクを管理する中継装置を提供する。
【解決手段】通信システム10において、中継ユーザ機器(UE)装置12は、中継UE装置のRRC接続状態を示す無線リソース制御(RRC)接続状態インジケータをサービング基地局20に送信する。RRC接続状態インジケータは、基地局への中継通信を管理するために遠隔UE装置16によっても使用される。基地局と直接通信する遠隔UE装置は、測定レポートを基地局に送信する、測定レポートは、RRC接続状態を報告する中継UE装置についての測定のみを含む。基地局は、測定レポートに少なくとも部分的に基づいて、直接通信から間接通信への切り替えを管理する。遠隔UE装置は、候補中継UE装置の接続状態に少なくとも部分的に基づいた中継候補優先順位付けを使用して中継再選択を管理する。
【選択図】図1A
特許請求の範囲
【請求項1】
送信部及び受信部を有し、当初通信リンクを介して基地局と通信するように構成されるトランシーバを備え、
前記受信部は、第1の候補中継UE装置から、基地局への前記第1の候補中継UE装置の現在の接続状態を示す第1の無線リソース制御(RRC)接続状態インジケータを受信し、第2の候補中継UE装置から、前記基地局に対する前記第2の候補中継UE装置の現在の接続状態を示す第2のRRC接続状態インジケータを、受信するように構成され、
前記トランシーバは、更に、通信を前記当初通信リンクから、推奨される候補中継UEを通じた中継通信リンクを介して前記基地局と通信する前記中継通信リンクに切り替えるように構成され、前記推奨される候補中継UEは、前記第1のRRC接続状態インジケータ及び前記第2のRRC接続状態インジケータに、少なくとも部分的に基づいて、前記第1の候補中継UE装置及び前記第2の候補中継UE装置から選択される、
遠隔ユーザ機器(UE)装置。
続きを表示(約 1,600 文字)
【請求項2】
前記RRC状態インジケータのそれぞれは、接続(RRC CONN)、アイドル(RRC IDLE)、又は非アクティブ(RRC INACTIVE)を含む複数のRRC接続状態のうちの1つを示す、請求項1に記載の遠隔UE装置。
【請求項3】
前記当初通信リンクは、前記遠隔UE装置と前記基地局との間の直接通信リンクであり、
前記遠隔UE装置は、直接リンク品質閾値を下回った前記直接通信リンクの品質であることに応答し、RRC CONN状態を示すRRC接続状態インジケータを送信する、接続状態である候補中継UE装置それぞれの中継UE装置識別子に関連付けられたリンク品質測定を含み、他のすべての候補中継UE装置のリンク品質測定を省略した測定レポートを生成する制御部を更に備える、請求項2に記載の遠隔UE装置。
【請求項4】
前記制御部は、直接リンク品質閾値を下回った前記直接通信リンクの品質であり、候補中継UE装置への少なくとも1つのリンクが中継閾値を超えていると判定したことに応答して、測定レポートを生成するように構成される、請求項1に記載の遠隔UE装置。
【請求項5】
前記制御部は、前記直接通信リンクの前記品質が前記直接リンク品質閾値を下回ったことを判定し、前記遠隔UE装置での測定に基づいて、候補中継UE装置への少なくとも1つのリンクが中継閾値を上回っていると判定するように更に構成される、請求項4に記載の遠隔UE装置。
【請求項6】
前記受信部は、前記測定レポートを生成するための基準を識別する測定レポート設定を前記基地局から受信するように構成され、
前記制御部は、前記測定レポートを生成するための前記基準を満たしている旨の決定に応答して、前記測定レポートを生成するように構成される、請求項4に記載の遠隔UE装置。
【請求項7】
前記受信部は、前記基地局から、前記推奨される候補中継UE装置を識別するRRC再構成メッセージを受信するように更に構成され、
前記制御部は、前記RRC再構成メッセージに応答して、前記推奨される候補中継UE装置を介して前記基地局への前記中継通信リンクを確立するように更に構成される、請求項4に記載の遠隔UE装置。
【請求項8】
前記当初通信リンクは、当初中継UE装置を介した第1中継通信リンクであり、
前記制御部は、前記推奨される候補中継UE装置を選択するように構成される、請求項2に記載の遠隔UE装置。
【請求項9】
前記第1のRRC接続状態通知は、前記第1の候補中継UE装置からの第1のディスカバリメッセージで受信され、前記第2のRRC接続状態通知は、前記第2の候補中継UE装置からの第2のディスカバリメッセージで受信される、請求項2に記載の遠隔UE装置。
【請求項10】
トランシーバと制御部とを備え、
前記トランシーバは、送信部及び受信部を有し、直接通信リンクを介して遠隔ユーザ機器(UE)装置と通信するように構成され、
前記受信部は、遠隔UE装置における、候補中継UE装置から受信された信号のリンク品質測定を含む遠隔UE装置測定レポートから、基地局との無線リソース制御(RRC)接続状態が接続(RRC CONN)である候補中継UE装置から受信された信号のリンク品質測定のみを含むリンク品質測定を受信するように構成され、
前記制御部は、前記候補中継UE装置のうちの1つをターゲット中継UE装置として識別するように構成され、
前記送信部は、前記遠隔UE装置が前記直接通信リンクから前記ターゲット中継UE装置を介した間接通信リンクに切り替えるためのRRC再構成メッセージを、前記遠隔UE装置に、送信するように更に構成される、基地局。
(【請求項11】以降は省略されています)
発明の詳細な説明
【優先権の主張】
【0001】
本出願は、2021年5月10日に出願され、整理番号TPRO00362USとし、「無線リンク障害時のサイドリンクL2中継再選択」と題する、米国仮出願第63/186,574号、及び2021年7月15日出願され、整理番号をTPRO00363USとし、「L2サイドリンク中継下でのサービス継続」と題する、米国仮出願第63/222,303号の優先権を主張する。両米国仮出願は、共に本出願の譲受人に譲渡されており、その全体は参照により明示的に本明細書に組み込まれる。
続きを表示(約 1,500 文字)
【技術分野】
【0002】
本発明は、一般に無線通信に関し、より詳細には中継装置を使用した無線通信リンクの管理に関する。
【0003】
ユーザ機器(UE)装置に無線サービスを提供するいくつかの基地局を採用する多くの無線通信システムは、UE装置が他のUE装置と直接通信できる2以上のUE装置間のサイドリンク通信を可能にする。サイドリンク通信では、UE装置は、基地局を介する代わりにセルラー資源を使用した通信リンクを介してデータ信号を相互に送信する。このような近接サービス(ProSe:Proximity Services)通信は、時に装置・装置間(D2D:device-to-device)としても参照される。更に、1又は複数のUE装置を、UE装置と送信先との間の中継装置として使用することができ、中継装置は、UE装置と送信先との間でデータを転送する。送信先は、通信ネットワークであってもよいし、他のUE装置(送信先UE装置)であってもよい。送信先がネットワークである場合、中継機能は通常、UE・ネットワーク間(U2N:UE-to-Network)中継として参照され、中継UE装置は、遠隔UEと基地局(gNB)又はセルとの間に通信パスを確立する。場合によっては、例えば、UE装置は、基地局のサービスエリア外にある可能性があり、中継UE装置は、そのようなカバレッジ外(OoC:out-of-coverage)UE装置から中継UE装置を介して基地局にルーティングされる通信リンクを提供する。送信先デバイスが別のUE装置(ターゲットUE装置)である場合、中継機能は通常、UE・UE間(U2U:UE-to-UE)中継と呼ばれる。
【発明の開示】
【0004】
中継ユーザ機器(UE)装置は、中継UE装置のRRC接続状態を示す無線リソース制御(RRC)接続状態インジケータをサービング基地局に送信する。RRC接続状態インジケータは、基地局への中継通信を管理するために遠隔UE装置によって使用されてもよい。一例では、基地局と直接通信する遠隔UE装置は、測定レポートを基地局に送信し、測定レポートは、RRC接続(RRC CONN)状態を報告する中継UE装置についての測定のみを含む。基地局は、測定レポートに少なくとも部分的に基づいて、直接通信から間接通信への切り替えを管理する。別の例では、遠隔UE装置は、候補中継UE装置の接続状態に少なくとも部分的に基づいた中継候補優先順位付けを使用して中継再選択を管理する。
【図面の簡単な説明】
【0005】
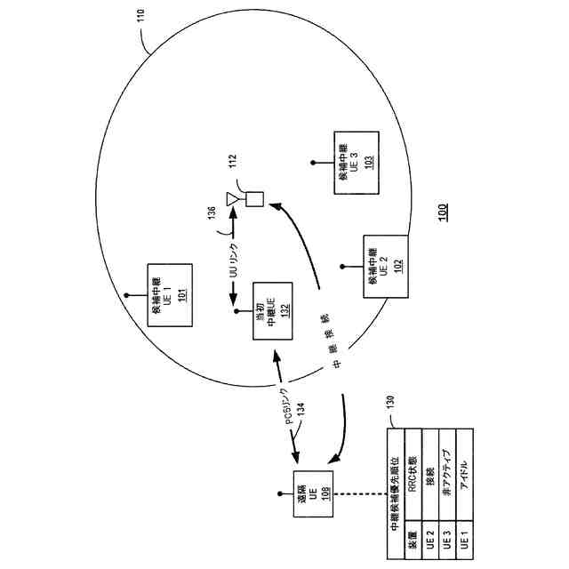
候補中継UE装置がRRC接続状態を遠隔UE装置に送信する一例の通信システムのブロック図である。
【0006】
候補中継UE装置が各々、遠隔UE装置によって受信されるRRC接続状態を送信する一例の通信システムのブロック図である。
【0007】
遠隔UE装置が、受信した候補中継UE装置のRRC接続状態に基づいて測定レポートを送信する一例のシステムのブロック図である。
【0008】
遠隔UE装置が中継接続を介して基地局に接続され、候補中継UE装置のRRC接続状態に、少なくとも部分的に基づいて、候補中継優先リストを保守する一例のシステムのブロック図である。
【0009】
基地局の一例のブロック図である。
【0010】
各UE装置として使用するのに適したUE装置の一例のブロック図である。
(【0011】以降は省略されています)
この特許をJ-PlatPat(特許庁公式サイト)で参照する
関連特許
京セラ株式会社
刃物
1か月前
京セラ株式会社
二次電池
25日前
京セラ株式会社
弾性波装置
9日前
京セラ株式会社
センサシステム
2日前
京セラ株式会社
太陽電池モジュール
18日前
京セラ株式会社
配線基板及び電子装置
2日前
京セラ株式会社
配線基板及び電子装置
2日前
京セラ株式会社
発光装置および照明装置
6日前
京セラ株式会社
骨モデルおよび表示システム
1か月前
京セラ株式会社
取付部材及びヘッド取付方法
3日前
京セラ株式会社
半導体装置及びその製造方法
25日前
京セラ株式会社
液体吐出ヘッドおよび記録装置
24日前
京セラ株式会社
電源制御装置及び電源制御方法
25日前
京セラ株式会社
電源制御装置及び電源制御方法
25日前
京セラ株式会社
電源制御装置及び電源制御方法
25日前
京セラ株式会社
フィルタデバイスおよび通信装置
2日前
京セラ株式会社
液滴吐出ヘッドおよび液滴吐出装置
1か月前
京セラ株式会社
電子部品搭載用基板及び電子モジュール
1か月前
京セラ株式会社
異常検知装置、プログラム及び異常検知方法
1か月前
京セラ株式会社
異常検知装置、プログラム及び異常検知方法
1か月前
京セラ株式会社
情報処理装置及び学習モデル用データ生成方法
25日前
京セラ株式会社
多層基板、フィルタモジュール、および通信装置
6日前
京セラ株式会社
情報処理方法、情報処理装置、及び情報処理システム
1か月前
京セラ株式会社
表示システム、表示制御装置及び表示制御プログラム
25日前
京セラ株式会社
表示システム、表示制御装置及び表示制御プログラム
25日前
京セラ株式会社
切削インサート、切削工具及び切削加工物の製造方法
24日前
国立研究開発法人産業技術総合研究所
光電子集積回路
1か月前
京セラ株式会社
膜付部材
1か月前
京セラ株式会社
疾患予測システム
24日前
京セラ株式会社
電気化学セル、電気化学セル装置、モジュールおよびモジュール収容装置
25日前
京セラ株式会社
認識モデル、情報処理システム、情報処理方法、及び認識モデル生成方法
17日前
京セラ株式会社
学習データ生成方法、学習済みモデル、情報処理装置、及び情報処理方法
1か月前
京セラ株式会社
提示システム、血中成分指標推定システム、提示方法、および制御プログラム
17日前
京セラ株式会社
液体吐出装置及び液体吐出方法
18日前
京セラ株式会社
電力管理装置及び電力管理方法
26日前
京セラ株式会社
情報処理装置及び情報処理方法
1か月前
続きを見る
他の特許を見る