TOP
|
特許
|
意匠
|
商標
特許ウォッチ
Twitter
他の特許を見る
公開番号
2025131867
公報種別
公開特許公報(A)
公開日
2025-09-09
出願番号
2025102287,2023543972
出願日
2025-06-18,2022-08-25
発明の名称
電力管理装置及び電力管理方法
出願人
京セラ株式会社
代理人
TRY国際弁理士法人
主分類
H02J
3/32 20060101AFI20250902BHJP(電力の発電,変換,配電)
要約
【課題】施設の需要電力に関する計画値と施設の需要電力に関する実績値との差異が所定差異以下となるように、施設に設置される分散電源を制御する電力管理装置及び電力管理方法を提供する。
【解決手段】電力管理装置は、発電装置及び蓄電装置を有する施設を管理する管理部と、蓄電装置の互いに異なる使用目的のための2以上の充放電制御の優先度に基づいて、蓄電装置の充放電計画を作成する制御部と、を備える。2以上の充放電制御は、所定時間区間において蓄電装置の放電によって施設の需要電力を所定電力以下に抑制するために蓄電装置の蓄電容量を確保する第1制御と、発電装置の余剰電力を蓄電装置に充電するために蓄電装置の空き容量を確保する第2制御と、を少なくとも含む。
【選択図】図3
特許請求の範囲
【請求項1】
発電装置及び蓄電装置を有する施設を管理する管理部と、
前記蓄電装置の互いに異なる使用目的のための2以上の充放電制御の優先度に基づいて、前記蓄電装置の充放電計画を作成する制御部と、を備え、
前記2以上の充放電制御は、所定時間区間において前記蓄電装置の放電によって前記施設の需要電力を所定電力以下に抑制するために前記蓄電装置の蓄電容量を確保する第1制御と、前記発電装置の余剰電力を前記蓄電装置に充電するために前記蓄電装置の空き容量を確保する第2制御と、を少なくとも含む、電力管理装置。
続きを表示(約 950 文字)
【請求項2】
前記第1制御及び第2制御の優先度は、前記施設の需要電力の抑制によって生じる価値及び前記発電装置の余剰電力の価値に基づいて定められる、請求項1に記載の電力管理装置。
【請求項3】
前記第1制御の優先度は、前記第2制御の優先度よりも高い、請求項1に記載の電力管理装置。
【請求項4】
前記制御部は、前記蓄電装置の充放電計画を第1タイミングで作成し、前記蓄電装置の充放電計画を前記第1タイミングよりも後の第2タイミングで補正し、
前記第2タイミングで想定する充放電制御の優先度は、前記第1タイミングで想定する充放電制御の優先度よりも高い、請求項1乃至請求項3のいずれか1項に記載の電力管理装置。
【請求項5】
前記第1制御は、前記所定時間区間において前記蓄電装置の放電によって前記施設の需要電力を所定電力以下に抑制する制御を含む、請求項1乃至請求項4のいずれか1項に記載の電力管理装置。
【請求項6】
前記第2制御は、前記発電装置の余剰電力を前記蓄電装置に充電する制御を含む、請求項1乃至請求項5のいずれか1項に記載の電力管理装置。
【請求項7】
前記2以上の充放電制御は、非常事態で用いる電力を放電するために前記蓄電装置の蓄電容量を確保する第3制御、及び、前記施設の需要電力に関する計画値に対する乖離を閾値以下に抑制するために前記蓄電装置の蓄電容量及び空き容量の少なくともいずれか1つを確保する第4制御の少なくともいずれか1つの制御を含む、請求項1乃至請求項6のいずれか1項に記載の電力管理装置。
【請求項8】
発電装置及び蓄電装置を有する施設を管理するステップと、
前記蓄電装置の互いに異なる使用目的のための2以上の充放電制御の優先度に基づいて、前記蓄電装置の充放電計画を作成するステップと、を備え、
前記2以上の充放電制御は、前記施設の需要電力を所定時間区間において所定電力以下に抑制するために前記蓄電装置の蓄電容量を確保する第1制御と、前記発電装置の余剰電力を前記蓄電装置に充電するために前記蓄電装置の空き容量を確保する第2制御と、を少なくとも含む、電力管理方法。
発明の詳細な説明
【技術分野】
【0001】
本発明は、電力管理装置及び電力管理方法に関する。
続きを表示(約 1,700 文字)
【背景技術】
【0002】
近年、電力系統の電力需給バランスの安定化のために、蓄電装置などの分散電源を用いる仕組み(以下、VPP(Virtual Power Plant))が注目を集めている。また、1以上の施設を管理する電力管理装置は、施設の需要電力に関する計画値と施設の需要電力に関する実績値との差異が所定差異以下となるように、施設に設置される分散電源を制御する必要がある。このような仕組みにおいては、蓄電装置の充放電計画を適切に作成することが重要である。
【0003】
例えば、蓄電装置の充放電計画を作成する方法としては、BCP(Business Continuity Plan)などの観点から、蓄電装置の蓄電容量(蓄電残量)として所定容量(以下、BCP容量)を確保しながら、蓄電装置の充放電計画を作成する方法が提案されている。このような方法では、BCP容量を適切に推定することによって、BCP以外の目的で利用可能な蓄電容量の増大が図られている(例えば、特許文献1)。
【先行技術文献】
【特許文献】
【0004】
特開2018-191434号公報
【発明の概要】
【0005】
開示に係る電力管理装置は、発電装置及び蓄電装置を有する施設を管理する管理部と、前記蓄電装置の互いに異なる使用目的のための2以上の充放電制御の優先度に基づいて、前記蓄電装置の充放電計画を作成する制御部と、を備え、前記2以上の充放電制御は、所定時間区間において前記蓄電装置の放電によって前記施設の需要電力を所定電力以下に抑制するために前記蓄電装置の蓄電容量を確保する第1制御と、前記発電装置の余剰電力を前記蓄電装置に充電するために前記蓄電装置の空き容量を確保する第2制御と、を少なくとも含む。
【0006】
開示に係る電力管理方法は、発電装置及び蓄電装置を有する施設を管理するステップと、前記蓄電装置の互いに異なる使用目的のための2以上の充放電制御の優先度に基づいて、前記蓄電装置の充放電計画を作成するステップと、を備え、前記2以上の充放電制御は、前記施設の需要電力を所定時間区間において所定電力以下に抑制するために前記蓄電装置の蓄電容量を確保する第1制御と、前記発電装置の余剰電力を前記蓄電装置に充電するために前記蓄電装置の空き容量を確保する第2制御と、を少なくとも含む。
【図面の簡単な説明】
【0007】
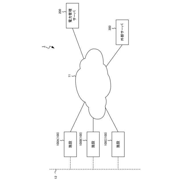
図1は、実施形態に係る電力管理システム1を示す図である。
図2は、実施形態に係る施設100を示す図である。
図3は、実施形態に係る電力管理サーバ200を示す図である。
図4は、実施形態に係るEMS150を示す図である。
図5は、実施形態に係る充放電制御の概要を説明するための図である。
図6は、実施形態に係る蓄電装置120の蓄電容量を説明するための図である。
図7は、実施形態に係る充放電制御の詳細を説明するための図である。
図8は、実施形態に係る電力管理方法を示す図である。
【発明を実施するための形態】
【0008】
以下において、実施形態について図面を参照しながら説明する。なお、以下の図面の記載において、同一又は類似の部分には、同一又は類似の符号を付している。但し、図面は模式的なものである。
【0009】
[実施形態]
(電力管理システム)
以下において、実施形態に係る電力管理システムについて説明する。図1に示すように、電力管理システム1は、施設100を有する。電力管理システム1は、電力管理サーバ200及び外部サーバ300を含んでもよい。
【0010】
ここで、施設100、電力管理サーバ200及び外部サーバ300は、ネットワーク11を介して通信可能に構成される。ネットワーク11は、インターネットを含んでもよく、VPN(Virtual Private Network)などの専用回線を含んでもよく、移動体通信網を含んでもよい。
(【0011】以降は省略されています)
この特許をJ-PlatPat(特許庁公式サイト)で参照する
関連特許
京セラ株式会社
刃物
1か月前
京セラ株式会社
二次電池
28日前
京セラ株式会社
弾性波装置
12日前
京セラ株式会社
センサシステム
5日前
京セラ株式会社
太陽電池モジュール
21日前
京セラ株式会社
コネクタ及び取付方法
今日
京セラ株式会社
配線基板及び電子装置
5日前
京セラ株式会社
配線基板及び電子装置
5日前
京セラ株式会社
流路デバイスの準備方法
今日
京セラ株式会社
発光装置および照明装置
9日前
京セラ株式会社
受電装置及び光給電システム
今日
京セラ株式会社
取付部材及びヘッド取付方法
6日前
京セラ株式会社
骨モデルおよび表示システム
1か月前
京セラ株式会社
半導体装置及びその製造方法
28日前
京セラ株式会社
電源制御装置及び電源制御方法
28日前
京セラ株式会社
電源制御装置及び電源制御方法
28日前
京セラ株式会社
電源制御装置及び電源制御方法
28日前
京セラ株式会社
液体吐出ヘッドおよび記録装置
27日前
京セラ株式会社
フィルタデバイスおよび通信装置
5日前
京セラ株式会社
液滴吐出ヘッドおよび液滴吐出装置
1か月前
京セラ株式会社
電子部品搭載用基板及び電子モジュール
1か月前
京セラ株式会社
異常検知装置、プログラム及び異常検知方法
1か月前
京セラ株式会社
異常検知装置、プログラム及び異常検知方法
1か月前
京セラ株式会社
異常検知装置、プログラム及び異常検知方法
1か月前
京セラ株式会社
光通信装置、光通信システム及び光照射素子
1日前
京セラ株式会社
情報処理装置及び学習モデル用データ生成方法
28日前
京セラ株式会社
多層基板、フィルタモジュール、および通信装置
9日前
京セラ株式会社
ノード、方法、プログラム及び分散台帳システム
今日
京セラ株式会社
表示システム、表示制御装置及び表示制御プログラム
28日前
京セラ株式会社
情報処理装置、情報処理システム、及び情報処理方法
今日
京セラ株式会社
切削インサート、切削工具及び切削加工物の製造方法
27日前
京セラ株式会社
情報処理装置、情報処理システム、及び情報処理方法
今日
京セラ株式会社
表示システム、表示制御装置及び表示制御プログラム
28日前
京セラ株式会社
情報処理方法、情報処理装置、及び情報処理システム
1か月前
国立研究開発法人産業技術総合研究所
光電子集積回路
1か月前
京セラ株式会社
膜付部材
1か月前
続きを見る
他の特許を見る