TOP
|
特許
|
意匠
|
商標
特許ウォッチ
Twitter
他の特許を見る
公開番号
2025146583
公報種別
公開特許公報(A)
公開日
2025-10-03
出願番号
2024107453,2024044947
出願日
2024-07-03,2024-03-21
発明の名称
排水トラップ
出願人
因幡電機産業株式会社
,
丸一株式会社
代理人
個人
主分類
E03C
1/28 20060101AFI20250926BHJP(上水;下水)
要約
【課題】水平方向等の横方向に沿って配設される排水経路中に配設する排水トラップとして適用することができ、清掃作業の簡素化を図る。
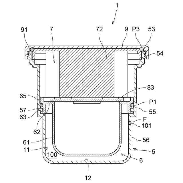
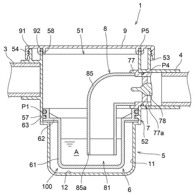
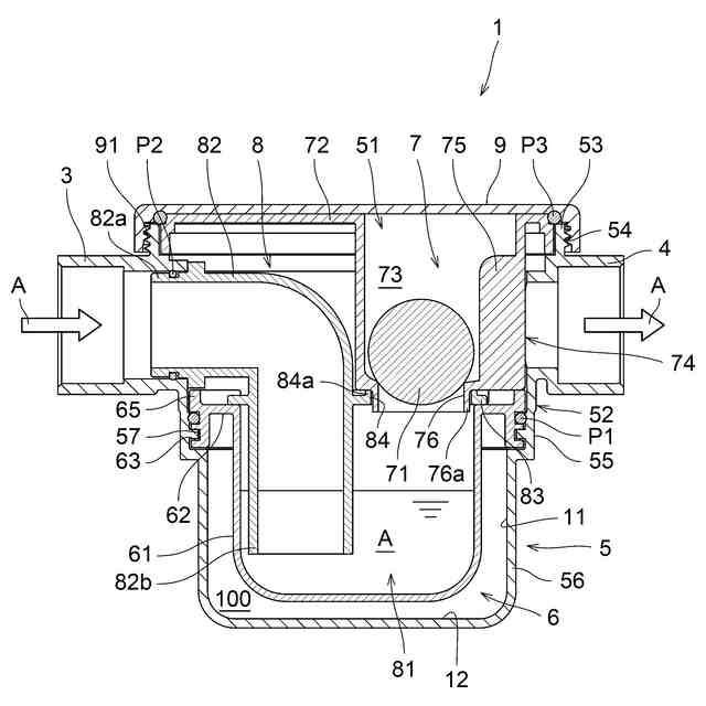
【解決手段】排水Aが流入する流入部3と排水Aを排出する排出部4とを有する筒状の本体5と、流入部3と排出部4とに連通する状態で且つ本体5との間に空間100を形成する状態で本体5の内側に配設されて、流入部3から流入する排水Aを貯留する貯留体6とが備えられ、流入部3と排出部4とは、本体5の側壁部に配設され、貯留体6は、本体5に対して取り付け及び取り外し自在に備えられ、流入部3と排出部4とを排水経路に接続する状態で排水経路中に本体5が配設され、流入部3と排出部4とは、排水Aを流通させる管状に形成されている。
【選択図】図2
特許請求の範囲
【請求項1】
排水が流入する流入部と排水を排出する排出部とを有する筒状の本体と、
前記流入部と前記排出部とに連通する状態で且つ前記本体との間に空間を形成する状態で前記本体の内側に配設されて、前記流入部から流入する排水を貯留する貯留体とが備えられ、
前記流入部と前記排出部とは、前記本体の側壁部に配設され、
前記貯留体は、前記本体に対して取り付け及び取り外し自在に備えられ、
前記流入部と前記排出部とを排水経路に接続する状態で排水経路中に前記本体が配設され、
前記流入部と前記排出部とは、排水を流通させる管状に形成されている排水トラップ。
発明の詳細な説明
【技術分野】
【0001】
本発明は、汚染空気や臭気等の逆流を防止する排水トラップに関する。
続きを表示(約 1,600 文字)
【背景技術】
【0002】
上記排水トラップとして、空調機のドレン等の排水を通流させる排水経路中に配設されて、排水経路における汚染空気や臭気等の逆流を防止するものが知られている(例えば、特許文献1参照)。
【0003】
特許文献1の排水トラップでは、排水が流入する流入部と排水を排出する排出部とが側壁部に配設された本体が備えられ、流入部及び排出部が排水経路に接続されている。本体は、有底筒状に形成され、流入部から流入される排水が、本体の内部に貯留される。本体の内部に設定量以上の排水が貯留されると、開弁状態となって排出部に排水を流出させる常閉式の弁部材が備えられている。
【0004】
また、別の排水トラップとしては、流し台の水槽の排水口に配設されるものもある(例えば、特許文献2参照)。第2特許文献の排水トラップでは、上方側が開放された有底筒状の本体が備えられ、本体の上方側開放部が流入部とされ、本体の底部に排出部が配設されている。本体の内側には、流入部から流入される排水を貯留する有底筒状の貯留体が備えられている。貯留体の底部には、本体の排出部に連通する連通管が配設され、その連通管には、貯留体に設定量以上の排水が貯留されると、開弁状態となって排出部に排水を流出させる常閉式の弁部材が備えられている。
【先行技術文献】
【特許文献】
【0005】
特許第5810035号公報
実開昭53-029549号公報
【発明の概要】
【発明が解決しようとする課題】
【0006】
特許文献1では、本体の内部に排水が貯留されるので、埃や異物等の排水汚れが本体の内部に溜まることになり、本体の内部を定期的に清掃することが求められる。しかしながら、本体は、排水経路中に配設されているので、本体を排水経路から取り外すことができず、排水経路中に配設された状態で本体の内部を清掃しなければならず、清掃作業が行い難いものとなっている。例えば、天井裏等に排水経路が配設されている場合には、清掃作業を行うだけのスペースを確保することも難しく、清掃作業が大変手間のかかる作業となる。
【0007】
その点、特許文献2では、本体の内側に配設された貯留体を本体から取り外すことができれば、清掃作業を簡易に行うことができる。しかしながら、特許文献2では、貯留体の底部に連通管が配設されているので、その連通管から排水が漏れないように貯留体を取り外さなければならない。よって、本体からの貯留体の取り外し作業が難しくなり、結局、清掃作業の複雑化を招くことになる。
【0008】
しかも、特許文献2の排水トラップでは、本体の上方側に流入部が配設され、本体の下方側に排出部が配設されているので、通常、水平方向等の横方向に沿って配設される排水経路中に配設する排水トラップとしては適していない。
【0009】
この実情に鑑み、本発明の主たる課題は、水平方向等の横方向に沿って配設される排水経路中に配設する排水トラップとして適用することができ、清掃作業の簡素化を図ることができる排水トラップを提供する点にある。
【課題を解決するための手段】
【0010】
本発明の第1特徴構成は、排水が流入する流入部と排水を排出する排出部とを有する筒状の本体と、
前記流入部と前記排出部とに連通する状態で且つ前記本体との間に空間を形成する状態で前記本体の内側に配設されて、前記流入部から流入する排水を貯留する貯留体とが備えられ、
前記流入部と前記排出部とは、前記本体の側壁部に配設され、
前記貯留体は、前記本体に対して取り付け及び取り外し自在に備えられている点にある。
(【0011】以降は省略されています)
この特許をJ-PlatPat(特許庁公式サイト)で参照する
関連特許
因幡電機産業株式会社
貫通具
7日前
因幡電機産業株式会社
排水トラップ
26日前
因幡電機産業株式会社
排水トラップ
26日前
個人
蛇口
4か月前
TOTO株式会社
トイレ装置
22日前
個人
ドクター中まミズつクル
1か月前
株式会社田中設備
蓋体
14日前
株式会社タカギ
水栓装置
4か月前
TOTO株式会社
排水システム
20日前
TOTO株式会社
排水システム
20日前
ミサワホーム株式会社
外構
19日前
株式会社KVK
水栓
8日前
タイガースポリマー株式会社
側溝
1か月前
株式会社KVK
水栓
2か月前
株式会社KVK
水栓
2か月前
TOTO株式会社
便座装置
1か月前
株式会社KVK
水栓
1か月前
TOTO株式会社
トイレ装置
1か月前
TOTO株式会社
トイレ装置
1か月前
TOTO株式会社
トイレ装置
1か月前
株式会社タカギ
水栓装置
3か月前
株式会社大林組
雨水桝蓋
4か月前
ホーコス株式会社
床置型グリース阻集器
1か月前
TOTO株式会社
浴室床
2か月前
TOTO株式会社
洗面器及び洗面台
2か月前
TOTO株式会社
洗面器及び洗面台
2か月前
クリナップ株式会社
キッチン
20日前
TOTO株式会社
洗い場床
3か月前
株式会社Deto
吐水器
15日前
三興建設株式会社
下水道バイパス装置
2か月前
丸一株式会社
排水装置及び封水形成部材
4か月前
TOTO株式会社
トイレ装置
3か月前
TOTO株式会社
排水管継手
2か月前
TOTO株式会社
排水管継手
2か月前
TOTO株式会社
トイレ装置
3か月前
株式会社LIXIL
便器装置
28日前
続きを見る
他の特許を見る