TOP
|
特許
|
意匠
|
商標
特許ウォッチ
Twitter
他の特許を見る
公開番号
2025159803
公報種別
公開特許公報(A)
公開日
2025-10-22
出願番号
2024062575
出願日
2024-04-09
発明の名称
貫通具
出願人
因幡電機産業株式会社
代理人
弁理士法人R&C
主分類
F16L
5/00 20060101AFI20251015BHJP(機械要素または単位;機械または装置の効果的機能を生じ維持するための一般的手段)
要約
【課題】壁体に形成された貫通孔の寸法が大きくとも容易に固定できる貫通具を提供する。
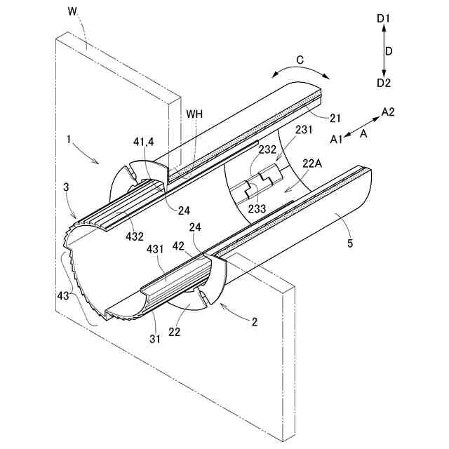
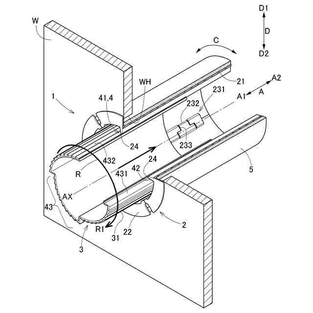
【解決手段】貫通具1は、壁体Wを貫通する貫通孔WHに設置される。貫通具1は、筒状体2と、支持体3と、を備える。筒状体2は、貫通孔WHの軸方向Aに沿って貫通孔WHに配置され、径方向Dに変形自在である。支持体3は、少なくとも一部が筒状体2の中空部分22Aに配置され、径方向内側D2から筒状体2を支持する。支持体3は、径方向Dの複数位置で筒状体2を支持可能であり、筒状体2に対する支持位置を変更することで筒状体2を径方向Dに変形させる。
【選択図】図1
特許請求の範囲
【請求項1】
壁体を貫通する貫通孔に設置される貫通具であって、
前記貫通孔の軸方向に沿って前記貫通孔に配置され、径方向に変形自在な筒状体と、
少なくとも一部が前記筒状体の中空部分に配置され、径方向内側から前記筒状体を支持する支持体と、を備え、
前記支持体は、径方向の複数位置で前記筒状体を支持可能であり、前記筒状体に対する支持位置を変更することで前記筒状体を径方向に変形させる、貫通具。
続きを表示(約 990 文字)
【請求項2】
前記支持体は、軸方向に沿う軸心を中心として回転自在であり、一方側に向かって回転することにつれて前記支持位置を径方向外側となるように調整する、請求項1に記載の貫通具。
【請求項3】
前記支持体は、その全体が前記筒状体の前記中空部分に収容可能である、請求項2に記載の貫通具。
【請求項4】
前記筒状体は、周方向に分割された複数の分割体を備える、請求項2に記載の貫通具。
【請求項5】
前記壁体と前記筒状体との径方向の隙間を埋めるシール体を更に備え、
前記シール体は、径方向外側から複数の前記分割体を一体的に保持する、請求項4に記載の貫通具。
【請求項6】
前記支持体の一方側へ向かう回転を許容し、前記支持体の他方側へ向かう回転を規制する回転規制機構を更に備える、請求項2から5の何れか一項に記載の貫通具。
【請求項7】
前記回転規制機構は、
前記筒状体の内周部から径方向内側に突出する爪と、
それぞれが前記爪に係止すると共に前記爪に対する係止位置が段階的に径方向外側となるように前記支持体の外周部に設けられた複数の歯と、
を有するラチェット構造を含む、請求項6に記載の貫通具。
【請求項8】
前記筒状体における前記支持体に押圧される被押圧部は、軸方向の一方側から他方側に向かうにつれて径方向の位置が変化している、請求項1に記載の貫通具。
【請求項9】
壁体を貫通する貫通孔に貫通具を設置する方法であって、
径方向に変形自在な筒状体を前記貫通孔の軸方向に沿って前記貫通孔に配置するステップと、
径方向の複数位置で前記筒状体を支持可能な支持体の少なくとも一部を、前記筒状体の中空部分に配置するステップと、
前記筒状体に対する前記支持体の支持位置を変更することで前記筒状体を径方向に変形させるステップと、を備える方法。
【請求項10】
前記筒状体を径方向に変形させるステップにおいて、軸方向に沿う軸心を中心として前記支持体を一方側に回転させるにつれて、前記筒状体に対する前記支持体の支持位置を径方向外側となるように変更する、請求項9に記載の方法。
(【請求項11】以降は省略されています)
発明の詳細な説明
【技術分野】
【0001】
本発明は、壁体を貫通する貫通孔に設置される貫通具に関する。
続きを表示(約 1,400 文字)
【背景技術】
【0002】
壁体に対して、一方側の空間から他方側の空間に跨って、ホース、配管やケーブルなどの物(配管類)を配置する場合、配管類は、壁体に形成された貫通孔を通して配置されることがある。このような配管類の一例としては、空気調和機における、室内機と室外機とを接続する配管が挙げられる。具体的には、室内機は、住居やビルその他の建築物(建物等)の内部に配置され、室外機は、建物等の外部に配置されることが多い。室内機と室外機とは、互いに冷媒を循環させるために配管で接続される。このような配管は、建物の壁体に形成された貫通孔を通って、建物の内部と外部とに跨って配置される。
【0003】
上記配管類は、壁体に形成された貫通孔に直接配置されないことが多い。その代わりに、配管類は、その一部が、貫通孔に設置される貫通具に収容された状態で貫通孔に配置される場合が多い。このような貫通具は、安定した状態で配管類を貫通孔に通すために、壁体の貫通孔に固定されて使用される。
【0004】
例えば、特開2017‐187053号公報(特許文献1)には、壁体に形成された貫通孔に設置される貫通具(スリーブ1)が開示されている。
【先行技術文献】
【特許文献】
【0005】
特開2017‐187053号公報
【発明の概要】
【発明が解決しようとする課題】
【0006】
しかしながら、特許文献1に記載されている貫通具(スリーブ1)は、壁体に形成された貫通孔の寸法が貫通具(スリーブ1)の寸法よりも大きい場合、筒状体(円筒部100)と貫通孔との間に生じる隙間を隙間埋め部200で埋める必要がある。つまり、貫通孔に貫通具(スリーブ1)を固定するのに手間がかかる場合がある。このため、壁体に形成された貫通孔の寸法が大きくとも容易に固定できる貫通具の実現が望まれる。
【課題を解決するための手段】
【0007】
本発明に係る貫通具は、壁体を貫通する貫通孔に設置される貫通具であって、前記貫通孔の軸方向に沿って前記貫通孔に配置され、径方向に変形自在な筒状体と、少なくとも一部が前記筒状体の中空部分に配置され、径方向内側から前記筒状体を支持する支持体と、を備え、前記支持体は、径方向の複数位置で前記筒状体を支持可能であり、前記筒状体に対する支持位置を変更することで前記筒状体を径方向に変形させる。
【0008】
本構成によれば、径方向における貫通孔の寸法が、径方向における筒状体の外周部の寸法よりも大きくとも、支持体が筒状体を径方向外側に変形させることで、筒状体の外周部を壁体に密着させて、壁体に筒状体を固定できる。つまり、筒状体を貫通孔に配置した後に、筒状体の寸法を支持体で調整できるので、径方向の寸法が筒状体の外周部よりも大きな貫通孔に対しても、筒状体の壁体への固定が容易となる。
【0009】
以下、本発明の好適な態様について説明する。但し、以下に記載する好適な態様例によって、本発明の範囲が限定される訳ではない。
【0010】
一態様として、前記支持体は、軸方向に沿う軸心を中心として回転自在であり、一方側に向かって回転することにつれて前記支持位置を径方向外側となるように調整することが好ましい。
(【0011】以降は省略されています)
この特許をJ-PlatPat(特許庁公式サイト)で参照する
関連特許
因幡電機産業株式会社
貫通具
5日前
因幡電機産業株式会社
排水トラップ
24日前
因幡電機産業株式会社
保護カバー配設構造、及び、保護カバー用外れ止め具
1か月前
因幡電機産業株式会社
排水トラップ
24日前
個人
留め具
13日前
個人
鍋虫ねじ
2か月前
個人
紛体用仕切弁
2か月前
個人
ホース保持具
6か月前
個人
回転伝達機構
2か月前
個人
トーションバー
6か月前
個人
差動歯車用歯形
4か月前
個人
ジョイント
1か月前
個人
給排気装置
20日前
個人
固着具と成形品部材
9か月前
株式会社不二工機
電磁弁
3か月前
株式会社不二工機
電磁弁
5か月前
個人
ナット
1か月前
個人
地震の揺れ回避装置
3か月前
個人
ボルトナットセット
7か月前
個人
回転式配管用支持具
8か月前
個人
吐出量監視装置
1か月前
株式会社オンダ製作所
継手
8か月前
株式会社ミクニ
弁装置
8か月前
カヤバ株式会社
ダンパ
4か月前
カヤバ株式会社
ダンパ
4か月前
カヤバ株式会社
緩衝器
7か月前
個人
ベルトテンショナ
7か月前
カヤバ株式会社
緩衝器
3か月前
柿沼金属精機株式会社
分岐管
2か月前
カヤバ株式会社
緩衝器
3か月前
株式会社三協丸筒
枠体
7か月前
株式会社ミクニ
弁装置
8か月前
カヤバ株式会社
緩衝器
19日前
株式会社ノーリツ
分配弁
5か月前
日東精工株式会社
樹脂被覆ねじ
7か月前
アズビル株式会社
回転弁
1か月前
続きを見る
他の特許を見る