TOP
|
特許
|
意匠
|
商標
特許ウォッチ
Twitter
他の特許を見る
10個以上の画像は省略されています。
公開番号
2025146019
公報種別
公開特許公報(A)
公開日
2025-10-03
出願番号
2024046583
出願日
2024-03-22
発明の名称
化合物、組成物、有機電界発光素子、有機EL表示装置及び有機EL照明
出願人
三菱ケミカル株式会社
代理人
弁理士法人栄光事務所
主分類
C07F
5/02 20060101AFI20250926BHJP(有機化学)
要約
【課題】発光効率が良好であり、かつ、有機溶剤への溶解性も良好な、緑色発光材料として使用することができる化合物を提供すること。
【解決手段】下記式1で表される化合物。
<com:Image com:imageContentCategory="Drawing"> <com:ImageFormatCategory>TIFF</com:ImageFormatCategory> <com:FileName>2025146019000025.tif</com:FileName> <com:HeightMeasure com:measureUnitCode="Mm">58</com:HeightMeasure> <com:WidthMeasure com:measureUnitCode="Mm">166</com:WidthMeasure> </com:Image>
【選択図】図1
特許請求の範囲
【請求項1】
下記式1で表される化合物。
TIFF
2025146019000024.tif
58
166
(式1中、
X
1
、X
2
は、それぞれ独立に、N-R、O又はSである。
前記Rは、芳香族炭化水素基、芳香族複素環基又はアルキル基である。
X
1
がN-Rの場合、前記Rは、-O-、-S-、-C(R
a
)
2
-又は単結合によってベンゼン環aと結合していてもよい。
X
2
がN-Rの場合、前記Rは、-O-、-S-、-C(R
a
)
2
-又は単結合によってベンゼン環bと結合していてもよい。
前記R
a
は、それぞれ独立に、アルキル基又は芳香族炭化水素基である。
Y
1
、Y
2
、Y
3
は、それぞれ独立に、C又はNであり、少なくとも1つはNである。
Z
1
及びZ
2
は、それぞれ独立に、-C(R
b
)
2
-、O、N-R’又はSである。
前記R
b
は、それぞれ独立に、アルキル基又は芳香族炭化水素基である。
前記R’は、芳香族炭化水素基、芳香族複素環基又はアルキル基である。
m及びnは、それぞれ独立に、0以上の整数である。)
続きを表示(約 510 文字)
【請求項2】
前記Z
1
及びZ
2
が-C(R
b
)
2
-である、請求項1に記載の化合物。
【請求項3】
前記R
b
がアルキル基である、請求項2に記載の化合物。
【請求項4】
前記m及びnが1である、請求項1に記載の化合物。
【請求項5】
前記Y
1
及びY
2
がNである、請求項1に記載の化合物。
【請求項6】
前記X
1
及びX
2
がN-Rである、請求項1に記載の化合物。
【請求項7】
前記Rが芳香族炭化水素基である、請求項6に記載の化合物。
【請求項8】
請求項1~7のいずれか1項に記載の化合物と有機溶剤とを含む、組成物。
【請求項9】
請求項1~7のいずれか1項に記載の化合物を含む、有機電界発光素子。
【請求項10】
請求項9に記載の有機電界発光素子を含む、有機EL表示装置。
(【請求項11】以降は省略されています)
発明の詳細な説明
【技術分野】
【0001】
本発明は、化合物、組成物、有機電界発光素子、有機EL表示装置及び有機EL照明に関する。
続きを表示(約 1,700 文字)
【背景技術】
【0002】
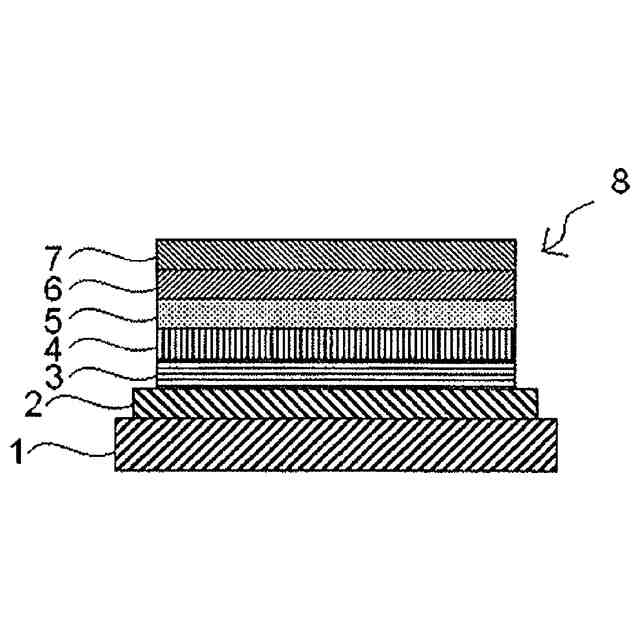
近年、薄膜型の電界発光素子として、無機材料を用いたものに代わり、有機薄膜を用いる有機電界発光素子の開発が活発に行われている。有機電界発光素子(OLEDと略称されることもある。)は、通常、陽極と陰極の間に、正孔注入層、正孔輸送層、有機発光層、電子輸送層などを有し、これらの層ごとに適する材料が開発されつつあり、発光色も赤、緑、青と、それぞれに開発が進んでいる。
【0003】
有機電界発光素子の有機層の形成方法には、真空蒸着法と湿式成膜法(塗布法)がある。真空蒸着法は積層化が容易であるため、陽極及び/又は陰極からの電荷注入の改善、励起子の発光層封じ込めが容易であるという利点を有する。一方で、湿式成膜法は真空プロセスが不要のため、大面積化が容易である。さらに、様々な機能をもった複数の材料を混合した塗布液を用いることにより、容易に、様々な機能をもった複数の材料を含有する層を形成できる等の利点がある。そのため、近年では塗布法での製膜による有機電界発光素子の研究開発が精力的に行われている。
【0004】
有機電界発光素子の発光層には、発光効率が高く、狭い半値幅を示す化合物が要求され、前記化合物には、湿式成膜法に使用する有機溶剤への溶解性も必要とされる。
例えば、特許文献1には、DABNA骨格にアジン環のような6員環の芳香族複素環基が結合した構造で、溶解性を向上させるために、当該アジン環の置換基の一つをtert-ブチル基のようなアルキル基に変更し、分子の対称性を低下させ溶解性を高める方法が記載されている。
【先行技術文献】
【特許文献】
【0005】
国際公開第2022/092046号
【発明の概要】
【発明が解決しようとする課題】
【0006】
しかし、引用文献1記載の方法では、緑色発光材料として、発光効率が十分ではなく、湿式成膜法に使用する場合の有機溶剤への溶解性も十分ではなかった。
前記の課題に鑑み、本発明は、発光効率が良好であり、かつ、有機溶剤への溶解性も良好な、緑色発光材料として使用することができる化合物の提供を目的とする。
【課題を解決するための手段】
【0007】
本発明の要旨は、次のとおりである。
【0008】
本発明の態様1は、
下記式1で表される化合物に関する。
【0009】
TIFF
2025146019000002.tif
58
166
【0010】
(式1中、
X
1
、X
2
は、それぞれ独立に、N-R、O又はSである。
前記Rは、芳香族炭化水素基、芳香族複素環基又はアルキル基である。
X
1
がN-Rの場合、前記Rは、-O-、-S-、-C(R
a
)
2
-又は単結合によってベンゼン環aと結合していてもよい。
X
2
がN-Rの場合、前記Rは、-O-、-S-、-C(R
a
)
2
-又は単結合によってベンゼン環bと結合していてもよい。
前記R
a
は、それぞれ独立に、アルキル基又は芳香族炭化水素基である。
Y
1
、Y
2
、Y
3
は、それぞれ独立に、C又はNであり、少なくとも1つはNである。
Z
1
及びZ
2
は、それぞれ独立に、-C(R
b
)
2
-、O、N-R’又はSである。
前記R
b
は、それぞれ独立に、アルキル基又は芳香族炭化水素基である。
前記R’は、芳香族炭化水素基、芳香族複素環基又はアルキル基である。
m及びnは、それぞれ独立に、0以上の整数である。)
(【0011】以降は省略されています)
この特許をJ-PlatPat(特許庁公式サイト)で参照する
関連特許
三菱ケミカル株式会社
電池
1か月前
三菱ケミカル株式会社
化合物
29日前
三菱ケミカル株式会社
化合物
29日前
三菱ケミカル株式会社
粘着シート
17日前
三菱ケミカル株式会社
ガス吸着フィルム
24日前
三菱ケミカル株式会社
アルコールの製造方法
23日前
三菱ケミカル株式会社
ポリエステルフィルム
16日前
三菱ケミカル株式会社
ポリエステルフィルム
16日前
三菱ケミカル株式会社
ポリエステルフィルム
16日前
三菱ケミカル株式会社
樹脂組成物の再利用方法
16日前
三菱ケミカル株式会社
化合物及びその製造方法
29日前
三菱ケミカル株式会社
顕色剤及び感熱記録材料
15日前
三菱ケミカル株式会社
積層体及びその製造方法
1日前
三菱ケミカル株式会社
樹脂組成物の再利用方法
16日前
三菱ケミカル株式会社
樹脂組成物の再利用方法
16日前
三菱ケミカル株式会社
樹脂組成物の再利用方法
16日前
三菱ケミカル株式会社
樹脂組成物、及び成形体
1か月前
三菱ケミカル株式会社
積層ポリエステルフィルム
1日前
三菱ケミカル株式会社
コークス炉の煉瓦組積構造
24日前
三菱ケミカル株式会社
多層構造体、および多層包材
1か月前
三菱ケミカル株式会社
チキソ性付与剤、液状組成物
1日前
三菱ケミカル株式会社
多層構造体、および多層包材
1か月前
三菱ケミカル株式会社
アクリル酸エチルの製造方法
5日前
三菱ケミカル株式会社
硬化性組成物、硬化物、積層体
26日前
三菱ケミカル株式会社
樹脂組成物、硬化物及び接着剤
15日前
三菱ケミカル株式会社
ポリエステル及びその製造方法
1日前
三菱ケミカル株式会社
硬化性組成物、硬化物、積層体
5日前
三菱ケミカル株式会社
放射線検出素子及び放射線検出器
16日前
三菱ケミカル株式会社
眼科用医療器具及びその製造方法
2日前
三菱ケミカル株式会社
粘着剤組成物、粘着剤及び粘着シート
15日前
三菱ケミカル株式会社
樹脂分散体、塗料、接着剤及び積層体
1日前
三菱ケミカル株式会社
粘着剤組成物、粘着剤及び粘着シート
1日前
三菱ケミカル株式会社
樹脂組成物、成形材料、及び樹脂成形体
15日前
三菱ケミカル株式会社
モビリティ用表示装置、および、移動体
16日前
三菱ケミカル株式会社
液晶組成物及びこれを用いた液晶調光素子
16日前
三菱ケミカル株式会社
樹脂シート、複合成形体及び半導体デバイス
29日前
続きを見る
他の特許を見る