TOP
|
特許
|
意匠
|
商標
特許ウォッチ
Twitter
他の特許を見る
10個以上の画像は省略されています。
公開番号
2025145866
公報種別
公開特許公報(A)
公開日
2025-10-03
出願番号
2024046337
出願日
2024-03-22
発明の名称
基板表面近傍の液置換状態を評価する方法および評価用基板
出願人
株式会社荏原製作所
代理人
個人
,
個人
,
個人
,
個人
,
個人
,
個人
,
個人
,
個人
主分類
H01L
21/304 20060101AFI20250926BHJP(基本的電気素子)
要約
【課題】基板表面近傍の液置換状態を評価できる方法および評価用基板を提供する。
【解決手段】基板本体と、前記基板本体の表面に少なくとも一部が露出している電気抵抗測定用の少なくとも一対の電極と、を備えた評価用基板を基板処理装置内に搬送し、前記基板の洗浄中または待機中に、前記少なくとも一対の電極間に電圧を印加して電気抵抗を測定し、測定データに基づいて基板表面近傍の液置換状態を評価する。
【選択図】図1
特許請求の範囲
【請求項1】
基板本体と、前記基板本体の表面に少なくとも一部が露出している電気抵抗測定用の少なくとも一対の電極と、を備えた評価用基板を基板処理装置内に搬送し、前記基板の洗浄中または待機中に、前記少なくとも一対の電極間に電圧を印加して電気抵抗を測定し、測定データに基づいて基板表面近傍の液置換状態を評価する、方法。
続きを表示(約 510 文字)
【請求項2】
前記電圧は交流である、請求項1に記載の方法。
【請求項3】
前記測定データの経時変化に基づいて液置換完了を判断する、請求項1または2に記載の方法。
【請求項4】
前記測定データを予め定められた正常時のデータと比較し、その差異が予め定められた範囲を超えている場合に異常であると判断する、請求項1または2に記載の方法。
【請求項5】
前記測定データを予め定められた正常時のデータと比較し、その差異が予め定められた範囲内である場合に正常であると判断する、請求項1または2に記載の方法。
【請求項6】
前記電極のうち前記基板本体の表面に露出している部分は、貴金属からなる、請求項1または2に記載の方法。
【請求項7】
請求項1または2に記載の方法に用いられる評価用基板であって、
基板本体と、
前記基板本体の表面に少なくとも一部が露出している電気抵抗測定用の少なくとも一対の電極と、
前記少なくとも一対の電極間に電圧を印加して電気抵抗を測定し、測定データを保持する信号処理部と、
を備えた評価用基板。
発明の詳細な説明
【技術分野】
【0001】
本発明は、基板表面近傍の液置換状態を評価する方法および評価用基板に関する。
続きを表示(約 1,500 文字)
【背景技術】
【0002】
現在、化学機械研磨(CMP)装置は、ナノメートルオーダーで基板表面を平坦化する研磨工程で活用されている。研磨後の基板表面には研磨粒子が多種多様な状態で付着している。製品の欠陥原因の要因になりうる基板表面付着物は、確実に取り除く必要があり、CMP後の洗浄技術は極めて重要である。
【0003】
CMP後の基板表面の付着に対する基本的な洗浄工程を次のとおりである。すなわち、第一段階で、ブラシ洗浄、超音波洗浄等によって基板表面付着物に物理的な外力を与え、リフトオフ(浮遊)させる。第二段階で、薬液の電気・化学的な作用を利用しつつ、浮遊物を液流れによって基板外部へ排除する。第三段階で、薬液を純水置換し、第四段階で乾燥を行う。
【0004】
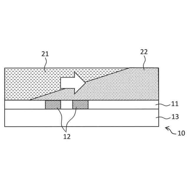
このうち第三段階において、基板上の薬液および液中粒子を純水の液流れで排出するところ、図12に示すように、基板表面近傍は液流速が遅く、排出が難しい領域である。しかし、基板表面近傍の薬液の残留はメタル膜の腐食に繋がる。また、基板表面近傍に微粒子を含む薬液が残留すると、パーティクルの残渣に繋がる。したがって、CMP後の洗浄工程では、基板表面近傍の液置換が、メタル膜の腐食抑制とパーティクル除去の観点で重要となっている。
【0005】
非特許文献1には、基板表面に白色水を供給した後に純水のみの供給に切り替え、液が置換される過程について基板の上方から高速度カメラで撮影して可視化する方法が記載されている。
【先行技術文献】
【非特許文献】
【0006】
半田直廉他「ウェーハ回転時の液流れにおける粒子除去特性」精密工学会学術講演会講演論文集(2017)、7-8頁
【発明の概要】
【発明が解決しようとする課題】
【0007】
しかし、カメラで撮影した可視化像では、液膜上層の影響が大きく、基板表面近傍の液置換状態を評価することが困難である。
【0008】
本発明は、以上のような点を考慮してなされたものである。本発明の目的は、基板表面近傍の液置換状態を評価できる方法および評価用基板を提供することにある。
【課題を解決するための手段】
【0009】
本発明の第1の態様に係る方法は、
基板本体と、前記基板本体の表面に少なくとも一部が露出している電気抵抗測定用の少なくとも一対の電極と、を備えた評価用基板を基板処理装置内に搬送し、前記基板の洗浄中または待機中に、前記少なくとも一対の電極間に電圧を印加して電気抵抗を測定し、測定データに基づいて基板表面近傍の液置換状態を評価する。
【0010】
このような態様によれば、基板本体の表面に少なくとも一部が露出している少なくとも一対の電極に電圧を印加して電気抵抗を測定することで、(液膜上層でなく)基板表面近傍での液体の電気抵抗を測定できる。上述したように、基板上の薬液および液中粒子を純水の液流れで排出する場合、基板の表面近傍は液流速が遅く、排出が難しい領域であるが、基板本体の表面に少なくとも一部が露出している少なくとも一対の電極に電圧を印加して、基板表面近傍での液体の電気抵抗を測定することにより、(液膜上層ではなく)基板表面近傍に微粒子を含む薬液が残留しているか否かを検出でき、これにより、(液膜上層ではなく)基板表面近傍の液置換状態を評価することができる。
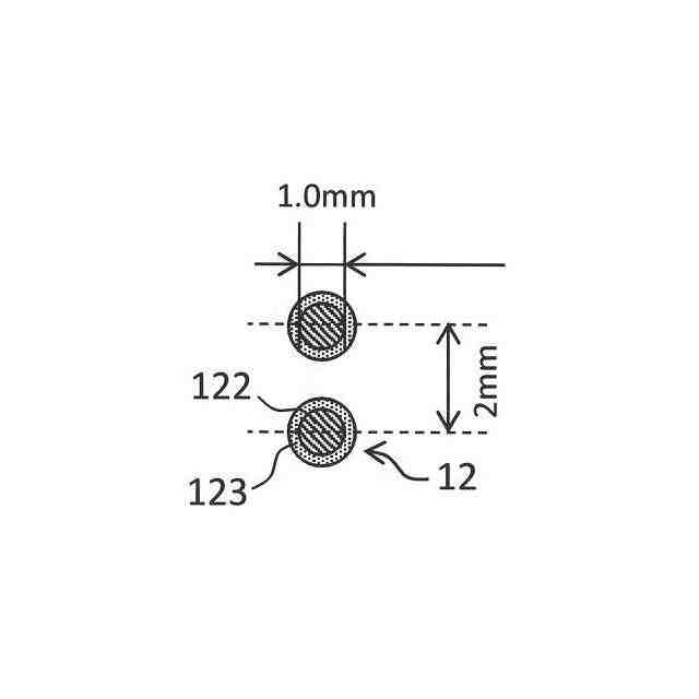
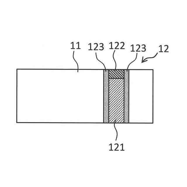
(【0011】以降は省略されています)
この特許をJ-PlatPat(特許庁公式サイト)で参照する
関連特許
株式会社荏原製作所
研磨装置
14日前
株式会社荏原製作所
ポンプ装置
1か月前
株式会社荏原製作所
モータポンプ
1か月前
株式会社荏原製作所
往復動ポンプ
23日前
株式会社荏原製作所
熱媒体供給装置
1か月前
株式会社荏原製作所
立形多段ポンプ
29日前
株式会社荏原製作所
蒸気発電プラント
1か月前
株式会社荏原製作所
周波数制御システム
1か月前
株式会社荏原製作所
研磨方法および研磨装置
1か月前
株式会社荏原製作所
研磨装置および研磨方法
14日前
株式会社荏原製作所
研磨方法および研磨システム
23日前
株式会社荏原製作所
シールリングおよび往復動ポンプ
29日前
株式会社荏原製作所
基板処理方法および基板処理装置
14日前
株式会社荏原製作所
基板研磨装置および膜厚算出方法
12日前
株式会社荏原製作所
超伝導モータおよびモータシステム
7日前
株式会社荏原製作所
ウェーハの洗浄方法および洗浄装置
14日前
株式会社荏原製作所
基板接合方法および基板接合システム
1か月前
株式会社荏原製作所
ドレッサ洗浄装置および基板研磨装置
1か月前
株式会社荏原製作所
永久磁石型モータおよびモータシステム
7日前
株式会社荏原製作所
永久磁石型モータおよびモータシステム
7日前
株式会社荏原製作所
永久磁石型モータおよびモータシステム
7日前
株式会社荏原製作所
処理ヘッド、基板処理装置、および基板処理方法
15日前
株式会社荏原製作所
ポンプシステムの運転方法、およびポンプシステム
5日前
株式会社荏原製作所
永久磁石型モータ、モータシステム、およびポンプシステム
7日前
株式会社荏原製作所
基板洗浄装置のキャリブレーション方法および基板洗浄方法
1か月前
オリオン機械株式会社
ヒータおよびこれを有する液体温調装置
1か月前
株式会社荏原製作所
情報処理装置、情報処理方法、情報処理プログラム、及び、記録媒体
27日前
株式会社荏原製作所
ワークピースの膜厚推定に使用される参照スペクトルライブラリの作成方法
12日前
株式会社荏原製作所
めっき装置、およびめっき方法
20日前
株式会社荏原製作所
情報処理装置、基板研磨装置、推論装置、機械学習装置、情報処理方法、推論方法、及び、機械学習方法
1か月前
住友化学株式会社
メタノールの製造方法
1か月前
APB株式会社
蓄電セル
26日前
東ソー株式会社
絶縁電線
28日前
個人
フレキシブル電気化学素子
1か月前
ローム株式会社
半導体装置
27日前
日新イオン機器株式会社
イオン源
1か月前
続きを見る
他の特許を見る