TOP
|
特許
|
意匠
|
商標
特許ウォッチ
Twitter
他の特許を見る
公開番号
2025145348
公報種別
公開特許公報(A)
公開日
2025-10-03
出願番号
2024045468
出願日
2024-03-21
発明の名称
屋外自動運転システム
出願人
株式会社豊田自動織機
代理人
個人
,
個人
,
個人
,
個人
主分類
G08G
1/00 20060101AFI20250926BHJP(信号)
要約
【課題】天候によって自動運転を実施できるか否かを自動で判断する屋外自動運転システムを提供する。
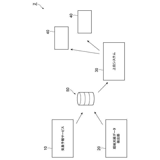
【解決手段】屋外において車両40を自動で運転させる屋外自動運転システム1であって、気象予報データ及び車両40を自動で運転させる現地の天候データを取得する気象データ取得部31と、気象データ取得部31により取得された気象予報データ及び現地の天候データに基づいて、屋外における車両40の自動運転の可否を判断する判断部34と、判断部34により判断された車両40の自動運転の可否結果に応じて車両40の走行を制御する制御部42とを備える。
【選択図】図2
特許請求の範囲
【請求項1】
屋外において車両を自動で運転させる屋外自動運転システムであって、
気象予報データ及び前記車両を自動で運転させる現地の天候データの少なくとも一方を取得する気象データ取得部と、
前記気象データ取得部により取得された前記気象予報データ及び前記現地の天候データの少なくとも一方に基づいて、前記屋外における前記車両の自動運転の可否を判断する判断部と、
前記判断部により判断された前記車両の自動運転の可否結果に応じて前記車両の走行を制御する制御部とを備える屋外自動運転システム。
続きを表示(約 440 文字)
【請求項2】
前記判断部は、前記気象予報データ及び前記現地の天候データの少なくとも一方における降雨量、風速及び降雪量の少なくとも一つに基づいて、前記車両の自動運転の可否を判断する請求項1記載の屋外自動運転システム。
【請求項3】
前記判断部は、前記車両の自動運転が不可であると判断した場合において、一定時間が経過した後に、前記気象予報データ及び前記現地の天候データの少なくとも一方に基づいて、前記屋外における前記車両の自動運転の可否を再度判断する請求項1記載の屋外自動運転システム。
【請求項4】
前記判断部は、前記気象予報データと前記現地の天候データとが互いに異なる場合には、前記現地の天候データに基づいて、前記車両の自動運転の可否を判断する請求項1記載の屋外自動運転システム。
【請求項5】
前記判断部により判断された前記車両の自動運転の可否結果を通知する通知部を更に備える請求項1記載の屋外自動運転システム。
発明の詳細な説明
【技術分野】
【0001】
本発明は、屋外自動運転システムに関する。
続きを表示(約 1,900 文字)
【背景技術】
【0002】
例えば特許文献1には、倉庫管理システムが開示されている。この倉庫管理システムは、管理装置と、自律移動可能な搬送装置と、搬送装置が搬送する搬送物に付加され、搬送物に関する搬送物情報が関連付けられるRFIDタグと、RFIDリーダと、を備える。管理装置は、搬送装置が入庫対象の搬送物の搬送物情報と、現在の倉庫内の在庫状況とを入力として、入庫対象の搬送物を載置するのに適した管理領域内の場所を出力とし、入出力関係が機械学習により獲得される入庫用モデルと、を有する。管理装置は、搬送物に付加されているRFIDタグの搬送物情報を、RFIDリーダを介して取得し、取得した搬送物情報に基づき入庫用モデルを用いて、管理領域内で搬送物を載置すべき場所を決定して、搬送装置に搬送物の載置場所を指示する。
【先行技術文献】
【特許文献】
【0003】
特開2023-129906号公報
【発明の概要】
【発明が解決しようとする課題】
【0004】
ところで、車両を自動で運転させる場合、当該自動運転車両には周囲の障害物を検知するセンサが設けられることが多い。センサは、雨風の影響を受けることがある。例えば、センサに雨滴が付着した場合、センサは雨滴を障害物と誤検知し、上記車両が減速又は停止することがある。そこで、屋外で車両を自動で運転させる場合には、天候によって自動運転を実施できるか否かを判断する必要がある。しかし、従来では、その判断を作業者が行っているので、無駄な作業工程が発生してしまう。
【0005】
本発明の目的は、天候によって自動運転を実施できるか否かを自動で判断する屋外自動運転システムを提供することである。
【課題を解決するための手段】
【0006】
(1)本発明の一態様は、屋外において車両を自動で運転させる屋外自動運転システムであって、気象予報データ及び車両を自動で運転させる現地の天候データの少なくとも一方を取得する気象データ取得部と、気象データ取得部により取得された気象予報データ及び現地の天候データの少なくとも一方に基づいて、屋外における車両の自動運転の可否を判断する判断部と、判断部により判断された車両の自動運転の可否結果に応じて車両の走行を制御する制御部とを備える。
【0007】
このような屋外自動運転システムにおいて、気象データ取得部によって、気象予報データ及び車両を自動で運転させる現地の天候データ(現地天候データという)の少なくとも一方が取得される。そして、判断部によって、取得した気象予報データ及び現地天候データの少なくとも一方に基づいて、屋外における車両の自動運転の可否が判断される。これにより、屋外自動運転システムは、天候によって自動運転を実施できるか否かを自動で判断できる。また、判断部が自動運転の可否を判断するので、作業者が自動運転の可否を判断しなくてよい。従って、作業工程の無駄を省くことができる。
【0008】
(2)上記(1)において、判断部は、気象予報データ及び現地の天候データの少なくとも一方における降雨量、風速及び降雪量の少なくとも一つに基づいて、車両の自動運転の可否を判断してもよい。このような構成では、判断部は、気象予報データ及び現地天候データの少なくとも一方における降雨量、風速及び降雪量に基づいて、自動運転の可否を判断する。従って、精度よく自動運転を実施できるか否かを自動で判断できる。
【0009】
(3)上記(1)又は(2)において、判断部は、車両の自動運転が不可であると判断した場合において、一定時間が経過した後に、気象予報データ及び現地の天候データの少なくとも一方に基づいて、屋外における車両の自動運転の可否を再度判断してもよい。このような構成では、判断部は、自動運転が不可であると判断した場合は、そのまま終了せず、一定時間が経過した後に再度自動運転の可否を判断する。これにより、天候悪化により車両の自動運転が停止している場合でも、車両の自動運転を実施できるか否かを自動で判断できる。
【0010】
(4)上記(1)~(3)において、判断部は、気象予報データと現地の天候データとが互いに異なる場合には、現地の天候データに基づいて、車両の自動運転の可否を判断してもよい。このような構成では、現地の正確な天候情報に基づいて自動運転を実施できるか否かについて判断できる。従って、精度よく自動運転を実施できるか否かを自動で判断できる。
(【0011】以降は省略されています)
この特許をJ-PlatPat(特許庁公式サイト)で参照する
関連特許
株式会社豊田自動織機
排気管
今日
株式会社豊田自動織機
監視装置
4日前
株式会社豊田自動織機
冷却装置
4日前
株式会社豊田自動織機
車両用機器
4日前
株式会社豊田自動織機
自動運転車両
今日
株式会社豊田自動織機
荷役制御装置
今日
株式会社豊田自動織機
パレット検知装置
2日前
株式会社豊田自動織機
段積みケース構造
今日
株式会社豊田自動織機
燃料電池システム
4日前
株式会社豊田自動織機
燃料電池システム
4日前
株式会社豊田自動織機
燃料電池システム
4日前
株式会社豊田自動織機
回転電機のステータ
今日
株式会社豊田自動織機
燃料電池モジュール
4日前
株式会社豊田自動織機
スクロール型圧縮機
今日
株式会社豊田自動織機
屋外自動運転システム
今日
豊田合成株式会社
車両用内装品
2日前
豊田合成株式会社
車両用内装品
2日前
豊田合成株式会社
車両用外装品
今日
豊田合成株式会社
コンソールボックス
2日前
豊田合成株式会社
コンソールボックス
2日前
株式会社豊田自動織機
燃料電池モジュール、及び発電システム
4日前
豊田合成株式会社
コンソールボックス
2日前
トヨタ自動車株式会社
ロールプレス装置
今日
トヨタ自動車株式会社
電池の製造方法、電池
4日前
トヨタ自動車株式会社
電池の製造方法、及び、電池
1日前
株式会社豊田中央研究所
ハイブリッド車両の制御装置
1日前
トヨタ自動車株式会社
作業分析装置
4日前
株式会社豊田中央研究所
電磁場発生装置、ウェアラブル装置、及び検知装置
4日前
株式会社豊田中央研究所
距離認識制御システム、電磁波信号発振装置、距離認識制御プログラム
今日
日本精機株式会社
警報システム
1か月前
個人
自動電動車椅子
15日前
スズキ株式会社
運転支援装置
1か月前
エムケー精工株式会社
車両誘導装置
1か月前
ニッタン株式会社
発信機
1か月前
株式会社国際電気
防災システム
1か月前
ニッタン株式会社
検知器
1日前
続きを見る
他の特許を見る