TOP
|
特許
|
意匠
|
商標
特許ウォッチ
Twitter
他の特許を見る
10個以上の画像は省略されています。
公開番号
2025145311
公報種別
公開特許公報(A)
公開日
2025-10-03
出願番号
2024045419
出願日
2024-03-21
発明の名称
空気調和機の室内機
出願人
株式会社富士通ゼネラル
代理人
個人
,
個人
主分類
F24F
13/20 20060101AFI20250926BHJP(加熱;レンジ;換気)
要約
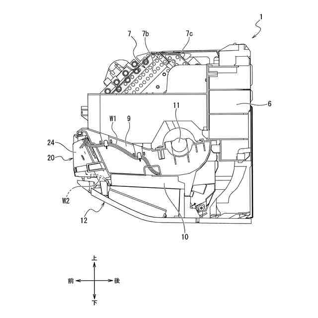
【課題】筐体に備えられた吹出口の上方かつ筐体内における熱交換器の前方の空間に配置される電装品箱の配置の仕方を適切にすることで、空気調和機の消費電力の悪化を抑制することができる空気調和機の室内機を提供する。
【解決手段】空気調和機の室内機1は、前板部2a、上板部2b、底板部2c、左側板部2d、及び右側板部2eを有する筐体2と、筐体2内に配置される熱交換器7と、筐体2内であって熱交換器7に囲まれるように配置される送風ファン8と、制御基板22及び電子部品23が収容されるとともに、筐体2に備えられた吹出口5の上方かつ筐体2内における熱交換器7の前方側の空間Aに配置される電装品箱20とを備えている。電装品箱20は、下端面20aが送風ファン8の下端8aよりも上の位置で、かつ、後面20bが筐体2の上下方向及び左右方向に沿って延びる平面Sに対して前方に20~30°傾いた状態で配置される。
【選択図】図4
特許請求の範囲
【請求項1】
前板部、上板部、底板部、左側板部、及び右側板部を有する筐体と、該筐体内に配置される熱交換器と、前記筐体内であって前記熱交換器に囲まれるように配置される送風ファンと、制御基板及び電子部品が収容されるとともに、前記筐体に備えられた吹出口の上方かつ前記筐体内における前記熱交換器の前方側の空間に配置される電装品箱とを備えた空気調和機の室内機であって、
前記電装品箱は、下端面が前記送風ファンの下端よりも上の位置で、かつ、後面が前記筐体の上下方向及び左右方向に沿って延びる平面に対して前方に20~30°傾いた状態で配置されることを特徴とする空気調和機の室内機。
続きを表示(約 500 文字)
【請求項2】
前記筐体の前後方向の寸法をL、前記熱交換器の前後方向の寸法をHとしたときに、H/Lが0.7以上であることを特徴とする請求項1に記載の空気調和機の室内機。
【請求項3】
前記送風ファンの外径をFとしたときに、F/Lが0.38以上であることを特徴とする請求項2に記載の空気調和機の室内機。
【請求項4】
前記電装品箱は、前記後面が前記筐体の上下方向及び左右方向に沿って延びる平面に対して前方に24~26°傾いた状態で配置されることを特徴とする請求項1に記載の空気調和機の室内機。
【請求項5】
前記電装品箱は、上側が開口した箱体と、該箱体の上側を覆う蓋体とを備え、該蓋体は、上下方向に沿って切断した断面形状が三角形状であり、前記電装品箱は、前記箱体の下側を後側にして前記箱体の底面を前記後面として配置されることを特徴とする請求項1に記載の空気調和機の室内機。
【請求項6】
前記電装品箱の内部に収容される電子部品は、高さ20mm以上を有して前記後面の側から縦置きで配置されることを特徴とする請求項1に記載の空気調和機の室内機。
発明の詳細な説明
【技術分野】
【0001】
本発明は、空気調和機の室内機に関する。
続きを表示(約 2,200 文字)
【背景技術】
【0002】
従来より、空気調和機の室内機において、制御基板及び電子部品を収容した電装品箱を吹出口の上方かつ熱交換器の前方の空間に配置することで、室内機の小型化を図っている(特許文献1参照)。
特許文献1に示す空気調和機の室内機は、本体ケーシングと、本体ケーシング内に配置される熱交換器と、本体ケーシング内であって熱交換器に囲まれるように配置される送風ファンと、本体ケーシングに備えられた吹出口の上方かつ本体ケーシング内における熱交換器の前方の空間に配置される電装品箱とを備えている。
【先行技術文献】
【特許文献】
【0003】
特開2010-65893号公報
【発明の概要】
【発明が解決しようとする課題】
【0004】
しかしながら、この従来の特許文献1に示した空気調和機の室内機にあっては、以下の課題があった。
即ち、特許文献1示した空気調和機の室内機の場合、本体ケーシングに備えられた吹出口の上方かつ本体ケーシング内における熱交換器の前方の空間に電装品箱を配置しているが、近年エアコンの小型化のニーズが高まっているため、吹出口の上方かつ熱交換器の前方のスペースも小さくなっている。その一方、空気調和機の高性能化・高機能化のニーズがあるため、制御基板のサイズ等は大きくなる傾向にあり、制御基板等を収容する電装品箱のサイズも大きくなりがちである。そうすると、電装品箱を置くスペースが大きくなってしまう関係で、本体ケーシング内において電装品箱の後方に存在する熱交換器を配置するスペースが小さくなり、その結果、熱交換器自体が小さくなって空調の性能が低下し、消費電力が増大してしまう課題があった。
【0005】
従って、本発明はこの従来の課題を解決するためになされたものであり、その目的は、筐体に備えられた吹出口の上方かつ筐体内における熱交換器の前方の空間に配置される電装品箱の配置の仕方を適切にすることで、空気調和機の消費電力の悪化を抑制することができる空気調和機の室内機を提供することにある。
【課題を解決するための手段】
【0006】
上記目的を達成するために、本発明の一態様に係る空気調和機の室内機は、前板部、上板部、底板部、左側板部、及び右側板部を有する筐体と、該筐体内に配置される熱交換器と、前記筐体内であって前記熱交換器に囲まれるように配置される送風ファンと、制御基板及び電子部品が収容されるとともに、前記筐体に備えられた吹出口の上方かつ前記筐体内における前記熱交換器の前方側の空間に配置される電装品箱とを備えた空気調和機の室内機であって、前記電装品箱は、下端面が前記送風ファンの下端よりも上の位置で、かつ、後面が前記筐体の上下方向及び左右方向に沿って延びる平面に対して前方に20~30°傾いた状態で配置されることを要旨とする。
【発明の効果】
【0007】
本発明に係る空気調和機の室内機によれば、筐体に備えられた吹出口の上方かつ筐体内における熱交換器の前方の空間に配置される電装品箱の配置の仕方を適切にすることで、空気調和機の消費電力の悪化を抑制することができる空気調和機の室内機を提供できる。
【図面の簡単な説明】
【0008】
本発明の一実施形態に係る空気調和機の室内機の正面図である。
図1に示す室内機を右側斜め上方から見た斜視図である。
図1に示す室内機を左側斜め下方から見た斜視図である。
図1におけるO-O線に沿う断面図である。
図4における電装品箱の取付状態を詳細に示す断面図である。
図1に示す室内機から前面グリル及び筐体を取り外した状態の正面図である。
図6の右側面図である。
電装品箱の正面図である。
電装品箱の分解斜視図である。
図8におけるP-P線に沿って切断した電装品箱の断面図である。
【発明を実施するための形態】
【0009】
以下、本発明の実施形態について図面を参照して説明する。
以下に示す実施形態は、本発明の技術的思想を具体化するための装置や方法を例示するものであって、本発明の技術的思想は、構成部品の材質、形状、構造、配置等を下記の実施形態に特定するものではない。また、図面は模式的なものである。そのため、厚みと平面寸法との関係、比率等は現実のものとは異なることに留意すべきであり、図面相互間においても互いの寸法の関係や比率が異なる部分が含まれている。
【0010】
図1乃至図4に示すように、空気調和機の室内機1は、筐体2を備えている。筐体2は、左右方向に長く延びる前板部2aと、前板部2aの上端から後方に延びる上板部2bと、前板部2aの下端から後方に延びる底板部2cと、前板部2a及び底板部2cの左端から後方に延びる左側板部2dと、前板部2a及び底板部2cの右端から後方に延びる右側板部2eとを備えている。筐体2の前板部2aには前面グリル3が取り付けられ、筐体2の後方側にはベース部6が設けられている。
(【0011】以降は省略されています)
この特許をJ-PlatPat(特許庁公式サイト)で参照する
関連特許
個人
空気調和機
4か月前
個人
エアコン室内機
4か月前
株式会社コロナ
空調装置
3か月前
株式会社コロナ
給湯装置
2か月前
株式会社コロナ
空調装置
13日前
株式会社コロナ
空調装置
3日前
株式会社コロナ
加湿装置
23日前
株式会社コロナ
空調装置
1か月前
株式会社コロナ
加湿装置
4か月前
株式会社コロナ
空調装置
1か月前
株式会社コロナ
空気調和機
2か月前
株式会社コロナ
空気調和機
1か月前
株式会社コロナ
風呂給湯機
1か月前
個人
住宅換気空調システム
1か月前
株式会社コロナ
暖房システム
13日前
株式会社コロナ
直圧式給湯機
3か月前
ホーコス株式会社
排気フード
2か月前
株式会社コロナ
貯湯式給湯機
4か月前
株式会社コロナ
貯湯式給湯機
9日前
株式会社パロマ
給湯器
3か月前
株式会社コロナ
直圧式給湯機
1か月前
株式会社コロナ
貯湯式給湯機
17日前
三菱電機株式会社
送風機
5か月前
株式会社コロナ
輻射式冷房装置
1か月前
ホーコス株式会社
換気扇取付枠
1か月前
株式会社コロナ
貯湯式給湯装置
3か月前
株式会社コロナ
貯湯式給湯装置
4か月前
株式会社コロナ
貯湯式給湯装置
4か月前
株式会社ノーリツ
温水装置
3か月前
株式会社パロマ
給湯暖房機
3か月前
株式会社ノーリツ
給湯装置
3か月前
株式会社パロマ
給湯暖房機
4か月前
株式会社ノーリツ
燃焼装置
4か月前
株式会社パロマ
給湯暖房機
4か月前
株式会社ノーリツ
温水装置
3か月前
株式会社ツインバード
加熱調理器
23日前
続きを見る
他の特許を見る