TOP
|
特許
|
意匠
|
商標
特許ウォッチ
Twitter
他の特許を見る
公開番号
2025145274
公報種別
公開特許公報(A)
公開日
2025-10-03
出願番号
2024045365
出願日
2024-03-21
発明の名称
電池パックシステムの制御装置
出願人
三菱自動車工業株式会社
代理人
SSIP弁理士法人
主分類
H01M
10/633 20140101AFI20250926BHJP(基本的電気素子)
要約
【課題】電池モジュールの加熱効率及び冷却効率を高めることができる電池パックシステムの制御装置を提供する。
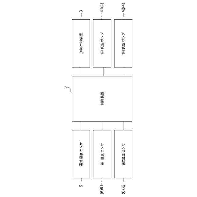
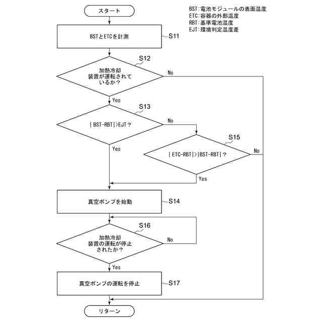
【解決手段】電池パックシステムの制御装置は、電池モジュールと、前記電池モジュールが収容される容器と、を含み、前記容器の内壁と外壁との間に空気層が形成される電池パックと、前記電池モジュールを加熱又は冷却する加熱冷却装置と、前記空気層を負圧にする真空ポンプと、前記電池モジュールの表面温度を計測する電池温度センサと、を備えた電池パックシステムの制御装置であって、前記加熱冷却装置が運転されている場合であって、前記電池モジュールの表面温度と予め定められた基準電池温度との差が予め定められた環境判定温度よりも大きい場合に前記真空ポンプを始動する。
【選択図】 図2
特許請求の範囲
【請求項1】
電池モジュールと、前記電池モジュールが収容される容器と、を含み、前記容器の内壁と外壁との間に空気層が形成される電池パックと、
前記電池モジュールを加熱又は冷却する加熱冷却装置と、
前記空気層を負圧にする真空ポンプと、
前記電池モジュールの表面温度を計測する電池温度センサと、
を備えた電池パックシステムの制御装置であって、
前記加熱冷却装置が運転されている場合であって、前記電池モジュールの表面温度と予め定められた基準電池温度との差が予め定められた環境判定温度差よりも大きい場合に前記真空ポンプを始動する、電池パックシステムの制御装置。
続きを表示(約 600 文字)
【請求項2】
前記電池パックシステムは、前記容器の外部温度を計測する外部温度センサを備え、
前記加熱冷却装置が運転されている場合であって、前記電池モジュールの表面温度と前記基準電池温度との差が前記環境判定温度差以下の場合であっても、前記容器の外部温度と前記基準電池温度との差が前記電池モジュールの表面温度と前記基準電池温度との差よりも大きい場合に前記真空ポンプを始動する、請求項1に記載の電池パックシステムの制御装置。
【請求項3】
前記空気層は、前記電池モジュールが設置されるトレイに設けられる、請求項1又は2に記載の電池パックシステムの制御装置。
【請求項4】
前記空気層は、前記電池モジュールを覆うカバーに設けられる、請求項1又は2に記載の電池パックシステムの制御装置。
【請求項5】
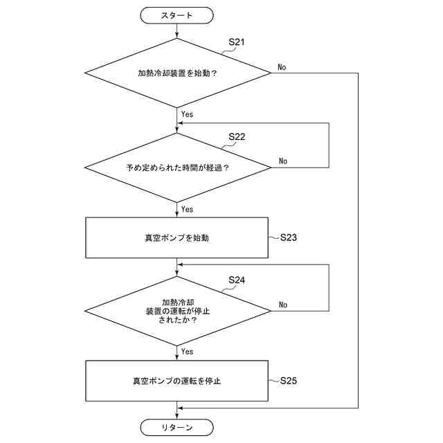
前記電池モジュールが外部機器によって充電され、又は前記電池モジュールから外部機器に給電されている場合であって、前記加熱冷却装置が始動され、かつ、前記加熱冷却装置の始動から予め定められた時間が経過した場合に、前記真空ポンプを始動する、請求項1又は2に記載の電池パックシステムの制御装置。
【請求項6】
前記加熱冷却装置の運転が停止された場合に、前記真空ポンプの運転を停止する、請求項1又は2に記載の電池パックシステムの制御装置。
発明の詳細な説明
【技術分野】
【0001】
本開示は、電池パックシステムの制御装置に関する。
続きを表示(約 1,700 文字)
【背景技術】
【0002】
特許文献1には、電池が内部に収容された容器(電池パック)が記載されている。かかる容器は、中空構造の壁によって構成され、各壁に形成された中空部は相互に連通している。容器には、壁に形成された中空部と真空ポンプとを連通する負圧導入通路が接続され、この負圧導入通路の途中に負圧導入通路を開閉する電磁弁が設けられている。また、容器には、壁に形成された中空部と大気側とを連通する大気導入通路が接続され、この大気導入通路の途中に大気導入通路を開閉する電磁弁が設けられている。真空ポンプ及びこれらの電磁弁を制御する制御装置は、容器の断熱性を高める(放熱性を低下させる)場合に電磁弁を開弁して負圧導入通路を開放した状態で真空ポンプを作動させて壁に形成された中空部内に負圧を導入する一方、容器の断熱性を低下させる(放熱性を高める)場合に電磁弁を開弁して大気導入通路を開放して壁に形成された中空部内に大気を導入する。
【先行技術文献】
【特許文献】
【0003】
特開2011-207321号公報
【発明の概要】
【発明が解決しようとする課題】
【0004】
ところで、電池パック内又は電池パック外に加熱冷却装置を備え、電池パック内に収容された電池モジュールを加熱又は冷却する電池パックシステムが実用に供されている。
【0005】
しかしながら、特許文献1に開示された電池パックは、電池パック内又は電池パック外に加熱冷却装置を備えるものではなく、電池モジュールの加熱効率及び冷却効率を高めることはできない。
【0006】
上述の事情に鑑みて、本発明の少なくとも一実施形態は、電池モジュールの加熱効率及び冷却効率を高めることができる電池パックシステムの制御装置を提供することを目的とする。
【課題を解決するための手段】
【0007】
(1)本発明の少なくとも一実施形態に係る電池パックシステムの制御装置は、電池モジュールと、前記電池モジュールが収容される容器と、を含み、前記容器の内壁と外壁との間に空気層が形成される電池パックと、前記電池モジュールを加熱又は冷却する加熱冷却装置と、前記空気層を負圧にする真空ポンプと、前記電池モジュールの表面温度を計測する電池温度センサと、を備えた電池パックシステムの制御装置であって、前記加熱冷却装置が運転されている場合であって、前記電池モジュールの表面温度と予め定められた基準電池温度との差が予め定められた環境判定温度差よりも大きい場合に前記真空ポンプを始動する。
【0008】
上記(1)の構成によれば、環境判定温度差を大きく定めることで、加熱冷却装置が運転されている場合であって、電池モジュールの表面温度と基準電池温度とが乖離している場合に、真空ポンプが始動され、空気層が負圧となり、容器の内部が外部から断熱されるので、電池モジュールの加熱効率及び冷却効率を高めることができる。
【0009】
(2)幾つかの実施形態では、上記(1)の構成において、前記電池パックシステムは、前記容器の外部温度を計測する外部温度センサを備え、前記加熱冷却装置が運転されている場合であって、前記電池モジュールの表面温度と前記基準電池温度との差が前記環境判定温度差以下の場合であっても、前記容器の外部温度と前記基準電池温度との差が前記電池モジュールの表面温度と前記基準電池温度との差よりも大きい場合に前記真空ポンプを始動する。
【0010】
上記(2)の構成によれば、電池モジュールの表面温度と基準電池温度とが乖離していなくても、加熱冷却装置が運転されている場合であって、容器の外部温度と基準電池温度との差が電池モジュールの表面温度と容器の外部温度との差よりも大きい場合に、真空ポンプが始動され、空気層が負圧なり、容器の内部が外部から断熱されるので、容器の外部温度の影響を小さくすることができる。
(【0011】以降は省略されています)
この特許をJ-PlatPat(特許庁公式サイト)で参照する
関連特許
三菱自動車工業株式会社
自動車
4日前
三菱自動車工業株式会社
制御システム
3日前
三菱自動車工業株式会社
ハイブリッド車両
3日前
三菱自動車工業株式会社
ハイブリッド車両
3日前
三菱自動車工業株式会社
ハイブリッド車両
3日前
三菱自動車工業株式会社
情報処理システム
3日前
三菱自動車工業株式会社
内燃機関のピストン
3日前
三菱自動車工業株式会社
内燃機関のピストン
3日前
三菱自動車工業株式会社
車両の制御システム
4日前
三菱自動車工業株式会社
回転電機の冷却構造
5日前
三菱自動車工業株式会社
可変抵抗回路および制御回路
4日前
三菱自動車工業株式会社
水冷インタークーラシステム
4日前
三菱自動車工業株式会社
電池パックシステムの制御装置
3日前
個人
安全なNAS電池
1か月前
個人
フリー型プラグ安全カバー
1か月前
東レ株式会社
多孔質炭素シート
26日前
日本発條株式会社
積層体
7日前
ローム株式会社
半導体装置
26日前
ローム株式会社
半導体装置
5日前
ローム株式会社
半導体装置
5日前
ローム株式会社
半導体装置
3日前
ローム株式会社
半導体装置
5日前
キヤノン株式会社
電子機器
26日前
エイブリック株式会社
半導体装置
28日前
エイブリック株式会社
半導体装置
28日前
個人
防雪防塵カバー
7日前
個人
半導体パッケージ用ガラス基板
6日前
株式会社GSユアサ
蓄電装置
7日前
株式会社GSユアサ
蓄電装置
3日前
東レ株式会社
ガス拡散層の製造方法
26日前
沖電気工業株式会社
アンテナ
1か月前
ニチコン株式会社
コンデンサ
19日前
ニチコン株式会社
コンデンサ
19日前
株式会社ティラド
面接触型熱交換器
18日前
オムロン株式会社
電磁継電器
1か月前
株式会社ホロン
冷陰極電子源
3日前
続きを見る
他の特許を見る