TOP
|
特許
|
意匠
|
商標
特許ウォッチ
Twitter
他の特許を見る
公開番号
2025145747
公報種別
公開特許公報(A)
公開日
2025-10-03
出願番号
2024046117
出願日
2024-03-22
発明の名称
内燃機関のピストン
出願人
三菱自動車工業株式会社
代理人
ケー・ティー・アンド・エス弁理士法人
主分類
F02F
3/00 20060101AFI20250926BHJP(燃焼機関;熱ガスまたは燃焼生成物を利用する機関設備)
要約
【課題】スラスト側ではスカート部の中央部分の潤滑油を保持する一方で、反スラスト側では摺動抵抗を減らすことができる内燃機関のピストン1を提供する。
【解決手段】内燃機関のピストンは、スラスト側および反スラスト側にスカート部を有する内燃機関のピストンであって、スラスト側および反スラスト側の前記スカート部の中央に位置する第1領域に配置され、前記ピストンの摺動方向と交差する方向に延びる複数の第1溝を備え、前記スラスト側の前記第1領域は、前記反スラスト側の前記第1領域よりも広い。
【選択図】 図3
特許請求の範囲
【請求項1】
スラスト側および反スラスト側にスカート部を有する内燃機関のピストンであって、
前記スラスト側および前記反スラスト側の前記スカート部の中央に位置する第1領域に配置され、前記ピストンの摺動方向と交差する方向に延びる複数の第1溝を備え、
前記スラスト側の前記第1領域は、前記反スラスト側の前記第1領域よりも広い、
内燃機関のピストン。
続きを表示(約 470 文字)
【請求項2】
前記第1領域よりも前記スカート部の端部側に位置する第2領域に配置され、前記ピストンの摺動方向と交差する方向に傾いて延びる複数の第2溝と、
を備え、
前記スラスト側の前記第2溝は、前記第1領域側に向かうほど前記ピストンの頂面側に近づいて延び、
前記反スラスト側の前記第2溝は、前記第1領域から離れるほど、前記ピストンの頂面側に近づいて延びる、
請求項1に記載の内燃機関のピストン。
【請求項3】
前記第1領域よりも前記スカート部の端部側に位置する第3領域に配置され、前記ピストンの摺動方向に沿って延びる複数の第3溝をさらに備える、
前記反スラスト側の前記第3領域は、前記スラスト側の前記第3領域よりも広い、
請求項1に記載の内燃機関のピストン。
【請求項4】
前記反スラスト側の前記第1溝の前記ピストンの摺動方向の上死点側に配置され、オイルが供給されるオイル穴をさらに備える、
請求項1から3のいずれか1項に記載の内燃機関のピストン。
発明の詳細な説明
【技術分野】
【0001】
本開示は、内燃機関のピストンに関する。
続きを表示(約 1,700 文字)
【背景技術】
【0002】
従来、スカート部にパターン模様を形成した内燃機関のピストンが知られている(例えば特許文献1参照)。特許文献1の内燃機関のピストンでは、スラスト側および反スラスト側のスカート部の中央側から幅方向の端部側に向かって傾斜させた第1案内溝および第2案内溝が配置される。第1案内溝および第2案内溝は、スカート部に塗られたコーティングによって形成される。
【先行技術文献】
【特許文献】
【0003】
特開2017-223164号公報
【発明の概要】
【発明が解決しようとする課題】
【0004】
特許文献1の内燃機関のピストンは、ピストンとシリンダの間に存在する潤滑油を第1案内溝および第2案内溝に導入することによって、スカート部の中央部分に潤滑油を流している。しかし、特許文献1は、スカート部の中央部分の油膜を保持する構造については、開示していない。スラスト側のスカート部の中央部分は、上死点付近で最も潤滑油が少なくなる一方で、上死点付近は膨張行程の開始点でもあるためスカート部にかかる負荷が大きい。したがって、スラスト側のスカート部の中央部分は潤滑油を保持し続けることが好ましい。一方、反スラスト側は、スラスト側に比べるとシリンダから受ける負荷は小さい。このため、潤滑油がスカート部の面に沿って流れ、ピストンの摺動抵抗を減らす方が好ましい。
【0005】
本開示の課題は、スラスト側ではスカート部の中央部分の潤滑油を保持する一方で、反スラスト側では摺動抵抗を減らすことができる内燃機関のピストンを提供することである。
【課題を解決するための手段】
【0006】
本開示に係る内燃機関のピストンは、スラスト側および反スラスト側にスカート部を有する内燃機関のピストンであって、スラスト側および反スラスト側の前記スカート部の中央に位置する第1領域に配置され、前記ピストンの摺動方向と交差する方向に延びる複数の第1溝を備え、前記スラスト側の前記第1領域は、前記反スラスト側の前記第1領域よりも広い。
【発明の効果】
【0007】
この内燃機関のピストンによれば、スラスト側および反スラスト側の第1領域に配置される第1溝が潤滑油を保持する。一方、第1溝は、摺動方向と交差する方向に延びるため潤滑油が流れにくく摺動抵抗となる。スラスト側は、反スラスト側に比べて第1領域を広くすることによって、反スラスト側よりも潤滑油を保持しやすくしている。反スラスト側は、スラスト側よりも第1領域を減らすことによって摺動抵抗を減らしている。
【図面の簡単な説明】
【0008】
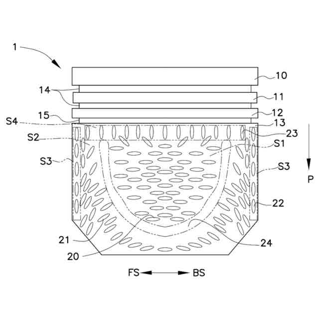
本開示の一実施形態による内燃機関のピストンを示す図。
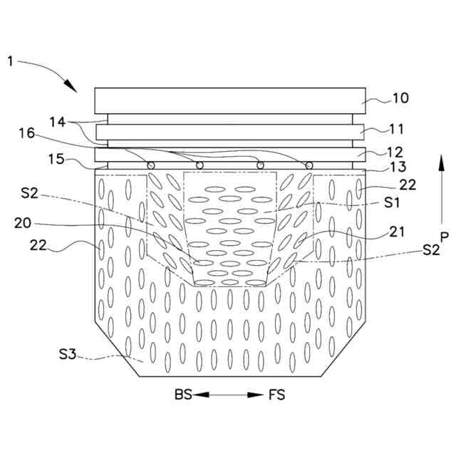
本開示の一実施形態によるピストンのスラスト側を示す図。
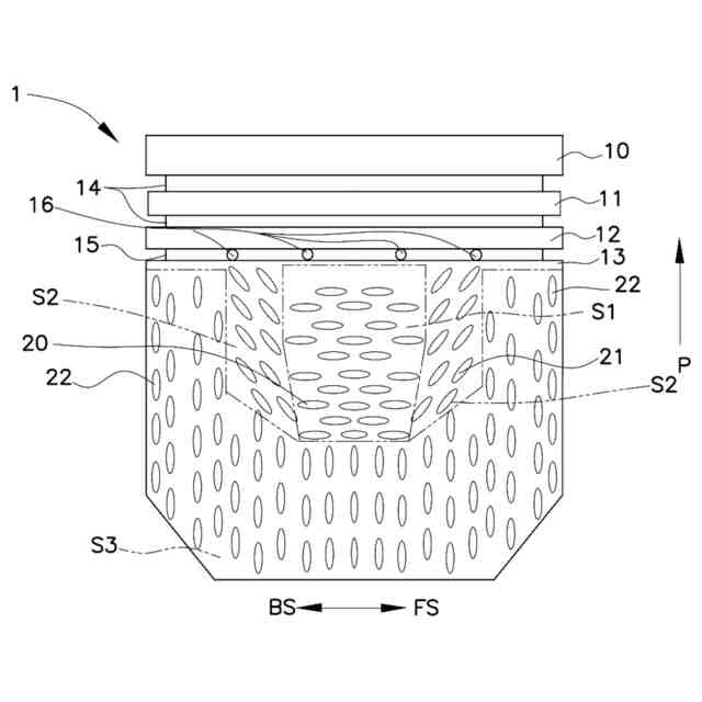
本開示の一実施形態によるピストンの反スラスト側を示す図。
【発明を実施するための形態】
【0009】
以下、本開示の一実施形態について、図面を参照しながら説明する。なお、内燃機関Eの摺動方向をP、吸気側をIN、排気側をEX、前側をFS、および後側をBSと図面に記す。本実施形態では、後述するシリンダ2が上下方向に配置され、ピストン1が上下方向に摺動する例を説明する。しかし、シリンダ2は、例えばV型エンジンなどのように、上下方向に対して傾けて配置されてもよい。さらにシリンダ2は、水平対向エンジンなどのように水平方向に沿って配置されてもよい。
【0010】
図1に示すように、内燃機関Eのピストン1は、シリンダ2の内部を摺動する。本実施形態では内燃機関Eは4サイクルのレシプロ型エンジンである。内燃機関Eは、吸気通路3ら空気を取り込み、燃焼室4で燃焼させて排気通路5に排気を流す。ピストン1は、圧縮行程において上死点まで上昇しながら混合気を圧縮する。ピストン1は、膨張行程において燃焼圧を受けながらクランクシャフト6を時計回りに回転させる。このため、ピストン1は、排気側EXがスラスト側であり、吸気側INが反スラスト側である。
(【0011】以降は省略されています)
この特許をJ-PlatPat(特許庁公式サイト)で参照する
関連特許
三菱自動車工業株式会社
自動車
3日前
三菱自動車工業株式会社
制御システム
2日前
三菱自動車工業株式会社
ハイブリッド車両
2日前
三菱自動車工業株式会社
ハイブリッド車両
2日前
三菱自動車工業株式会社
ハイブリッド車両
2日前
三菱自動車工業株式会社
情報処理システム
2日前
三菱自動車工業株式会社
内燃機関のピストン
2日前
三菱自動車工業株式会社
内燃機関のピストン
2日前
三菱自動車工業株式会社
車両の制御システム
3日前
三菱自動車工業株式会社
回転電機の冷却構造
4日前
三菱自動車工業株式会社
可変抵抗回路および制御回路
3日前
三菱自動車工業株式会社
水冷インタークーラシステム
3日前
三菱自動車工業株式会社
電池パックシステムの制御装置
2日前
トヨタ自動車株式会社
車両
27日前
トヨタ自動車株式会社
車両
1か月前
トヨタ自動車株式会社
車両
1か月前
ダイハツ工業株式会社
車両
25日前
ダイハツ工業株式会社
制御装置
24日前
ダイハツ工業株式会社
制御装置
24日前
スズキ株式会社
車両の制御装置
18日前
ダイハツ工業株式会社
制御装置
24日前
スズキ株式会社
内燃機関の制御装置
27日前
トヨタ自動車株式会社
内燃機関
16日前
個人
疑似可変サイクルジェットエンジン機構
1か月前
トヨタ自動車株式会社
車両の制御装置
16日前
株式会社SUBARU
エンジン制御装置
18日前
株式会社SUBARU
エンジン制御装置
24日前
個人
流体式推力方向制御装置
6日前
トヨタ自動車株式会社
内燃機関の制御装置
27日前
株式会社IHI原動機
脈動減衰装置
16日前
朝日電装株式会社
スロットルグリップ装置
6日前
トヨタ自動車株式会社
エンジンの制御装置
1か月前
トヨタ自動車株式会社
閾値の設定装置
6日前
トヨタ自動車株式会社
車両の制御装置
1か月前
トヨタ自動車株式会社
エンジン制御装置
2日前
トヨタ自動車株式会社
内燃機関の制御装置
27日前
続きを見る
他の特許を見る