TOP
|
特許
|
意匠
|
商標
特許ウォッチ
Twitter
他の特許を見る
公開番号
2025144996
公報種別
公開特許公報(A)
公開日
2025-10-03
出願番号
2024044957
出願日
2024-03-21
発明の名称
ハイブリッド車両
出願人
三菱自動車工業株式会社
代理人
個人
,
個人
,
個人
,
個人
,
個人
主分類
B60W
10/26 20060101AFI20250926BHJP(車両一般)
要約
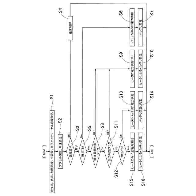
【課題】低温下でエンジンに対して発電要求がある場合に、ジェネレータで発電した電力を適切にバッテリとヒータに供給して、バッテリの充放電能力と充電量を速やかに回復させることが可能なハイブリッド車両を提供する。
【解決手段】エンジン2と、エンジン2に併設されたジェネレータ3と、ジェネレータ3で発電された電力を蓄えるバッテリ4と、バッテリ4に蓄えられた電力で車輪5を駆動する駆動用モータ6と、バッテリ4に併設されたヒータ7と、を備え、エンジン2に対して発電要求があり、かつ、バッテリ4の温度が低い場合に、ジェネレータ3で発電された電力が、バッテリ4とヒータ7の少なくとも一方に供給されるようになっており、バッテリ4の温度に基づいてバッテリ4とヒータ7への電力供給割合が変化する構成とする。
【選択図】図1
特許請求の範囲
【請求項1】
エンジンと、前記エンジンに併設されたジェネレータと、前記ジェネレータで発電された電力を蓄えるバッテリと、前記バッテリに蓄えられた電力で車輪を駆動する駆動用モータと、前記バッテリに併設されたヒータと、を備え、
前記エンジンに対して発電要求があり、かつ、前記バッテリの温度が低い場合に、前記ジェネレータで発電された電力が、前記バッテリと前記ヒータの少なくとも一方に供給されるようになっており、前記バッテリの温度に基づいて前記バッテリと前記ヒータへの電力供給割合が変化するように構成されたハイブリッド車両。
続きを表示(約 1,100 文字)
【請求項2】
前記バッテリの温度が上昇するにつれて、前記ヒータへの電力供給割合を低下させるとともに、前記バッテリへの電力供給割合を上昇させる請求項1に記載のハイブリッド車両。
【請求項3】
前記エンジンに設けられた触媒の温度が低く前記エンジンの出力制限がある場合、この出力制限がない場合に比べて、前記ジェネレータで発電された電力に占める前記ヒータに供給される電力の割合が高くなる請求項1または2に記載のハイブリッド車両。
【請求項4】
前記エンジンに設けられた触媒の温度が低く前記エンジンの出力制限があり、かつ、前記バッテリの温度が充電可能な限界最低温度である充電限界温度以下の場合は、前記ジェネレータで発電された電力のすべてを前記ヒータに供給し、
前記エンジンの出力制限がなく、かつ、前記バッテリの温度が前記充電限界温度以下の場合は、前記ジェネレータで発電された電力のうち前記ヒータに要求される電力を前記ヒータに供給する請求項1または2に記載のハイブリッド車両。
【請求項5】
前記エンジンに設けられた触媒の温度が低く前記エンジンの出力制限があり、かつ、前記バッテリの温度が充電可能な限界最低温度である充電限界温度よりも高い場合は、前記ジェネレータで発電された電力を前記ヒータと前記バッテリの両方に供給し、
前記エンジンの出力制限がなく、かつ、前記バッテリの温度が前記充電限界温度よりも高い場合は、前記ジェネレータで発電された電力を前記バッテリのみに供給する請求項1または2に記載のハイブリッド車両。
【請求項6】
前記バッテリの温度が充電可能な限界最低温度である充電限界温度以下の場合は、前記ジェネレータで発電された電力を前記ヒータと前記駆動用モータに供給し、
前記バッテリの温度が前記充電限界温度よりも高い場合は、前記ジェネレータで発電された電力を前記ヒータと前記バッテリに供給する請求項1または2に記載のハイブリッド車両。
【請求項7】
前記エンジンの出力制限がなく、かつ、前記バッテリの温度が充電可能な充電限界温度よりも高く前記バッテリの昇温が必要な加熱不要温度以下の場合において、前記駆動用モータに供給される電力と、前記ヒータに供給される電力の和である必要電力が前記エンジンの出力限界以下のときは、前記ジェネレータで前記必要電力を発電し、前記必要電力が前記エンジンの出力限界を超えるときは、前記ヒータに優先的に電力を供給し、その余剰電力を前記モータに供給するように制御される請求項1または2に記載のハイブリッド車両。
発明の詳細な説明
【技術分野】
【0001】
この発明は、ハイブリッド車両に関する。
続きを表示(約 1,700 文字)
【背景技術】
【0002】
ハイブリッド車(HV)、外部充電・外部給電が可能なプラグインハイブリッド(PHEV)車などの車両に搭載される車両駆動用のバッテリの充電量が低下すると、この充電量を回復するために、エンジンに併設されたジェネレータに対し発電要求が発せられる。ところが、低温下においてはバッテリの充放電能力が低下し、ジェネレータの発電によってバッテリがスムーズに充電できないことがある。
【0003】
低温下におけるバッテリの充放電能力を回復するために、例えば下記特許文献1においては、バッテリ21からの電力によってヒータ24を発熱させてバッテリ21を加熱することによって、バッテリの充放電能力を回復させている(特許文献1の段落0020~0023、図2等を参照)。また、下記特許文献2においては、モータMG1により発電された電力により電池用ヒータ8を作動させることによって、電池6の暖機を行っている(特許文献2の段落0020~0023、図1等を参照)。
【先行技術文献】
【特許文献】
【0004】
特開2022-99418号公報
特開2009-248888号公報
【発明の概要】
【発明が解決しようとする課題】
【0005】
特許文献1に係る構成においては、充放電能力が低下したバッテリ21からヒータ24に電力を送ることでバッテリ21に更なる負担がかかるため、システムがダウンするおそれがある。また、特許文献2に係る構成においては、低温下で触媒性能が低下している状態でエンジンを通常駆動させることになるため、Euro7等の将来の排ガス規制に適合しなくなるおそれがある。
【0006】
そこで、この発明は、低温下でエンジンに対して発電要求がある場合に、ジェネレータで発電した電力を適切にバッテリとヒータに供給して、バッテリの充放電能力と充電量を速やかに回復させることを課題とする。
【課題を解決するための手段】
【0007】
上記の課題を解決するために、この発明においては、
エンジンと、前記エンジンに併設されたジェネレータと、前記ジェネレータで発電された電力を蓄えるバッテリと、前記バッテリに蓄えられた電力で車輪を駆動する駆動用モータと、前記バッテリに併設されたヒータと、を備え、
前記エンジンに対して発電要求があり、かつ、前記バッテリの温度が低い場合に、前記ジェネレータで発電された電力が、前記バッテリと前記ヒータの少なくとも一方に供給されるようになっており、前記バッテリの温度に基づいて前記バッテリと前記ヒータへの電力供給割合が変化するように構成されたハイブリッド車両を構成(第1構成)した。
【0008】
第1構成においては、前記バッテリの温度が上昇するにつれて、前記ヒータへの電力供給割合を低下させるとともに、前記バッテリへの電力供給割合を上昇させる構成(第2構成)とすることができる。
【0009】
第1構成または第2構成においては、前記エンジンに設けられた触媒の温度が低く前記エンジンの出力制限がある場合、この出力制限がない場合に比べて、前記ジェネレータで発電された電力に占める前記ヒータに供給される電力の割合が高くなる構成(第3構成)とすることができる。
【0010】
第1構成または第2構成においては、前記エンジンに設けられた触媒の温度が低く前記エンジンの出力制限があり、かつ、前記バッテリの温度が充電可能な限界最低温度である充電限界温度以下の場合は、前記ジェネレータで発電された電力のすべてを前記ヒータに供給し、前記エンジンの出力制限がなく、かつ、前記バッテリの温度が前記充電限界温度以下の場合は、前記ジェネレータで発電された電力のうち前記ヒータに要求される電力を前記ヒータに供給する構成(第4構成)とすることができる。
(【0011】以降は省略されています)
この特許をJ-PlatPat(特許庁公式サイト)で参照する
関連特許
三菱自動車工業株式会社
自動車
4日前
三菱自動車工業株式会社
車両構造
7日前
三菱自動車工業株式会社
制御システム
3日前
三菱自動車工業株式会社
ハイブリッド車両
3日前
三菱自動車工業株式会社
ハイブリッド車両
3日前
三菱自動車工業株式会社
ハイブリッド車両
3日前
三菱自動車工業株式会社
情報処理システム
3日前
三菱自動車工業株式会社
内燃機関のピストン
3日前
三菱自動車工業株式会社
内燃機関のピストン
3日前
三菱自動車工業株式会社
車両の制御システム
4日前
三菱自動車工業株式会社
回転電機の冷却構造
5日前
三菱自動車工業株式会社
車両のコンソールボックス
5日前
三菱自動車工業株式会社
可変抵抗回路および制御回路
4日前
三菱自動車工業株式会社
水冷インタークーラシステム
4日前
三菱自動車工業株式会社
電池パックシステムの制御装置
3日前
個人
カーテント
4か月前
個人
タイヤレバー
2か月前
個人
車窓用防虫網戸
4か月前
個人
警告装置
5か月前
個人
前輪キャスター
1か月前
個人
上部一体型自動車
3日前
個人
小型EVシステム
5か月前
個人
ホイルのボルト締結
3か月前
個人
ルーフ付きトライク
1か月前
個人
車輪清掃装置
4か月前
個人
タイヤ脱落防止構造
1か月前
日本精機株式会社
ケース
6か月前
日本精機株式会社
表示装置
2か月前
日本精機株式会社
表示装置
2か月前
個人
マスタシリンダ
10日前
日本精機株式会社
表示装置
2か月前
井関農機株式会社
作業車両
3か月前
井関農機株式会社
作業車両
3か月前
日本精機株式会社
表示装置
1か月前
個人
キャンピングトライク
3か月前
個人
車両通過構造物
2か月前
続きを見る
他の特許を見る