TOP
|
特許
|
意匠
|
商標
特許ウォッチ
Twitter
他の特許を見る
公開番号
2025142743
公報種別
公開特許公報(A)
公開日
2025-10-01
出願番号
2024042266
出願日
2024-03-18
発明の名称
車両のコンソールボックス
出願人
三菱自動車工業株式会社
代理人
個人
主分類
B60R
7/04 20060101AFI20250924BHJP(車両一般)
要約
【課題】側面衝突後であってもシートベルトのバックル解除操作を機能を維持する車両のコンソールボックスを提供する。
【解決手段】側面衝突が発生すると、車幅方向から入力する衝突荷重によって座席10が車幅方向内側に変位し、シートクッション14の後部寄りの箇所がコンソールボックス12の第2側壁22Bの車両後方寄りの箇所にぶつかり車幅方向においてコンソールボックス12が圧縮される方向に第2側壁22Bが変形する。第2側壁22Bの変形に伴って係合軸38のくさび部3804が筒部4002に進入してくさび部3804が係合壁4004に係合した状態となり、くさび部3804の後退が阻止された状態となる。
【選択図】図2
特許請求の範囲
【請求項1】
車幅方向に並べられた座席の間に車両前後方向に延在するコンソールボックスが配置され、
前記座席のシートクッションと前記コンソールボックスとの間にシートベルトのバックルが配置された車両のコンソールボックスであって、
側面衝突時に前記シートクッションにより前記コンソールボックスが車幅方向に変形した際に、前記コンソールボックスの変形した状態を維持する変形維持機構が前記コンソールボックスの内部に設けられている、
ことを特徴とする車両のコンソールボックス。
続きを表示(約 810 文字)
【請求項2】
前記コンソールボックスは、車幅方向において互いに対向する第1側壁と第2側壁とを備え、
前記変形維持機構は、前記第1側壁と前記第2側壁との間に設けられ、前記第1側壁と前記第2側壁とが接近する方向に変位することを許容し、前記第1側壁と前記第2側壁とが離反する方向へ変位することを阻止する、
ことを特徴とする請求項1記載の車両のコンソールボックス。
【請求項3】
前記第1側壁と前記第2側壁には、上下方向の高さを有して車両前後方向に延在する補強プレートが一対設けられ、
前記変形維持機構は、前記一対の補強プレート間に設けられている、
ことを特徴とする請求項2記載の車両のコンソールボックス。
【請求項4】
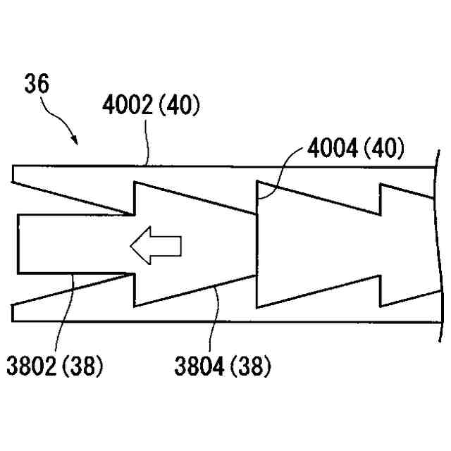
前記変形維持機構は、前記第1側壁から前記第2側壁に向かって車幅方向に延在しその先部にくさび部が設けられた係合軸と、前記第2側壁から前記第1側壁に向かって車幅方向に延在しその内部に前記くさび部の進入を許容しかつ前記くさび部の後退を阻止する係合部が複数設けられた係合筒とを含んで構成されている、
ことを特徴とする請求項2または3記載の車両のコンソールボックス。
【請求項5】
車幅方向に延在し前記第1側壁と前記第2側壁とを接続する上壁部に上下方向に貫通する貫通孔が設けられ、
前記貫通孔を構成する壁面で車幅方向において互いに対向する一対の壁面の少なくとも上部は、それら壁面が上方に至るにつれてそれらの距離が次第に大きくなる孔用傾斜面で形成され、
前記孔用傾斜面に係合可能なホルダー用傾斜面を有するカップホルダーが設けられ、
前記孔用傾斜面に前記ホルダー用傾斜面を合わせて前記貫通孔にカップホルダーが配置されている、
ことを特徴とする請求項2記載の車両のコンソールボックス。
発明の詳細な説明
【技術分野】
【0001】
本発明は車両のコンソールボックスに関する。
続きを表示(約 4,400 文字)
【背景技術】
【0002】
車幅方向に並べられた座席の間に車両前後方向に延在するコンソールボックスが配置された車両が提供されている。
このような車両においてシートベルト装置のバックルは、コンソールボックスの車幅方向の側方を向いた側壁とシートクッションの側部との間の空間に配置される。
【先行技術文献】
【特許文献】
【0003】
特開2012-183908号公報
【発明の概要】
【発明が解決しようとする課題】
【0004】
ところで、側面衝突が発生し衝突荷重によって座席のシートが車幅方向に変位してコンソールボックスの側壁にぶつかると、車幅方向においてコンソールボックスが圧縮される方向に側壁が変形する。
この際、シートとコンソールボックスの側壁とが接近するため、座席に着座した乗員の腰部とコンソールボックスの側壁との間も接近し、バックルは腰部と側壁に挟まれた状態となる。
そして、衝突荷重の入力が解除されると、シートは内部のシートフレームの弾性によって衝突前の形状に復帰しようとするため、シートは車幅方向において側壁から離れる方向に若干変位する。
このとき、コンソールボックスの側壁もその弾性によってシートクッションの変位に追従して変形前の形状に戻ろうとするため、側面衝突時に形成された乗員の腰部とコンソールボックスの側壁は挟まれた状態が維持される。
したがって、乗員がシートベルトを外す際、乗員はリリースボタンの入力が大きく、バックルの解除操作を容易に行なうことが難しい。
本発明はこのような事情に鑑みてなされたものであり、本発明の目的は、側面衝突後であってもシートベルトのバックル解除操作機能を維持する車両のコンソールボックスを提供することにある。
【課題を解決するための手段】
【0005】
上述の目的を達成するため、本発明の一実施の形態は、車幅方向に並べられた座席の間に車両前後方向に延在するコンソールボックスが配置され、前記座席のシートクッションと前記コンソールボックスとの間にシートベルトのバックルが配置された車両のコンソールボックスであって、側面衝突時に前記シートクッションにより前記コンソールボックスが車幅方向に変形した際に、前記コンソールボックスの変形した状態を維持する変形維持機構が前記コンソールボックスの内部に設けられていることを特徴とする。
また、本発明の一実施の形態は、前記コンソールボックスは、車幅方向において互いに対向する第1側壁と第2側壁とを備え、前記変形維持機構は、前記第1側壁と前記第2側壁との間に設けられ、前記第1側壁と前記第2側壁とが接近する方向に変位することを許容し、前記第1側壁と前記第2側壁とが離反する方向へ変位することを阻止することを特徴とするス。
また、本発明の一実施の形態は、前記第1側壁と前記第2側壁には、上下方向の高さを有して車両前後方向に延在する補強プレートが一対設けられ、前記変形維持機構は、前記一対の補強プレート間に設けられていることを特徴とする。
また、本発明の一実施の形態は、前記変形維持機構は、前記第1側壁から前記第2側壁に向かって車幅方向に延在しその先部にくさび部が設けられた係合軸と、前記第2側壁から前記第1側壁に向かって車幅方向に延在しその内部に前記くさび部の進入を許容しかつ前記くさび部の後退を阻止する係合部が複数設けられた係合筒とを含んで構成されていることを特徴とする。
また、本発明の一実施の形態は、車幅方向に延在し前記第1側壁と前記第2側壁とを接続する上壁部に上下方向に貫通する貫通孔が設けられ、前記貫通孔を構成する壁面で車幅方向において互いに対向する一対の壁面の少なくとも上部は、それら壁面が上方に至るにつれてそれらの距離が次第に大きくなる孔用傾斜面で形成され、前記孔用傾斜面に係合可能なホルダー用傾斜面を有するカップホルダーが設けられ、前記孔用傾斜面に前記ホルダー用傾斜面を合わせて前記貫通孔にカップホルダーが配置されていることを特徴とする。
【発明の効果】
【0006】
本発明の一実施の形態によれば、側面衝突時にシートによりコンソールボックスが車幅方向に変形した際に、コンソールボックスの変形した状態を維持する変形維持機構がコンソールボックスの内部に設けられている。
そのため、衝突荷重の入力が解除されることにより乗員の腰部とコンソールボックスとの間の空間を車幅方向に確保することができ、乗員は車幅方向に確保された空間に手指を挿入してバックルのリリースボタンを操作でき、バックルの解除操作機能を維持する。
また、コンソールボックスが車幅方向において互いに対向する第1側壁と第2側壁とを備える場合、変形維持機構は第1側壁と第2側壁との間に設けることができる。
また、第1側壁と第2側壁に補強プレートを一対設け、係合軸と係合筒を一対の補強プレート間に設けると、側面衝突によって車幅方向から入力する衝突荷重が一対の補強プレートによって受け止められるため、コンソールボックス側壁を全体的に効率よく車幅方向に変形させることができる。したがって、乗員の腰部とコンソールボックスとの間の空間が車幅方向に確実に確保され、乗員は確保された空間に手指を挿入してバックルのリリースボタンの解除操作ができる。
また、変形維持機構を、くさび部が設けられた係合軸と、くさび部の進入を許容し、かつ、くさび部の後退を阻止する係合部が複数設けられた係合筒とを含んで構成すると、変形維持機構の構成の簡素化を図る上で有利となる。
また、車幅方向に延在し第1側壁と第2側壁とを接続する壁部に設けた貫通孔に形成した孔用傾斜面に係合可能なホルダー用傾斜面を有するカップホルダーを設け、孔用傾斜面にホルダー用傾斜面を合わせて貫通孔にカップホルダーを配置すると、側面衝突によって車幅方向から入力する衝突荷重によってカップホルダーが上方に移動して貫通孔から離脱する。そのため、貫通孔が開放されて壁部の強度が低下することにより、コンソールボックスの側壁を全体的に効率よく車幅方向に変形させる。そのため、乗員の腰部とコンソールボックスとの間の空間が車幅方向に確実に確保され、乗員は確保された空間に手指を挿入してバックルのリリースボタンを操作でき、バックルの解除操作機能を維持する。
【図面の簡単な説明】
【0007】
実施の形態に係るコンソールボックスの平面図である。
図1のA-A線断面図である。
図1のB矢視図である。
変形維持機構の断面図である。
変形維持機構の係合軸と係合筒が係合した状態を示す断面図である。
側面衝突によりシートクッションがコンソールボックスの側壁を変形させた状態を示す平面図である。
図6のC-C線断面図であり、補強プレートの図示が省略されている。
シートクッションとコンソールボックスとの位置関係を示す平面図であり、(A)は側面衝突発生前の状態、(B)は側面衝時の状態、(C)は側面衝突の衝突荷重が解除された状態を示す。
【発明を実施するための形態】
【0008】
以下、本発明の実施の形態について図面を参照して説明する。
なお、以下の図面において矢印FRは車両前方を示し、矢印HLは車幅方向を示し、矢印UPは車両上方を示す。
図8(A)に示すように、車幅方向に並べられた座席10の間に車両前後方向に延在するコンソールボックス12が配置されている。
座席10は、乗員Hが着座するシートクッション14と、シートクッション14の後端に車幅方向に軸心を向けた不図示のリクライニング軸を介してシートクッション14の後部で揺動可能に支持されたシートバック16とを備え、それらシートクッション14およびシートバック16の内部にはそれらの形状を保持するための不図示のシートフレームが設けられている。
シートクッション14の車両後方の両側にはリクライニング軸の両端を覆うように合成樹脂製のシールド18(カバー)が取り付けられている。
シートクッション14とコンソールボックス12との間には、不図示のシートベルトのタングが着脱されるバックル20が配置され、バックル20には操作することでタングの係合を解除する不図示のリリースボタンが設けられている。
バックル20は、不図示の支持ステー(ストーク)を介してシートクッション14のシートフレームあるいは不図示のフロアパネルに対して車両前後方向に揺動可能に連結されている。
【0009】
コンソールボックス12は合成樹脂製である。
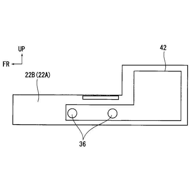
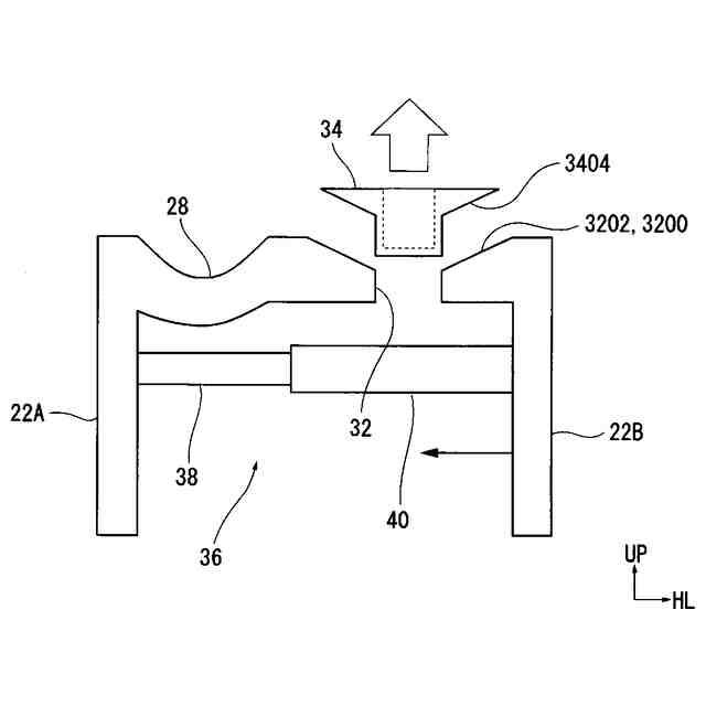
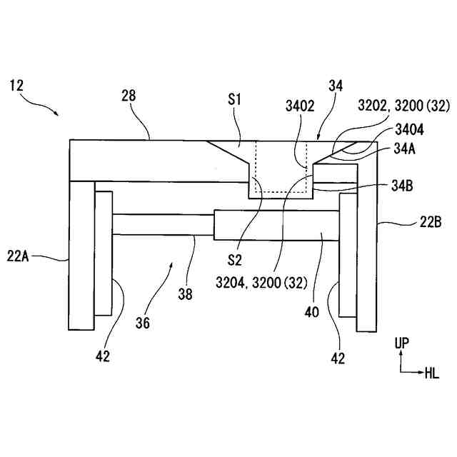
図1、図2に示すように、コンソールボックス12は、上下方向に延在し車幅方向において互いに対向する第1側壁22Aと第2側壁22Bと、それら第1、第2側壁22A、22Bの前端を接続する前壁24と、それら第1、第2側壁22A、22Bの後端を接続する後壁26と、車幅方向に延在しそれら第1、第2側壁22A、22B、前壁24、後壁26の上端を接続し上方を向いた上壁(壁部)28とを含んで構成され、コンソールボックス12の後部には、蓋により開閉される物品収納部30が設けられている。
【0010】
物品収納部30の前方の上壁28には、平面視、車両の前後方向に長辺が延在する長方形の貫通孔32が設けられ、この貫通孔32を介してカップホルダー34が設けられている。
図2に示すように、貫通孔32を構成する壁面で車幅方向において互いに対向する一対の壁面3200の少なくとも上部は、それら壁面が上方に至るにつれてそれらの距離が次第に大きくなる一対の孔用傾斜面3202で形成され、一対の壁面3200の下部は平坦面3204で形成され、それら平坦面3204は均一の寸法を空けて互いに対向している。すなわち、貫通孔32内の上部は、一対の孔用傾斜面3202で形成された上部空間S1となっており、貫通穴内の下部は、一対の平坦面3204で形成された下部空間S2となっている。
なお、本発明の一実施の形態では、車幅方向において互いに対向する一対の壁面3200の少なくとも上部に一対の孔用傾斜面3202を設けたが、一対の壁面3200の全域に一対の孔用傾斜面3202を設けても良い。
(【0011】以降は省略されています)
この特許をJ-PlatPat(特許庁公式サイト)で参照する
関連特許
個人
カーテント
4か月前
個人
タイヤレバー
2か月前
個人
前輪キャスター
1か月前
個人
車窓用防虫網戸
4か月前
個人
上部一体型自動車
4日前
個人
タイヤ脱落防止構造
1か月前
個人
ルーフ付きトライク
2か月前
個人
ホイルのボルト締結
3か月前
個人
車輪清掃装置
4か月前
個人
キャンピングトライク
3か月前
日本精機株式会社
表示装置
2か月前
日本精機株式会社
表示装置
2か月前
日本精機株式会社
表示装置
2か月前
個人
車両通過構造物
2か月前
日本精機株式会社
表示装置
1か月前
井関農機株式会社
作業車両
3か月前
個人
マスタシリンダ
11日前
井関農機株式会社
作業車両
4か月前
個人
乗合路線バスの客室装置
2か月前
個人
キャンピングトレーラー
3か月前
個人
アクセルのソフトウェア
3か月前
個人
車両用スリップ防止装置
3か月前
個人
ワイパーゴム性能保持具
4か月前
個人
円湾曲ホイール及び球体輪
2か月前
日本精機株式会社
車室演出装置
1か月前
株式会社ニフコ
保持装置
3か月前
株式会社ニフコ
収納装置
28日前
日本精機株式会社
車載表示装置
3か月前
株式会社豊田自動織機
産業車両
2か月前
株式会社クラベ
ヒータユニット
4か月前
個人
車載小物入れ兼雨傘収納具
3か月前
個人
音声ガイド、音声サービス
2か月前
井関農機株式会社
収穫作業車両
4か月前
日本精機株式会社
車載表示装置
19日前
株式会社ニフコ
照明装置
1か月前
トヨタ自動車株式会社
車両
3か月前
続きを見る
他の特許を見る