TOP
|
特許
|
意匠
|
商標
特許ウォッチ
Twitter
他の特許を見る
公開番号
2025144101
公報種別
公開特許公報(A)
公開日
2025-10-02
出願番号
2024043713
出願日
2024-03-19
発明の名称
自動車
出願人
三菱自動車工業株式会社
代理人
個人
,
弁理士法人真田特許事務所
主分類
B60K
7/00 20060101AFI20250925BHJP(車両一般)
要約
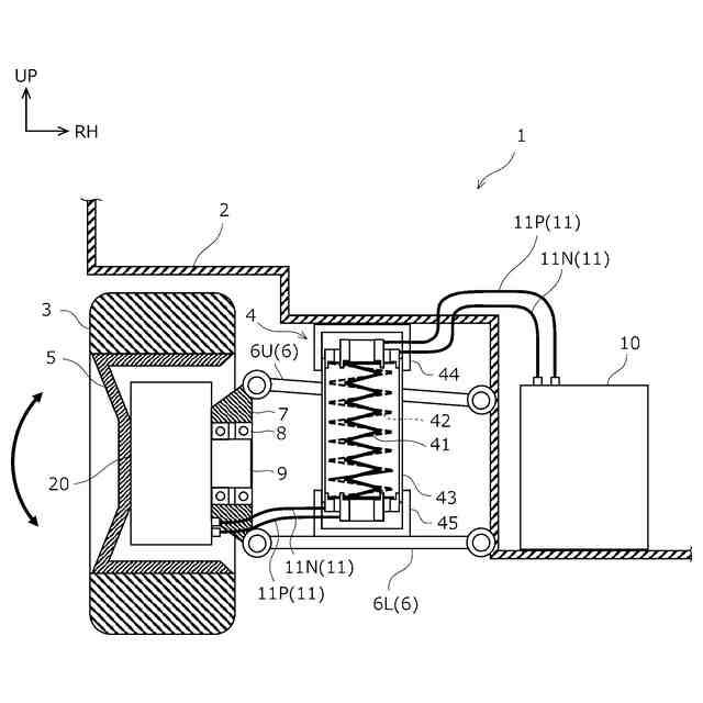
【課題】簡素な構成でレイアウトの制約が少なく、且つ、磁気及びダストを遮蔽できるように高圧電力線を配索する。
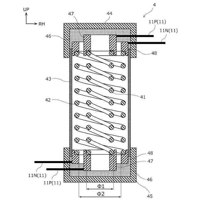
【解決手段】自動車1は、車体2側に設けられ、第一線11P及び第二線11Nを含む複数の高圧電力線11を介して電力を供給するバッテリ10と、車輪3側に設けられ、バッテリ10から供給された電力が入力される電気機器20と、車体2に対して車輪3を支持し、車輪3から入力される振動を吸収するサスペンション装置4と、を備える。サスペンション装置4は、導電性材料で形成されており振動を吸収するとともに第一線11Pの一部をなす第一スプリング41と、導電性材料で形成されており第一スプリング41とは別体且つ非接触に配置されて振動を吸収するとともに第二線11Nの一部をなす第二スプリング42と、第一スプリング41及び第二スプリング42の外周を覆うように設けられたシールド部材43と、を備える。
【選択図】図1
特許請求の範囲
【請求項1】
車体側に設けられ、少なくとも第一線及び第二線を含む複数の高圧電力線を介して電力を供給するバッテリと、
車輪側に設けられ、前記バッテリから供給された前記電力が入力される電気機器と、
前記車体に対して前記車輪を支持し、前記車輪から入力される振動を吸収するサスペンション装置と、を備え、
前記サスペンション装置は、
導電性材料で形成されており、前記振動を吸収するとともに前記第一線の一部をなす第一スプリングと、
前記導電性材料で形成されており、前記第一スプリングとは別体且つ非接触に配置されて前記振動を吸収するとともに前記第二線の一部をなす第二スプリングと、
前記第一スプリング及び前記第二スプリングの外周を覆うように設けられ、前記第一スプリング及び前記第二スプリングを外部に対して磁気的に遮断するとともに前記外部からのダストの侵入を防ぐシールド部材と、を備えた
ことを特徴とする、自動車。
続きを表示(約 470 文字)
【請求項2】
前記サスペンション装置は、
前記第一スプリング及び前記第二スプリングにおける前記車体側の一端及び前記車輪側の他端のそれぞれに配設され、絶縁性材料で形成されたゴムブッシュと、
前記第一スプリングの前記一端及び前記他端のそれぞれと前記ゴムブッシュとの間に配設され、前記第一スプリングを前記第一線の他部に接続する第一端子台と、
前記第二スプリングの前記一端及び前記他端のそれぞれと前記ゴムブッシュとの間に配設され、前記第二スプリングを前記第二線の他部に接続する第二端子台と、を備えた
ことを特徴とする、請求項1記載の自動車。
【請求項3】
前記第一スプリング及び前記第二スプリングはいずれも、コイルスプリングであり、
前記第一スプリング及び前記第二スプリングの一方の外径が他方の内径よりも小さく設定されており、
前記第一スプリング及び前記第二スプリングの前記一方が前記他方の内側で同心上に配置されている
ことを特徴とする、請求項1又は2記載の自動車。
発明の詳細な説明
【技術分野】
【0001】
本件は、車体側に搭載されたバッテリから車輪側に搭載された電気機器へ電力が供給されるように構成された自動車に関する。
続きを表示(約 2,000 文字)
【背景技術】
【0002】
車体側に搭載されたバッテリから車輪側に搭載された電気機器へ電力が供給されるように構成された自動車が知られる。例えば、インホイールモータを備えた電気自動車では、車輪のハブ内部に装備されたインホイールモータに対して、車体に搭載されたバッテリから高圧電力線を用いて電力が供給される。例えば特許文献1には、車体と車輪との間のサスペンション装置に沿って高圧電力線を配索する配索構造が開示されている。
また、特許文献2には、車体と車輪との間に配備されたサスペンション装置のコイルスプリングを導線として用いて、車輪に内蔵されたセンサの検出信号を車体側へ伝達する技術が開示されている。
【先行技術文献】
【特許文献】
【0003】
特開2020-125013号公報
特開平10-338112号公報
【発明の概要】
【発明が解決しようとする課題】
【0004】
しかしながら、上記の特許文献1のような、サスペンション装置が配置された箇所に高圧電力線を配索する構造では、高圧電力線に曲げが加わりやすく電力線が疲労破断するおそれがある。また、曲げが加わりにくいように高圧電力線を配索した場合にはレイアウト上の制約が生じ得る。
また、上記の特許文献2のような、サスペンション装置のコイルスプリングで導線の一部を構成する技術を、高圧電力線に適用する場合、磁気の発生に対する対策が必要となる。
【0005】
本件の自動車は、上記のような課題に鑑み創案されたものであり、簡素な構成でレイアウトの制約が少なく、且つ、磁気及びダストを遮蔽できるように高圧電力線を配索することを目的の一つとする。なお、この目的に限らず、後述する発明を実施するための形態に示す各構成により導かれる作用効果であって、従来の技術によっては得られない作用効果を奏することも本件の他の目的である。
【課題を解決するための手段】
【0006】
開示の自動車は、以下に開示する態様(適用例)として実現でき、上記の課題の少なくとも一部を解決する。態様2以降の各態様は、いずれもが付加的に適宜選択されうる態様であって、いずれもが省略可能な態様である。態様2以降の各態様は、いずれもが本件にとって必要不可欠な態様や構成を開示するものではない。
【0007】
態様1.開示する自動車は、車体側に設けられ、少なくとも第一線及び第二線を含む複数の高圧電力線を介して電力を供給するバッテリと、車輪側に設けられ、前記バッテリから供給された前記電力が入力される電気機器と、前記車体に対して前記車輪を支持し、前記車輪から入力される振動を吸収するサスペンション装置と、を備える。前記サスペンション装置は、導電性材料で形成されており、前記振動を吸収するとともに前記第一線の一部をなす第一スプリングと、前記導電性材料で形成されており、前記第一スプリングとは別体且つ非接触に配置されて前記振動を吸収するとともに前記第二線の一部をなす第二スプリングと、前記第一スプリング及び前記第二スプリングの外周を覆うように設けられ、前記第一スプリング及び前記第二スプリングを外部に対して磁気的に遮断するとともに前記外部からのダストの侵入を防ぐシールド部材と、を備えている。
【0008】
態様2.上記の態様1を含む態様において、前記サスペンション装置は、前記第一スプリング及び前記第二スプリングにおける前記車体側の一端及び前記車輪側の他端のそれぞれに配設され、絶縁性材料で形成されたゴムブッシュと、前記第一スプリングの前記一端及び前記他端のそれぞれと前記ゴムブッシュとの間に配設され、前記第一スプリングを前記第一線の他部に接続する第一端子台と、前記第二スプリングの前記一端及び前記他端のそれぞれと前記ゴムブッシュとの間に配設され、前記第二スプリングを前記第二線の他部に接続する第二端子台と、を備えていることが好ましい。
【0009】
態様3.上記の態様1を含む態様において、前記第一スプリング及び前記第二スプリングはいずれも、コイルスプリングであり、前記第一スプリング及び前記第二スプリングの一方の外径が他方の内径よりも小さく設定されており、前記第一スプリング及び前記第二スプリングの前記一方が前記他方の内側で同軸上に配置されていることが好ましい。
【発明の効果】
【0010】
開示の自動車によれば、簡素な構成でレイアウトの制約が少なく、且つ、磁気及びダストを遮蔽できるように高圧電力線を配索することができる。
【図面の簡単な説明】
(【0011】以降は省略されています)
この特許をJ-PlatPat(特許庁公式サイト)で参照する
関連特許
個人
カーテント
4か月前
個人
タイヤレバー
2か月前
個人
車窓用防虫網戸
4か月前
個人
前輪キャスター
1か月前
個人
ホイルのボルト締結
3か月前
個人
タイヤ脱落防止構造
1か月前
個人
車輪清掃装置
4か月前
個人
ルーフ付きトライク
1か月前
日本精機株式会社
表示装置
2か月前
日本精機株式会社
表示装置
2か月前
井関農機株式会社
作業車両
3か月前
日本精機株式会社
表示装置
2か月前
個人
マスタシリンダ
6日前
井関農機株式会社
作業車両
3か月前
日本精機株式会社
表示装置
1か月前
個人
車両通過構造物
2か月前
個人
キャンピングトライク
3か月前
個人
乗合路線バスの客室装置
2か月前
個人
アクセルのソフトウェア
3か月前
個人
ワイパーゴム性能保持具
4か月前
個人
車両用スリップ防止装置
3か月前
個人
キャンピングトレーラー
3か月前
井関農機株式会社
収穫作業車両
4か月前
日本精機株式会社
車室演出装置
1か月前
個人
音声ガイド、音声サービス
2か月前
株式会社ニフコ
照明装置
1か月前
個人
円湾曲ホイール及び球体輪
2か月前
株式会社ニフコ
保持装置
3か月前
日本精機株式会社
車載表示装置
14日前
株式会社ニフコ
収納装置
23日前
個人
車載小物入れ兼雨傘収納具
3か月前
株式会社クラベ
ヒータユニット
4か月前
株式会社豊田自動織機
産業車両
1か月前
日本精機株式会社
車載表示装置
3か月前
日本精機株式会社
車両用表示装置
1か月前
井関農機株式会社
作業車両
3か月前
続きを見る
他の特許を見る