TOP
|
特許
|
意匠
|
商標
特許ウォッチ
Twitter
他の特許を見る
公開番号
2025145746
公報種別
公開特許公報(A)
公開日
2025-10-03
出願番号
2024046116
出願日
2024-03-22
発明の名称
内燃機関のピストン
出願人
三菱自動車工業株式会社
代理人
ケー・ティー・アンド・エス弁理士法人
主分類
F02F
3/00 20060101AFI20250926BHJP(燃焼機関;熱ガスまたは燃焼生成物を利用する機関設備)
要約
【課題】スラスト側のスカート部の中央部分の潤滑油を保持しやすい内燃機関のピストンを提供する。
【解決手段】内燃機関のピストンは、スラスト側にスカート部を有する内燃機関のピストンであって、前記スカート部の中央に位置する第1領域に配置され、前記ピストンの摺動方向と交差する方向に延びる複数の第1溝と、前記第1領域よりも前記スカート部の端部側に位置する第2領域に配置され、前記第1領域側に向かうほど前記摺動方向と交差する方向に傾いて形成される複数の第2溝と、を備える。
【選択図】 図2
特許請求の範囲
【請求項1】
スラスト側にスカート部を有する内燃機関のピストンであって、
前記スカート部の中央に位置する第1領域に配置され、前記ピストンの摺動方向と交差する方向に延びる複数の第1溝と、
前記第1領域よりも前記スカート部の端部側に位置する第2領域に配置され、前記第1領域側に向かうほど前記摺動方向と交差する方向に傾いて形成される複数の第2溝と、
を備える、
内燃機関のピストン。
続きを表示(約 350 文字)
【請求項2】
前記第1領域と前記第2領域との間に、前記スカート部の面が延びる接触面をさらに備える、
請求項1に記載の内燃機関のピストン。
【請求項3】
前記第2領域よりも前記スカート部の端部側に位置する第3領域に配置され、前記ピストンの摺動方向に沿って延びる複数の第3溝をさらに備える、
請求項1に記載の内燃機関のピストン。
【請求項4】
前記スカート部の前記ピストンの前記摺動方向の上死点側に位置し、オイルリングが挿入されるオイルリング溝と、
前記オイルリング溝に沿って位置する第4領域に配置され、前記ピストンの摺動方向に沿って延びる複数の第4溝と、
をさらに備える、
請求項1から3のいずれか1項に記載の内燃機関のピストン。
発明の詳細な説明
【技術分野】
【0001】
本開示は、内燃機関のピストンに関する。
続きを表示(約 1,600 文字)
【背景技術】
【0002】
従来、スカート部にパターン模様を形成した内燃機関のピストンが知られている(例えば特許文献1参照)。特許文献1の内燃機関のピストンでは、スラスト側のスカート部の中央側から幅方向の端部側に向かって傾斜させた第1案内溝および第2案内溝が配置される。第1案内溝および第2案内溝は、スカート部に塗られたコーティングによって形成される。
【先行技術文献】
【特許文献】
【0003】
特開2017-223164号公報
【発明の概要】
【発明が解決しようとする課題】
【0004】
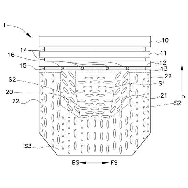
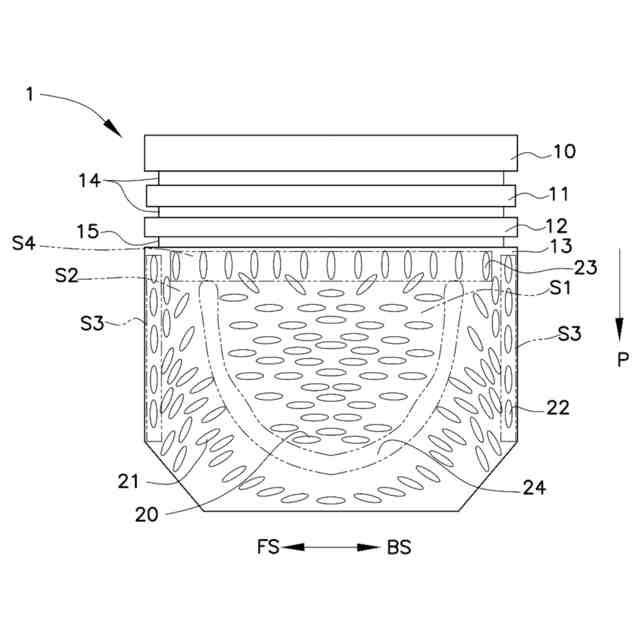
特許文献1の内燃機関のピストンは、ピストンとシリンダの間に存在する潤滑油を第1案内溝および第2案内溝に導入することによって、スカート部の中央部分に潤滑油を流している。しかし、特許文献1は、スカート部の中央部分の油膜を保持する構造については、開示していない。スラスト側のスカート部の中央部分は、上死点付近で最も潤滑油が少なくなる一方で、上死点付近は膨張行程の開始点でもあるためスカート部にかかる負荷が大きい。したがって、スラスト側のスカート部の中央部分は潤滑油を保持し続けることが好ましい。
【0005】
本開示の課題は、スラスト側のスカート部の中央部分の潤滑油を保持しやすい内燃機関のピストンを提供することである。
【課題を解決するための手段】
【0006】
本開示に係る内燃機関のピストンは、スラスト側にスカート部を有する内燃機関のピストンであって、前記スカート部の中央に位置する第1領域に配置され、前記ピストンの摺動方向と交差する方向に延びる複数の第1溝と、前記第1領域よりも前記スカート部の端部側に位置する第2領域に配置され、前記第1領域側に向かうほど前記摺動方向と交差する方向に傾いて形成される複数の第2溝と、を備える。
【発明の効果】
【0007】
この内燃機関のピストンによれば、第1領域に配置される第1溝が潤滑油を保持する。さらに、第2溝は、ピストンが下がる際に第1溝に向けて潤滑油を流す。これによって、この内燃機関のピストンは、第1溝の潤滑油がさらに保持されやすい。
【図面の簡単な説明】
【0008】
本開示の一実施形態による内燃機関のピストンを示す図。
本開示の一実施形態によるピストンのスラスト側を示す図。
本開示の一実施形態によるピストンの反スラスト側を示す図。
【発明を実施するための形態】
【0009】
以下、本開示の一実施形態について、図面を参照しながら説明する。なお、内燃機関Eの摺動方向をP、吸気側をIN、排気側をEX、前側をFS、および後側をBSと図面に記す。本実施形態では、後述するシリンダ2が上下方向に配置され、ピストン1が上下方向に摺動する例を説明する。しかし、シリンダ2は、例えばV型エンジンなどのように、上下方向に対して傾けて配置されてもよい。さらにシリンダ2は、水平対向エンジンなどのように水平方向に沿って配置されてもよい。
【0010】
図1に示すように、内燃機関Eのピストン1は、シリンダ2の内部を摺動する。本実施形態では内燃機関Eは4サイクルのレシプロ型エンジンである。内燃機関Eは、吸気通路3ら空気を取り込み、燃焼室4で燃焼させて排気通路5に排気を流す。ピストン1は、圧縮行程において上死点まで上昇しながら混合気を圧縮する。ピストン1は、膨張行程において燃焼圧を受けながらクランクシャフト6を時計回りに回転させる。このため、ピストン1は、排気側EXがスラスト側であり、吸気側INが反スラスト側である。
(【0011】以降は省略されています)
この特許をJ-PlatPat(特許庁公式サイト)で参照する
関連特許
トヨタ自動車株式会社
車両
1か月前
トヨタ自動車株式会社
車両
1か月前
トヨタ自動車株式会社
車両
27日前
ダイハツ工業株式会社
車両
25日前
スズキ株式会社
車両の制御装置
18日前
ダイハツ工業株式会社
制御装置
24日前
ダイハツ工業株式会社
制御装置
24日前
ダイハツ工業株式会社
制御装置
24日前
スズキ株式会社
内燃機関の制御装置
27日前
トヨタ自動車株式会社
内燃機関
16日前
トヨタ自動車株式会社
車両の制御装置
16日前
株式会社SUBARU
エンジン制御装置
24日前
株式会社SUBARU
エンジン制御装置
18日前
朝日電装株式会社
スロットルグリップ装置
6日前
トヨタ自動車株式会社
内燃機関の制御装置
27日前
株式会社IHI原動機
脈動減衰装置
16日前
個人
流体式推力方向制御装置
6日前
トヨタ自動車株式会社
閾値の設定装置
6日前
トヨタ自動車株式会社
車両の制御装置
1か月前
トヨタ自動車株式会社
エンジン制御装置
2日前
日産自動車株式会社
内燃機関
2日前
日産自動車株式会社
内燃機関
2日前
トヨタ自動車株式会社
内燃機関の制御装置
27日前
本田技研工業株式会社
内燃機関の制御装置
16日前
株式会社デンソートリム
エンジン制御装置
2日前
株式会社豊田自動織機
車両
26日前
本田技研工業株式会社
EGRバルブ制御装置
6日前
トヨタ自動車株式会社
エンジンシステムの診断装置
18日前
トヨタ自動車株式会社
インジェクタの制御装置
4日前
トヨタ自動車株式会社
エンジン制御装置
6日前
トヨタ自動車株式会社
内燃機関の燃料供給装置
2日前
トヨタ自動車株式会社
内燃機関の燃料供給装置
6日前
ヤンマーホールディングス株式会社
エンジン装置
4日前
ヤンマーホールディングス株式会社
エンジン装置
4日前
大阪瓦斯株式会社
発電設備、及び発電方法
4日前
愛三工業株式会社
吸気制御弁
25日前
続きを見る
他の特許を見る