TOP
|
特許
|
意匠
|
商標
特許ウォッチ
Twitter
他の特許を見る
10個以上の画像は省略されています。
公開番号
2025144332
公報種別
公開特許公報(A)
公開日
2025-10-02
出願番号
2024044067
出願日
2024-03-19
発明の名称
発振器
出願人
エスアイアイ・クリスタルテクノロジー株式会社
代理人
個人
主分類
H03B
5/32 20060101AFI20250925BHJP(基本電子回路)
要約
【課題】小型化及び薄型化を図りながら、圧電振動片の安定した周波数特性を確保することができ、高い作動信頼性有する発振器を提供すること。
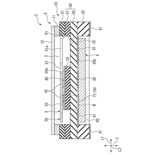
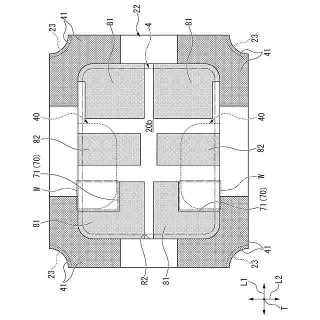
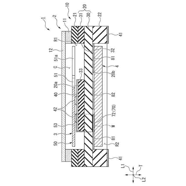
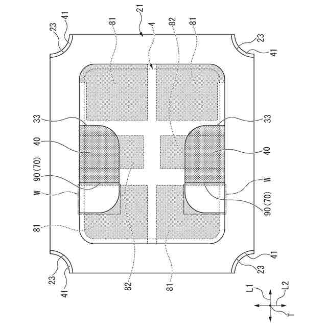
【解決手段】厚さ方向Tに互いに対向する第1実装面20a及び第2実装面20bを有する実装基板20を含むパッケージ2と、第1実装面に実装された圧電振動片3と、複数の集積回路端子を有し、第2実装面に実装された集積回路4とを備え、第1実装面には圧電振動片の励振電極に対して導通する搭載電極40が形成され、第2実装面には集積回路端子に導通する複数の集積回路電極81が形成され、厚さ方向から見た平面視で集積回路電極と搭載電極とが互いに重なり合う重複領域Wには、該重複領域において集積回路電極と搭載電極との間に発生する浮遊容量を抑制する容量抑制部70が設けられている発振器1を提供する。
【選択図】図4
特許請求の範囲
【請求項1】
厚さ方向に互いに対向する第1実装面及び第2実装面を有する実装基板を含むパッケージと、
前記第1実装面に実装された圧電振動片と、
複数の集積回路端子を有し、前記第2実装面に実装された集積回路と、を備え、
前記第1実装面には、前記圧電振動片の励振電極に対して導通する搭載電極が形成され、
前記第2実装面には、前記集積回路端子に導通する複数の集積回路電極が形成され、
前記厚さ方向から見た平面視で、前記集積回路電極と前記搭載電極とが互いに重なり合う重複領域には、該重複領域において前記集積回路電極と前記搭載電極との間に発生する浮遊容量を抑制する容量抑制部が設けられていることを特徴とする発振器。
続きを表示(約 730 文字)
【請求項2】
請求項1に記載の発振器において、
前記容量抑制部は、前記集積回路電極のうち、前記厚さ方向から見た平面視で前記搭載電極に対して重なり合う重複部分の面積を低下させるように、前記集積回路電極に形成された電極非形成部を含む、発振器。
【請求項3】
請求項1に記載の発振器において、
前記容量抑制部は、前記搭載電極のうち、前記厚さ方向から見た平面視で前記集積回路電極に対して重なり合う重複部分の面積を低下させるように、前記搭載電極に形成された電極非形成部を含む、発振器。
【請求項4】
請求項2又は3に記載の発振器において、
前記電極非形成部は、前記重複部分をなくすように形成されている、発振器。
【請求項5】
請求項1に記載の発振器において、
前記容量抑制部は、前記第2実装面と前記集積回路電極との間に位置するように、前記第2実装面に形成された絶縁膜を含む、発振器。
【請求項6】
請求項1に記載の発振器において、
前記第2実装面には、前記搭載電極に対して導通するモニタ用電極が形成され、
前記モニタ用電極は、前記集積回路電極の面積と同じ面積、或いは小さい面積となるように形成されている、発振器。
【請求項7】
請求項1に記載の発振器において、
前記圧電振動片は、
互いに平行に配置された一対の振動腕部と、前記振動腕部の基端部を一体的に固定する基部と、を有する圧電板と、
前記圧電板の外表面上に形成され、電圧が印加されたときに一対の前記振動腕部を振動させる励振電極と、を備えている、発振器。
発明の詳細な説明
【技術分野】
【0001】
本発明は、発振器に関する。
続きを表示(約 1,900 文字)
【背景技術】
【0002】
従来より、例えば携帯電話等の電子機器には、水晶を利用した圧電振動片を備えた発振器が用いられている。
この種の発振器として、例えば特許文献1には、音叉型の圧電振動片と、発振回路を有する回路チップ(回路素子)と、圧電振動片及び回路チップを収容する容器(パッケージ)と、を備えた発振器が知られている。
【0003】
容器は、回路チップが実装される第1面と、圧電振動片が実装される第2面とを有する基板を含んでいる。これにより、圧電振動片及び回路チップは、基板を間に挟んで発振器の厚み方向に配置されている。
基板の第1面には、一対のモニタ用電極と、複数のチップ用電極が形成されている。モニタ用電極は、圧電振動片の励振電極に導通する電極とされ、例えば製造工程等において圧電振動片の周波数を測定する際に用いられる。チップ用電極は、例えば信号出力用電極、グランド接続用電極、電源用電極及び制御用電極等である。回路チップは、例えば金バンプ等の接合部材を介してチップ用電極に対して電気的に接続された状態で基板の第1面に実装されている。
【0004】
基板の第2面には、モニタ用電極に対して電気的に接続された一対のマウント電極が形成されている。圧電振動片は、例えば金バンプ等の接合部材を介して一対のマウント電極に対して電気的に接続された状態で、基板の第2面に実装されている。
【先行技術文献】
【特許文献】
【0005】
特開2023-80598号公報
【発明の概要】
【発明が解決しようとする課題】
【0006】
この種の発振器は、該発振器が搭載される各種の電子機器の小型化、薄型化に対応するために、発振器自体についてもさらなる小型化、薄型化が求められている。このようなニーズに対応する場合、例えば従来の発振器において、基板の第1面上に形成される複数の各電極(一対のモニタ用電極及び複数のチップ用電極)間同士の間隔が狭くなってしまう。そのため、各電極の間に浮遊容量(寄生容量)が生じ易い。
そこで上記従来の発振器では、基板の第1面上で各電極間の間隔を調整することで、浮遊容量の差を抑制している。
【0007】
しかしながら上記従来の発振器では、基板の第1面上に形成された各電極と、基板の第2面に形成されたマウント電極とが、基板を挟んで発振器の厚み方向に重なり合うような配置とされている。そのため、マウント電極と、チップ用電極(信号出力用電極、グランド接続用電極、電源用電極及び制御用電極等)との間において、基板の厚み方向に浮遊容量が発生する懸念が残されている。
特に、発振器の小型化及び薄型化を図るほど、マウント電極とチップ用電極とが発振器の厚み方向に重なり合い易くなってしまううえ、マウント電極と複数のチップ用電極との間隔も近くなってしまう。そのため、大きな浮遊容量が発生し易くなってしまう。
【0008】
圧電振動片と浮遊容量との関係性に着目すると、圧電振動片は、発生した浮遊容量の影響によって周波数の電圧特性が悪くなってしまう傾向を有している。そのため、大きな浮遊容量が発生することで、圧電振動片の安定した周波数特性を得ることが難しくなってしまう。従って、発振器としての作動信頼性の低下を招いてしまう。
【0009】
本発明は、このような事情に考慮してなされたもので、その目的は、小型化及び薄型化を図りながら、圧電振動片の安定した周波数特性を確保することができ、高い作動信頼性有する発振器を提供することである。
【課題を解決するための手段】
【0010】
(1)本発明に係る発振器は、厚さ方向に互いに対向する第1実装面及び第2実装面を有する実装基板を含むパッケージと、前記第1実装面に実装された圧電振動片と、複数の集積回路端子を有し、前記第2実装面に実装された集積回路と、を備え、前記第1実装面には、前記圧電振動片の励振電極に対して導通する搭載電極が形成され、前記第2実装面には、前記集積回路端子に導通する複数の集積回路電極が形成され、前記厚さ方向から見た平面視で、前記集積回路電極と前記搭載電極とが互いに重なり合う重複領域には、該重複領域において前記集積回路電極と前記搭載電極との間に発生する浮遊容量を抑制する容量抑制部が設けられていることを特徴とする。
(【0011】以降は省略されています)
この特許をJ-PlatPat(特許庁公式サイト)で参照する
関連特許
エイブリック株式会社
増幅器
7日前
エイブリック株式会社
増幅器
14日前
エイブリック株式会社
増幅回路
8日前
株式会社大真空
圧電振動デバイス
2か月前
エイブリック株式会社
電圧検出器
1か月前
日本電波工業株式会社
圧電振動片
6日前
日本電波工業株式会社
圧電デバイス
2か月前
株式会社トーキン
ノイズフィルタ
1か月前
ローム株式会社
オペアンプ
2か月前
ローム株式会社
オペアンプ
2か月前
ローム株式会社
オペアンプ
2か月前
個人
誤り訂正装置及び誤り訂正方法
2か月前
三菱電機株式会社
半導体装置
2か月前
株式会社村田製作所
増幅回路
1か月前
株式会社半導体エネルギー研究所
駆動回路
17日前
株式会社大真空
恒温槽型圧電発振器
2か月前
ローム株式会社
オペアンプ回路
2か月前
ローム株式会社
半導体集積回路
2か月前
ローム株式会社
半導体集積回路
2か月前
株式会社村田製作所
高周波回路
1か月前
ローム株式会社
半導体集積回路
2か月前
TDK株式会社
電子部品
7日前
ローム株式会社
オペアンプ回路
2か月前
ローム株式会社
オペアンプ回路
2か月前
TDK株式会社
電子部品
6日前
株式会社村田製作所
弾性波フィルタ
27日前
京セラ株式会社
弾性波装置、分波器及び通信装置
2か月前
住友電気工業株式会社
高周波増幅器
27日前
ローム株式会社
A/Dコンバータ回路
2か月前
ローム株式会社
遅延回路
1か月前
ローム株式会社
A/Dコンバータ回路
2か月前
日清紡マイクロデバイス株式会社
演算増幅器
15日前
ローム株式会社
駆動回路
1か月前
ローム株式会社
駆動回路
1か月前
ニチコン株式会社
信号出力装置
1か月前
エイブリック株式会社
出力制御回路及び電圧出力回路
14日前
続きを見る
他の特許を見る