TOP
|
特許
|
意匠
|
商標
特許ウォッチ
Twitter
他の特許を見る
10個以上の画像は省略されています。
公開番号
2025144329
公報種別
公開特許公報(A)
公開日
2025-10-02
出願番号
2024044061
出願日
2024-03-19
発明の名称
携帯情報端末の制御プログラム及び携帯情報端末の制御方法
出願人
TOTO株式会社
代理人
弁理士法人iX
主分類
H04W
4/38 20180101AFI20250925BHJP(電気通信技術)
要約
【課題】トイレ装置から生体情報をより確実に取得できる携帯情報端末の制御プログラム及び携帯情報端末の制御方法を提供する。
【解決手段】携帯情報端末にインストールされる制御プログラムであって、前記携帯情報端末は、トイレ装置と無線通信により接続可能であり、前記トイレ装置は、使用者の生体情報を計測し記憶可能であり、所定時刻になると、前記携帯情報端末に、取得工程を実行させ、前記携帯情報端末は、前記取得工程において、前記トイレ装置と接続可能な状態になり、前記トイレ装置と接続されたときに前記トイレ装置に記憶された前記生体情報がある場合には、前記トイレ装置に記憶された前記生体情報を取得する、携帯情報端末の制御プログラム。
【選択図】図11
特許請求の範囲
【請求項1】
携帯情報端末にインストールされる制御プログラムであって、
前記携帯情報端末は、トイレ装置と無線通信により接続可能であり、
前記トイレ装置は、使用者の生体情報を計測し記憶可能であり、
所定時刻になると、前記携帯情報端末に、取得工程を実行させ、
前記携帯情報端末は、前記取得工程において、前記トイレ装置と接続可能な状態になり、前記トイレ装置と接続されたときに前記トイレ装置に記憶された前記生体情報がある場合には、前記トイレ装置に記憶された前記生体情報を取得する、携帯情報端末の制御プログラム。
続きを表示(約 520 文字)
【請求項2】
前記携帯情報端末により前記所定時刻を変更可能である、請求項1に記載の携帯情報端末の制御プログラム。
【請求項3】
前記携帯情報端末に、解析工程をさらに実行させ、
前記携帯情報端末は、前記解析工程において、前記トイレ装置と接続可能な状態になり、前記トイレ装置と接続されたときに前記トイレ装置に記憶された前記生体情報がある場合には、前記トイレ装置に記憶された前記生体情報を取得し、取得した前記生体情報を解析した解析情報を表示させる、請求項1または2に記載の携帯情報端末の制御プログラム。
【請求項4】
携帯情報端末の制御方法であって、
前記携帯情報端末は、トイレ装置と無線通信により接続可能であり、
前記トイレ装置は、使用者の生体情報を計測し記憶可能であり、
前記携帯情報端末は、所定時刻になると、取得工程を実行し、
前記携帯情報端末は、前記取得工程において、前記トイレ装置と接続可能な状態になり、前記トイレ装置と接続されたときに前記トイレ装置に記憶された前記生体情報がある場合には、前記トイレ装置に記憶された前記生体情報を取得する、携帯情報端末の制御方法。
発明の詳細な説明
【技術分野】
【0001】
本発明の態様は、一般的に、携帯情報端末の制御プログラム及び携帯情報端末の制御方法に関する。
続きを表示(約 1,400 文字)
【背景技術】
【0002】
便器内に排泄された大便などの排泄物を解析し、解析結果を使用者の端末に送信するトイレ装置がある(例えば、特許文献1)。このようなトイレ装置においては、例えば、トイレ装置と使用者の端末とが接続されているときに、解析結果を使用者の端末に送信する。そのため、トイレ装置と使用者の端末とが接続されない場合には、端末が解析結果を取得できず、使い勝手が悪くなるおそれがある。
【先行技術文献】
【特許文献】
【0003】
特開2020-187089号公報
【発明の概要】
【発明が解決しようとする課題】
【0004】
本発明の態様は、かかる課題の認識に基づいてなされたものであり、トイレ装置から生体情報をより確実に取得できる携帯情報端末の制御プログラム及び携帯情報端末の制御方法を提供することを目的とする。
【課題を解決するための手段】
【0005】
第1の発明は、携帯情報端末にインストールされる制御プログラムであって、前記携帯情報端末は、トイレ装置と無線通信により接続可能であり、前記トイレ装置は、使用者の生体情報を計測し記憶可能であり、所定時刻になると、前記携帯情報端末に、取得工程を実行させ、前記携帯情報端末は、前記取得工程において、前記トイレ装置と接続可能な状態になり、前記トイレ装置と接続されたときに前記トイレ装置に記憶された前記生体情報がある場合には、前記トイレ装置に記憶された前記生体情報を取得する、携帯情報端末の制御プログラムである。
【0006】
この携帯情報端末の制御プログラムによれば、所定時刻になると、携帯情報端末に、取得工程を実行させることで、携帯情報端末が定期的にトイレ装置に記憶された生体情報を取得することができる。これにより、トイレ装置から生体情報をより確実に取得でき、使い勝手を向上できる。
【0007】
第2の発明は、第1の発明において、前記携帯情報端末により前記所定時刻を変更可能である、携帯情報端末の制御プログラムである。
【0008】
この携帯情報端末の制御プログラムによれば、携帯情報端末により所定時刻を変更可能とすることで、例えば、携帯情報端末がトイレ装置と接続可能になりやすい任意の時刻に所定時刻(すなわち、取得工程が行われる時刻)を設定することができる。これにより、トイレ装置から生体情報をより確実に取得でき、使い勝手を向上できる。
【0009】
第3の発明は、第1または第2の発明において、前記携帯情報端末に、解析工程をさらに実行させ、前記携帯情報端末は、前記解析工程において、前記トイレ装置と接続可能な状態になり、前記トイレ装置と接続されたときに前記トイレ装置に記憶された前記生体情報がある場合には、前記トイレ装置に記憶された前記生体情報を取得し、取得した前記生体情報を解析した解析情報を表示させる、携帯情報端末の制御プログラムである。
【0010】
この携帯情報端末の制御プログラムによれば、携帯情報端末に、解析工程をさらに実行させ、解析工程において、解析を行う前に、トイレ装置に記憶された生体情報を取得することで、最新の生体情報を反映させた解析情報を表示させることができる。
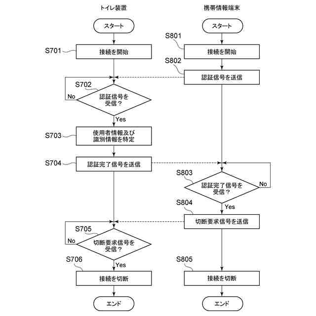
(【0011】以降は省略されています)
この特許をJ-PlatPat(特許庁公式サイト)で参照する
関連特許
TOTO株式会社
浴室
1か月前
TOTO株式会社
浴室
1か月前
TOTO株式会社
洗面器
7日前
TOTO株式会社
洗面器
7日前
TOTO株式会社
浴槽装置
2か月前
TOTO株式会社
水栓装置
21日前
TOTO株式会社
水栓装置
21日前
TOTO株式会社
水栓装置
21日前
TOTO株式会社
水栓装置
21日前
TOTO株式会社
水栓装置
21日前
TOTO株式会社
水栓装置
21日前
TOTO株式会社
水栓装置
21日前
TOTO株式会社
水栓装置
21日前
TOTO株式会社
衛生陶器
1か月前
TOTO株式会社
水栓装置
21日前
TOTO株式会社
浴槽装置
2か月前
TOTO株式会社
便器装置
1か月前
TOTO株式会社
浴槽装置
2か月前
TOTO株式会社
便座装置
1か月前
TOTO株式会社
衛生陶器
1か月前
TOTO株式会社
複合材料
22日前
TOTO株式会社
パッキン
2か月前
TOTO株式会社
吐水装置
1日前
TOTO株式会社
吐水装置
1日前
TOTO株式会社
構造部材
1日前
TOTO株式会社
吐水装置
1日前
TOTO株式会社
構造部材
1日前
TOTO株式会社
水洗大便器
2か月前
TOTO株式会社
トイレ装置
1か月前
TOTO株式会社
水洗大便器
1か月前
TOTO株式会社
水洗大便器
1か月前
TOTO株式会社
水洗大便器
今日
TOTO株式会社
水洗大便器
1か月前
TOTO株式会社
水洗大便器
1か月前
TOTO株式会社
トイレ装置
1か月前
TOTO株式会社
トイレ装置
1か月前
続きを見る
他の特許を見る