TOP
|
特許
|
意匠
|
商標
特許ウォッチ
Twitter
他の特許を見る
公開番号
2025144119
公報種別
公開特許公報(A)
公開日
2025-10-02
出願番号
2024043738
出願日
2024-03-19
発明の名称
転がり軸受および軸受装置
出願人
NTN株式会社
代理人
個人
,
個人
,
個人
主分類
F16C
41/00 20060101AFI20250925BHJP(機械要素または単位;機械または装置の効果的機能を生じ維持するための一般的手段)
要約
【課題】転がり軸受の運転状態を精度よく監視することができ、かつ、低コストの転がり軸受を提供する。
【解決手段】外輪2の軸方向端面10にセンサ取付部材11を固定して設け、センサ取付部材11は、外輪2の軸方向端面10の径方向外側の端部が覆われずに環状に露出するように、軸方向端面10の径方向外側の端から径方向内方にずれた位置に軸方向一端が突き当てて固定される円筒部24と、円筒部24の軸方向他端から径方向内方に延びる円環板部25とを有する。
【選択図】図2
特許請求の範囲
【請求項1】
外輪(2)と、
前記外輪(2)の径方向内側に配置される内輪(3)と、
前記外輪(2)と前記内輪(3)の間に形成される環状の軸受空間(4)に組み込まれる複数の転動体(5)とを有し、
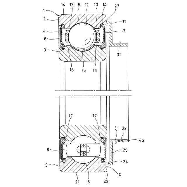
前記外輪(2)と前記内輪(3)のうちの一方は、回転しないように固定して設けられる固定輪であり、他方は、前記転動体(5)を介して前記固定輪に回転可能に支持される回転輪であり、
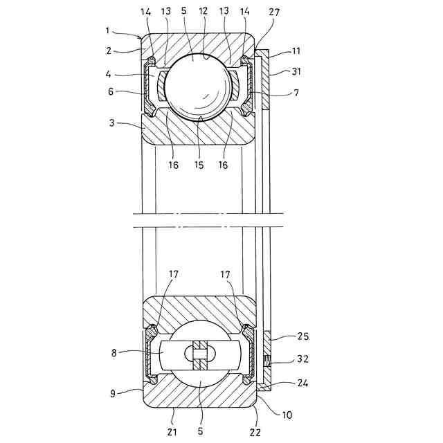
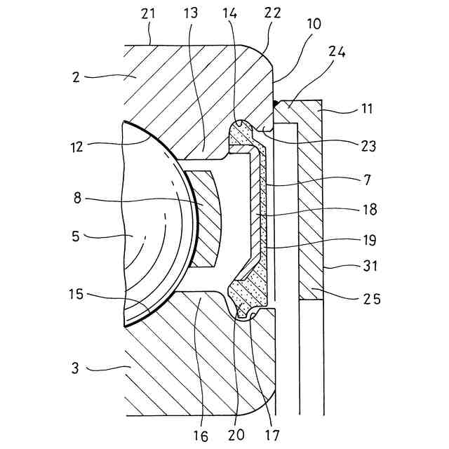
前記固定輪が、前記回転輪の側とは反対側の端に位置する円筒状のはめあい面(21)と、前記はめあい面(21)に直角な平面状の軸方向端面(10)とを有する転がり軸受において、
前記固定輪の前記軸方向端面(10)に、転がり軸受(1)の運転状態を監視する軸受監視センサ(30)が着脱可能に取り付けられるセンサ取付面(31)をもつセンサ取付部材(11)を固定して設け、
前記センサ取付部材(11)は、前記軸方向端面(10)の前記はめあい面(21)の側の径方向端部が覆われずに環状に露出するように、前記軸方向端面(10)の前記はめあい面(21)の側の径方向の端から反対側の径方向にずれた位置に軸方向一端が突き当てて固定される円筒部(24)と、前記円筒部(24)の軸方向他端から前記はめあい面(21)の側とは反対側の径方向に延びる円環板部(25)とを有することを特徴とする転がり軸受。
続きを表示(約 1,100 文字)
【請求項2】
前記センサ取付面(31)は、軸方向から見て前記軸受空間(4)と重なる径方向範囲に前記軸受監視センサ(30)を取り付け可能とされている請求項1に記載の転がり軸受。
【請求項3】
前記軸受空間(4)の前記軸方向端面(10)の側の端部開口を塞ぐシール部材(7)を有し、
前記センサ取付部材(11)の前記円環板部(25)が、前記シール部材(7)と軸方向に対向して配置されている請求項1または2に記載の転がり軸受。
【請求項4】
前記センサ取付面(31)は磁性材料で形成され、前記軸受監視センサ(30)に設けた永久磁石を前記センサ取付面(31)に吸着させることで前記軸受監視センサ(30)を着脱可能に取り付け可能とされている請求項1または2に記載の転がり軸受。
【請求項5】
前記センサ取付面(31)にはねじ穴(32)が形成され、前記軸受監視センサ(30)に設けたねじ軸を前記センサ取付面(31)の前記ねじ穴(32)にねじ込むことで前記軸受監視センサ(30)を着脱可能に取り付け可能とされている請求項1または2に記載の転がり軸受。
【請求項6】
前記センサ取付面(31)が、前記円環板部(25)に形成された軸方向に垂直な円環状の平面である請求項1または2に記載の転がり軸受。
【請求項7】
前記センサ取付部材(11)は、前記円環板部(25)の前記はめあい面(21)の側とは反対側の端から軸方向に延びる第2円筒部(46)を更に有し、
前記センサ取付面(31)が、前記第2円筒部(46)の外周に形成された径方向に垂直な平面である請求項1または2に記載の転がり軸受。
【請求項8】
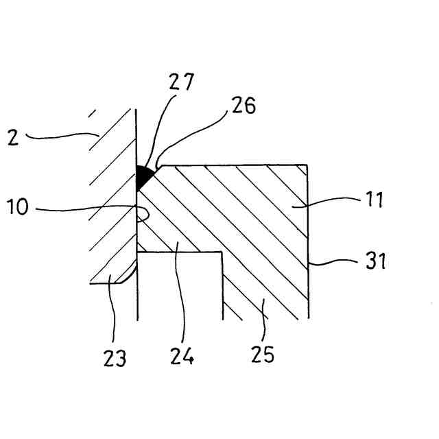
前記円筒部(24)の軸方向一端の前記軸方向端面(10)への固定が、周方向に間隔をおいて形成した複数のスポット溶接部(27)により行われている請求項1または2に記載の転がり軸受。
【請求項9】
前記円筒部(24)の軸方向一端に、前記軸方向端面(10)に対して傾斜した面取り面(26)が形成され、
前記スポット溶接部(27)が前記面取り面(26)と前記軸方向端面(10)との間に形成される断面三角状の環状隙間に収容されている請求項8に記載の転がり軸受。
【請求項10】
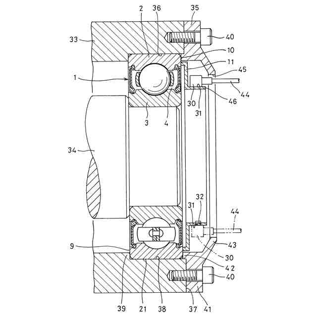
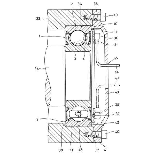
請求項1または2に記載の転がり軸受(1)と、
前記転がり軸受(1)を収容するハウジング(33)と、
前記転がり軸受(1)で回転可能に支持される回転軸(34)と、
前記転がり軸受(1)の前記センサ取付部材(11)に取り付けられた軸受監視センサ(30)とを有し、
前記軸受監視センサ(30)で前記転がり軸受(1)の運転状態を監視可能とした軸受装置。
発明の詳細な説明
【技術分野】
【0001】
この発明は、軸受監視センサを取り付け可能な転がり軸受およびその転がり軸受を用いた軸受装置に関する。
続きを表示(約 1,800 文字)
【背景技術】
【0002】
産業設備などの分野では、機械装置の回転軸や回転体を支持する軸受として、転がり軸受が使用される。転がり軸受は、一般に、外輪と、外輪の径方向内側に配置される内輪と、外輪と内輪の間の環状の軸受空間に組み込まれる複数の転動体とを有する。
【0003】
近年、この転がり軸受の故障等による設備の突発的な稼働停止を回避するため、転がり軸受の運転状態を監視する軸受監視センサ(振動センサ、温度センサ等)を設け、その軸受監視センサで得られるデータに基づいて、転がり軸受のメンテナンスや交換等を計画的に行なうという取り組みが進められている。
【0004】
この軸受監視センサに関連し、特許文献1,2においては、転がり軸受を収容するハウジングに、転がり軸受の振動を検出する振動センサを取り付け、その振動センサで得られる振動のデータに基づいて、転がり軸受の運転状態を監視するという方法が提案されている。
【先行技術文献】
【特許文献】
【0005】
特開2023-128477号公報
特開2003-149090号公報
【発明の概要】
【発明が解決しようとする課題】
【0006】
ところで、特許文献1,2のように、転がり軸受を収容するハウジングに振動センサを取り付ける場合、振動センサ(軸受監視センサ)を取り付けることができるようにハウジングを加工する必要がある。
【0007】
ここで、本願の発明者らは、転がり軸受の運転状態を監視するセンサ(以下「軸受監視センサ」という)を、ハウジングに取り付けるのではなく、転がり軸受に取り付けることを検討した。軸受監視センサを転がり軸受に取り付けることができれば、ハウジングの加工が不要となるので低コストであり、また、軸受監視センサをハウジングに取り付けるよりも、転がり軸受の監視を直接的に行なうことができるので、転がり軸受の運転状態を精度よく監視することが可能となる。
【0008】
さらに、本願の発明者らは、転がり軸受を構成する外輪や内輪を、軸受監視センサを取り付けるための専用の形状に加工するのではなく、既存の転がり軸受の外輪や内輪の形状をそのまま利用して軸受監視センサを取り付けることができないかを検討した。既存の転がり軸受の外輪や内輪の形状をそのまま利用することができれば、軸受監視センサを取り付けるのに必要なコストを大幅に低減することができ、軸受監視センサの普及を加速することが可能となる。さらに、軸受監視センサを着脱可能とすれば、転がり軸受を交換する際に、交換前の転がり軸受に取り付けていた軸受監視センサを再利用することが可能となり、より低コストになると考えた。
【0009】
この発明が解決しようとする課題は、転がり軸受の運転状態を精度よく監視することができ、かつ、低コストの転がり軸受を提供することである。
【課題を解決するための手段】
【0010】
上記の課題を解決するため、この発明では、以下の構成の転がり軸受を提供する。
[構成1]
外輪と、
前記外輪の径方向内側に配置される内輪と、
前記外輪と前記内輪の間に形成される環状の軸受空間に組み込まれる複数の転動体とを有し、
前記外輪と前記内輪のうちの一方は、回転しないように固定して設けられる固定輪であり、他方は、前記転動体を介して前記固定輪に回転可能に支持される回転輪であり、
前記固定輪が、前記回転輪の側とは反対側の端に位置する円筒状のはめあい面と、前記はめあい面に直角な平面状の軸方向端面とを有する転がり軸受において、
前記固定輪の前記軸方向端面に、転がり軸受の運転状態を監視する軸受監視センサが着脱可能に取り付けられるセンサ取付面をもつセンサ取付部材を固定して設け、
前記センサ取付部材は、前記軸方向端面の前記はめあい面の側の径方向端部が覆われずに環状に露出するように、前記軸方向端面の前記はめあい面の側の径方向の端から反対側の径方向にずれた位置に軸方向一端が突き当てて固定される円筒部と、前記円筒部の軸方向他端から前記はめあい面の側とは反対側の径方向に延びる円環板部とを有することを特徴とする転がり軸受。
(【0011】以降は省略されています)
この特許をJ-PlatPat(特許庁公式サイト)で参照する
関連特許
NTN株式会社
玉軸受
1か月前
NTN株式会社
ハンド
2か月前
NTN株式会社
把持装置
2か月前
NTN株式会社
焼成軸受
1か月前
NTN株式会社
把持装置
2か月前
NTN株式会社
作業装置
1か月前
NTN株式会社
密封装置
1か月前
NTN株式会社
軸受装置
1か月前
NTN株式会社
軸受装置
1か月前
NTN株式会社
焼結軸受
1か月前
NTN株式会社
軸受装置
1か月前
NTN株式会社
軸受装置
1か月前
NTN株式会社
焼成軸受
1か月前
NTN株式会社
転がり軸受
2か月前
NTN株式会社
転がり軸受
1か月前
NTN株式会社
転がり軸受
1か月前
NTN株式会社
荷積込装置
1か月前
NTN株式会社
焼入れ方法
26日前
NTN株式会社
ボールねじ
27日前
NTN株式会社
回転伝達装置
1か月前
NTN株式会社
状態監視装置
2か月前
NTN株式会社
シール付軸受
1か月前
NTN株式会社
回転伝達装置
1か月前
NTN株式会社
回転伝達装置
1か月前
NTN株式会社
保持器付きころ
2か月前
NTN株式会社
ボールねじ装置
27日前
NTN株式会社
車輪用軸受装置
1か月前
NTN株式会社
ボールねじ装置
27日前
NTN株式会社
車輪用軸受装置
1か月前
NTN株式会社
円すいころ軸受
27日前
NTN株式会社
モータユニット
2か月前
NTN株式会社
リンク作動装置
1か月前
NTN株式会社
軸受装置及び間座
1か月前
NTN株式会社
密封装置付き軸受
24日前
NTN株式会社
状態監視システム
2か月前
NTN株式会社
電動オイルポンプ
2か月前
続きを見る
他の特許を見る