TOP
|
特許
|
意匠
|
商標
特許ウォッチ
Twitter
他の特許を見る
10個以上の画像は省略されています。
公開番号
2025142678
公報種別
公開特許公報(A)
公開日
2025-10-01
出願番号
2024042177
出願日
2024-03-18
発明の名称
麺帯製造装置、包餡食品製造システム、麺帯製造方法及び麺帯製造プログラム
出願人
味の素株式会社
代理人
弁理士法人酒井国際特許事務所
主分類
A21C
3/02 20060101AFI20250924BHJP(ベイキング;生地製造または加工の機械あるいは設備;ベイキングの生地)
要約
【課題】麺帯の厚さを正確に調整可能とする。
【解決手段】回転駆動される第1のローラと、第1のローラの回転に同期して同じ方向に回転駆動され、第1のローラのローラ面と相対向するように設けられたローラ面との間隙部に、反回転方向側から供給された麺帯を、間隙部の大きさに応じた麺厚に圧延し、回転方向側に送出する第2のローラと、間隙部の大きさを小さくする方向、及び、間隙部の大きさを大きくする方向に、第1のローラを移動させる移動機構と、第1のローラ側に固定して設けられ、移動機構による第1のローラの移動量と同じ移動量で移動する反射板と、第2のローラ側に固定して設けられ、反射板に照射した測距光の反射光に基づいて、反射板との間の距離を検出する測距部と、を設ける。そして、移動制御部により、測距部で検出される反射板との間の距離を、予め定められている所定の距離となるように移動機構を移動制御する。
【選択図】図8
特許請求の範囲
【請求項1】
回転駆動される第1のローラと、
前記第1のローラの回転に同期して同じ方向に回転駆動され、前記第1のローラのローラ面と相対向するように設けられたローラ面との間隙部に、反回転方向側から供給された麺帯を、前記間隙部の大きさに応じた麺厚に圧延し、回転方向側に送出する第2のローラと、
前記間隙部の大きさを小さくする方向、及び、前記間隙部の大きさを大きくする方向に、前記第1のローラを移動させる移動機構と、
前記第1のローラ側に固定して設けられ、前記移動機構による前記第1のローラの移動量と同じ移動量で移動する反射板と、
前記第2のローラ側に固定して設けられ、前記反射板に照射した測距光の反射光に基づいて、前記反射板との間の距離を検出する測距部と、
前記測距部で検出される前記反射板との間の距離を、予め定められている所定の距離となるように前記移動機構を移動制御する移動制御部と、
を有する麺帯製造装置。
続きを表示(約 2,300 文字)
【請求項2】
前記第1のローラ内及び前記第2のローラ内に液体を循環させる液体循環装置と、
前記第1のローラ及び前記第2のローラのうち、少なくとも一方のローラの温度を検出するローラ温度センサと、
前記ローラ温度センサで検出された前記ローラの温度に基づいて、前記第1のローラ及び前記第2のローラの温度が予め定められている温度となるように、前記第1のローラ内及び前記第2のローラ内を循環させる前記液体の温度を制御する温度制御部と、をさらに備えること、
を特徴とする請求項1に記載の麺帯製造装置。
【請求項3】
前記移動機構は、
回動軸に固定して設けられた第1のギヤと、
前記回動軸の回動方向に応じて、前記間隙部の大きさを小さくする方向、及び、前記間隙部の大きさを大きくする方向に前記第1のローラを移動させる移動軸に固定され、かつ、前記第1のギヤと噛み合うように設けられた第2のギヤと、を備えること、
を特徴とする請求項2に記載の麺帯製造装置。
【請求項4】
前記第1のギヤは、ウォームギヤ、マイタギヤを構成する一方のギヤ、又は、ベベルギヤを構成する一方のギヤであり、
前記第2のギヤは、前記ウォームギヤと噛み合うように設けられたウォームホイール、前記マイタギヤを構成する一方の前記ギヤと噛み合うように設けられた他方のギヤ、又は、前記ベベルギヤを構成する一方の前記ギヤと噛み合うように設けられた他方のギヤであること、
を特徴とする請求項3に記載の麺帯製造装置。
【請求項5】
少なくとも、
所定の材料を混捏して麺帯を生成する混捏機構と、
生成された前記麺帯の厚さを所定の厚さに調整する、請求項1~請求項4のうち、いずれか一項に記載の麺帯製造装置と、
所定の厚さに調整された前記麺帯を、所定の形状にカットするカット機構と、
カットされた前記麺帯に餡を包餡する包餡機構と、
を有する包餡食品製造システム。
【請求項6】
回転駆動される第1のローラと、
前記第1のローラの回転に同期して同じ方向に回転駆動され、前記第1のローラのローラ面と相対向するように設けられたローラ面との間隙部に、反回転方向側から供給された麺帯を、前記間隙部の大きさに応じた麺厚に圧延し、回転方向側に送出する第2のローラと、
前記間隙部の大きさを小さくする方向、及び、前記間隙部の大きさを大きくする方向に、前記第1のローラを移動させる移動機構と、
前記第1のローラ側に固定して設けられ、前記移動機構による前記第1のローラの移動量と同じ移動量で移動する反射板と、
前記第2のローラ側に固定して設けられ、前記反射板に照射した測距光の反射光に基づいて、前記反射板との間の距離を検出する測距部と、を設け、
移動制御部により、前記測距部で検出される前記反射板との間の距離を、予め定められている所定の距離となるように前記移動機構を移動制御する、
麺帯製造方法。
【請求項7】
前記第1のローラ内及び前記第2のローラ内に液体を循環させる液体循環装置と、
前記第1のローラ及び前記第2のローラのうち、少なくとも一方のローラの温度を検出するローラ温度センサと、をさらに設け、
温度制御部で、前記ローラ温度センサで検出された前記ローラの温度に基づいて、前記第1のローラ及び前記第2のローラの温度が予め定められている温度となるように、前記第1のローラ内及び前記第2のローラ内を循環させる前記液体の温度を制御すること、
を特徴とする請求項6に記載の麺帯製造方法。
【請求項8】
回転駆動される第1のローラと、
前記第1のローラの回転に同期して同じ方向に回転駆動され、前記第1のローラのローラ面と相対向するように設けられたローラ面との間隙部に、反回転方向側から供給された麺帯を、前記間隙部の大きさに応じた麺厚に圧延し、回転方向側に送出する第2のローラと、
前記間隙部の大きさを小さくする方向、及び、前記間隙部の大きさを大きくする方向に、前記第1のローラを移動させる移動機構と、
前記第1のローラ側に固定して設けられ、前記移動機構による前記第1のローラの移動量と同じ移動量で移動する反射板と、
前記第2のローラ側に固定して設けられ、前記反射板に照射した測距光の反射光に基づいて、前記反射板との間の距離を検出する測距部と、を備える麺帯製造装置のコンピュータを、
前記測距部で検出される前記反射板との間の距離を、予め定められている所定の距離となるように前記移動機構を移動制御する移動制御部として機能させること、
を特徴とする麺帯製造プログラム。
【請求項9】
前記麺帯製造装置は、
前記第1のローラ内及び前記第2のローラ内に液体を循環させる液体循環装置と、
前記第1のローラ及び前記第2のローラのうち、少なくとも一方のローラの温度を検出するローラ温度センサと、をさらに備え、
前記コンピュータを、
前記ローラ温度センサで検出された前記ローラの温度に基づいて、前記第1のローラ及び前記第2のローラの温度が予め定められている温度となるように、前記第1のローラ内及び前記第2のローラ内を循環させる前記液体の温度を制御する温度制御部として、さらに機能させること、
を特徴とする請求項8に記載の麺帯製造プログラム。
発明の詳細な説明
【技術分野】
【0001】
本発明は、麺帯製造装置、包餡食品製造システム、麺帯製造方法及び麺帯製造プログラムに関する。
続きを表示(約 1,800 文字)
【背景技術】
【0002】
特許文献1(特開2022-118039号公報)には、麺帯の厚みを減少させる麺帯圧延装置が開示されている。この麺帯圧延装置は、下流側の最終の圧延ロール機から上流側に向って三基の圧延ロール機のうち、いずれかの圧延ロール機のロール径を200mm以上となるように構成している。これにより、所定の麺帯厚を維持しつつ安定した麺帯の調製が可能となり、また、高速の麺帯圧延にも対応可能となっている。
【0003】
また、特許文献2(特開2017-216986号公報)には、生成される麺帯の麺帯厚が、許容範囲内の麺帯厚となるように、圧延ローラの間隙を自動調整する麺帯厚自動調整方法が開示されている。
【先行技術文献】
【特許文献】
【0004】
特開2022-118039号公報
特開2017-216986号公報
【発明の概要】
【発明が解決しようとする課題】
【0005】
しかし、特許文献1及び特許文献2の技術も含め、従来は、生成される麺帯自体の厚さを測定している。生成された麺帯には、揺れが発生し、また、撓みも発生するため、麺帯自体の厚さ測定する場合、正確に麺帯の厚さを測定することが困難となり、牽いては、正確な麺厚調整に支障を来す問題があった。
【0006】
このような問題は、生成する麺帯の厚さが薄くなるほど、麺帯の揺れが大きくなり、また、麺帯に多くの撓みが発生するため、より顕著な問題となる。
【0007】
本発明は、上述の課題に鑑みてなされたものであり、麺帯の厚さを正確に測定可能とした麺帯製造装置、包餡食品製造システム、麺帯製造方法及び麺帯製造プログラムの提供を目的とする。
【課題を解決するための手段】
【0008】
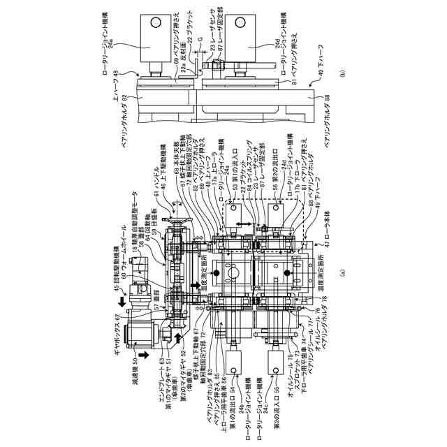
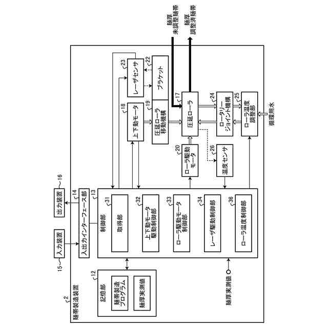
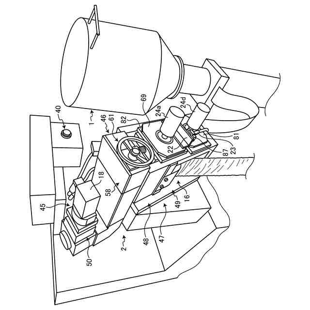
上述の課題を解決し、目的を達成するために、本発明に係る麺帯製造装置は、回転駆動される第1のローラと、第1のローラの回転に同期して同じ方向に回転駆動され、第1のローラのローラ面と相対向するように設けられたローラ面との間隙部に、反回転方向側から供給された麺帯を、間隙部の大きさに応じた麺厚に圧延し、回転方向側に送出する第2のローラと、間隙部の大きさを小さくする方向、及び、間隙部の大きさを大きくする方向に、第1のローラを移動させる移動機構と、第1のローラ側に固定して設けられ、移動機構による第1のローラの移動量と同じ移動量で移動する反射板と、第2のローラ側に固定して設けられ、反射板に照射した測距光の反射光に基づいて、反射板との間の距離を検出する測距部と、測距部で検出される反射板との間の距離を、予め定められている所定の距離となるように移動機構を移動制御する移動制御部と、を有する。
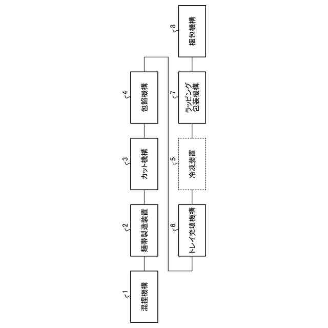
【0009】
また、上述の課題を解決し、目的を達成するために、本発明に係る包餡食品製造システムは、少なくとも、所定の材料を混捏して麺帯を生成する混捏機構と、生成された麺帯の厚さを所定の厚さに調整する麺帯製造装置と、所定の厚さに調整された麺帯を、所定の形状にカットするカット機構と、カットされた麺帯に餡を包餡する包餡機構と、を有する。
【0010】
また、上述の課題を解決し、目的を達成するために、本発明に係る麺帯製造方法は、回転駆動される第1のローラと、第1のローラの回転に同期して同じ方向に回転駆動され、第1のローラのローラ面と相対向するように設けられたローラ面との間隙部に、反回転方向側から供給された麺帯を、間隙部の大きさに応じた麺厚に圧延し、回転方向側に送出する第2のローラと、間隙部の大きさを小さくする方向、及び、間隙部の大きさを大きくする方向に、第1のローラを移動させる移動機構と、第1のローラ側に固定して設けられ、移動機構による第1のローラの移動量と同じ移動量で移動する反射板と、第2のローラ側に固定して設けられ、反射板に照射した測距光の反射光に基づいて、反射板との間の距離を検出する測距部と、を設け、移動制御部により、測距部で検出される反射板との間の距離を、予め定められている所定の距離となるように移動機構を移動制御する。
(【0011】以降は省略されています)
特許ウォッチbot のツイートを見る
この特許をJ-PlatPat(特許庁公式サイト)で参照する
関連特許
個人
調理用ガス窯
7日前
個人
装飾ケーキの製造方法
1か月前
不二製油株式会社
パン類の製造方法
1日前
不二製油株式会社
食物繊維含有ペストリー類
1日前
日本製紙株式会社
菓子用スポンジ生地
4日前
個人
多重積層パイ生地を用いた焼き菓子の製造方法
2か月前
株式会社 不二商会
バウムクーヘン自動焼成システム
2か月前
株式会社オシキリ
焼成装置、焼成制御方法、プログラム
1か月前
三菱商事ライフサイエンス株式会社
多加水パンに添加できる発酵種
2か月前
株式会社ミールケア
野菜パンの製造方法
23日前
株式会社ロッテ
食品生地の吐出ノズル及び吐出装置
1か月前
日清製粉株式会社
冷凍ベーカリー食品生地の製造方法
14日前
日本製紙株式会社
米粉を用いたパンケーキ生地、及びパンケーキの製造方法
2か月前
日清製粉株式会社
具材入り焼成ベーカリー食品の製造方法
1か月前
株式会社ニップン
クッキー用湯種の製造方法
2日前
日清オイリオグループ株式会社
電子レンジ加熱による層状ベーカリー食品の食感劣化を抑制する方法
14日前
株式会社ニップン
簡便なパンスイス様ペストリーの製造方法
2か月前
亀田製菓株式会社
製パン用組成物、及びパンの製造方法
2か月前
オリエンタル酵母工業株式会社
パン類用品質改良剤、パン類の品質改良方法およびパン類の製造方法
1か月前
テーブルマーク株式会社
発酵種の製造方法及びベーカリー食品の製造方法
16日前
日清製粉プレミックス株式会社
ベーカリー食品用ミックス、ベーカリー食品及びその製造方法
1か月前
味の素株式会社
麺帯製造装置、包餡食品製造システム、麺帯製造方法及び麺帯製造プログラム
2日前
昭和産業株式会社
パン類用味質改良剤、パン類用組成物、パン類用生地、パン類、パン類の製造方法、及びパン類の味質改良方法
2か月前
敷島製パン株式会社
パン類の製造方法、パン類、製パン性向上方法及びパン類の品質向上方法
14日前
Bフードサイエンス株式会社
冷凍パン生地の劣化抑制剤、それを用いる冷凍パン生地の劣化を抑制する方法、冷凍パン生地の製造方法およびパンの製造方法
2か月前
株式会社J-オイルミルズ
水種生地焼成食品用改良剤、水種生地、水種生地焼成食品用ミックス粉、水種生地焼成食品、水種生地の製造方法、水種生地焼成食品の経時劣化を抑制する方法、並びに水種生地焼成食品の食感を向上する方法
1か月前
三光機械株式会社
多列式縦型自動充填包装機及びホッパー
14日前
ノリタケ株式会社
熱処理装置
2か月前
ホワイトヘッド・インスティテュート・フォー・バイオメディカル・リサーチ
薬剤-凝縮物相互作用を特徴付け及び利用する方法
1か月前
三星電子株式会社
レジスト組成物及びそれを利用したパターン形成方法
2か月前
三井化学株式会社
オレフィン重合触媒およびオレフィン重合体の製造方法
2か月前
日本ペイント株式会社
水性塗料組成物および塗装物品の製造方法
1か月前
住友化学株式会社
酸発生剤、レジスト組成物及びレジストパターンの製造方法並びに塩
1か月前
株式会社ミヤコシ
印字装置
1か月前
住友化学株式会社
カルボン酸発生剤、レジスト組成物及びレジストパターンの製造方法並びにカルボン酸塩
1か月前
株式会社東芝
部材の接合方法
1か月前
続きを見る
他の特許を見る