TOP
|
特許
|
意匠
|
商標
特許ウォッチ
Twitter
他の特許を見る
公開番号
2025141978
公報種別
公開特許公報(A)
公開日
2025-09-29
出願番号
2025111486,2021574094
出願日
2025-07-01,2021-01-28
発明の名称
車両用合わせガラス、自動車、及び車両用合わせガラスの製造方法
出願人
AGC株式会社
代理人
弁理士法人太陽国際特許事務所
主分類
C03C
27/12 20060101AFI20250919BHJP(ガラス;鉱物またはスラグウール)
要約
【課題】堅牢性を有しつつ、衝突時の安全性能の高い車両用ガラスを提供する。
【解決手段】車両用合わせガラスにおいて、ISO1288-5(2016)に記載された方法により測定される破壊応力が100MPa以上600MPa以下である領域の割合が、透視領域の90%以上である。
【選択図】なし
特許請求の範囲
【請求項1】
ISO1288-5(2016)に記載された方法により測定される破壊応力が100MPa以上600MPa以下である領域の割合が、透視領域の90%以上である、車両用合わせガラス。
続きを表示(約 870 文字)
【請求項2】
ISO1288-5(2016)に記載された方法により測定される破壊応力が600MPa超である領域の割合が、前記透視領域の5%以下である、請求項1に記載の車両用合わせガラス。
【請求項3】
ISO1288-5(2016)に記載された方法により測定される破壊応力が100MPa未満である領域の割合が、前記透視領域の5%以下である、請求項1又は2に記載の車両用合わせガラス。
【請求項4】
前記破壊応力が、車内側から荷重をかけて測定される値である、請求項1から3のいずれか一項に記載の車両用合わせガラス。
【請求項5】
前記破壊応力が、車外側から荷重をかけて測定される値である、請求項4に記載の車両用合わせガラス。
【請求項6】
前記破壊応力は、前記車両用合わせガラスが車両に組付けられる前の状態で測定された値である、請求項1から5のいずれか一項に記載の車両用合わせガラス。
【請求項7】
フロントガラスである、請求項1から6のいずれか一項に記載の車両用合わせガラス。
【請求項8】
請求項1から7のいずれか一項に記載の車両用合わせガラスを備えた、自動車。
【請求項9】
車両用合わせガラスの製造方法であって、
前記車両用合わせガラスが、車外側に配置される第1ガラス板と、車内側に配置される第2ガラス板とが中間膜を介して積層されてなり、
前記第1ガラス板が、車外側の第1表面と、車内側の第2表面とを有し、
前記第2ガラス板が、車外側の第3表面と、車内側の第4表面とを有し、
前記第1表面から前記第4表面のうち少なくとも1つに強度平準化処理を施す、車両用合わせガラスの製造方法。
【請求項10】
前記第2表面、前記第3表面、及び前記第4表面のうち少なくとも1つに強度平準化処理を施す、請求項9に記載の車両用合わせガラスの製造方法。
(【請求項11】以降は省略されています)
発明の詳細な説明
【技術分野】
【0001】
本発明は、車両用合わせガラス、自動車、及び車両用合わせガラスの製造方法に関する。
続きを表示(約 1,500 文字)
【背景技術】
【0002】
自動車等の車両には高い安全性が求められており、例えばウインドシールドには車両用安全ガラスとして乗員保護の観点から、車内面から乗員が当たった時の車外放出を防止し、且つ衝撃吸収をするような基準を満たしていることが求められている。また、近年では、歩行者との衝突時の安全性能が重要視されている。特に、車両が人体に衝突した場合に人体の安全を確保できる性能、すなわち衝突時の人体保護性能が強く求められており、様々な構成が検討されている。例えば、特許文献1には、歩行者に対する車両の前突に伴って、カウルルーバー及びウインドシールドガラスの周りに対し、前方から下方への衝撃が加わった時には、繋がれたカウルルーバーとウインドシールドとが切り離されることで、歩行者の安全を確保できる構成が提案されている。
【先行技術文献】
【特許文献】
【0003】
特開2017-213928号公報
【発明の概要】
【発明が解決しようとする課題】
【0004】
上述のような安全性に対する高い要望は、車両用ガラスに対しても大きくなっている。車両用ガラスには、ガラス全体としてある程度の堅牢性が必要である一方、上述のような衝突時の人体保護を考慮すると、車両用ガラスが人体と衝突した場合にも人体に衝撃又は損傷を与えにくいように車両用ガラスの強度を制御することが求められる。
【0005】
しかしながら、板状に成形されたガラスは元来、面内で強度に分布があることが知られおり、ガラス板の強度も、安全率、破損確率等によって確率論的に規定されるのが通常である。よって、車両用ガラス全体としての強度が適切であったとしても、車両用ガラスの面内に強度が過剰に高い領域が局在することがあり、その強度が過剰に大きい領域に人体が衝突した場合には、人体に損傷を与える可能性もあり得る。
【0006】
ここで、面内に局在する強度が過剰に高い領域における強度を低下させるために、ガラスの組成や製法を変更して車両用ガラスの強度を全体的に低下させることも考えられる。しかし、その場合には、面内の強度が比較的低い領域においても強度低下が起こり、車両用ガラスとして必要な堅牢性を損ねてしまう可能性がある。よって、強度が過剰に大きい領域を低減又は排除して面内での強度の分布を抑えることで、車両用ガラスとしての堅牢性を確保しつつ、上述のような人体保護の観点から衝突時の安全性能の高い車両用ガラスが求められている。
【0007】
本発明の一態様は、堅牢性を有しつつ、衝突時の安全性能の高い車両用ガラスを提供することを課題とする。
【課題を解決するための手段】
【0008】
本発明の一態様は、ISO1288-5(2016)に記載された方法により測定される破壊応力が100MPa以上600MPa以下である領域の割合が、透視領域の90%以上である、車両用合わせガラスである。
【発明の効果】
【0009】
本発明の一態様によれば、堅牢性を有しつつ、衝突時の安全性能の高い車両用ガラスを提供できる。
【図面の簡単な説明】
【0010】
本発明の一実施形態による合わせガラスを備えた車両の正面図である。
図1に示された合わせガラスの断面図である。
例1及び例2の結果を示すグラフである。
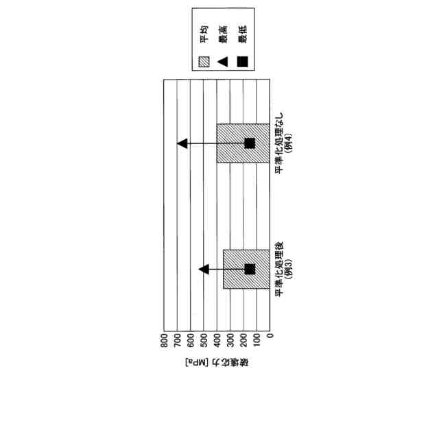
例3及び例4においてフロントガラスから切り出されたサンプルの位置を示す図である。
例3及び例4の結果を示すグラフである。
【発明を実施するための形態】
(【0011】以降は省略されています)
この特許をJ-PlatPat(特許庁公式サイト)で参照する
関連特許
AGC株式会社
光学素子
1か月前
AGC株式会社
真空断熱材
4日前
AGC株式会社
合わせガラス
1か月前
AGC株式会社
ガラス構造体
28日前
AGC株式会社
合紙積層装置
今日
AGC株式会社
感光性ガラス
22日前
AGC株式会社
太陽電池モジュール
7日前
AGC株式会社
積層板および光学素子
15日前
AGC株式会社
研磨装置及び研磨方法
1か月前
AGC株式会社
樹脂組成物及びその成形体
1か月前
AGC株式会社
潤滑油基油、潤滑油組成物
1か月前
AGC株式会社
車両用窓ガラスとその製造方法
1日前
AGC株式会社
収納容器、支持部材及び梱包体
24日前
AGC株式会社
複層ガラス、高地対応複層ガラス
15日前
AGC株式会社
光学素子の製造方法、及び光学素子
2日前
AGC株式会社
組成物、稠密シート及びその製造方法
1か月前
AGC株式会社
フロートガラスの検査方法及び検査装置
24日前
AGC株式会社
稠密シートの製造方法、及び稠密シート
24日前
AGC株式会社
光学素子の製造方法、及び光学素子の製造装置
1か月前
AGC株式会社
検査装置、プログラム、検査方法および生産方法
1か月前
AGC株式会社
検査システム、検査装置、検査方法および生産方法
1か月前
AGC株式会社
化学強化結晶化ガラスおよび化学強化用結晶化ガラス
4日前
AGC株式会社
分類装置、分類方法、プログラム及び学習済みモデル
1か月前
AGC株式会社
分類装置、分類方法、プログラム及び学習済みモデル
1か月前
AGC株式会社
分類装置、分類方法、プログラム及び学習済みモデル
1か月前
AGC株式会社
強化ガラスの応力測定装置、強化ガラスの応力測定方法
14日前
AGC株式会社
光学素子
8日前
AGC株式会社
結晶化ガラス
14日前
AGC株式会社
硬化性組成物の品質評価方法、及び硬化性組成物の出荷管理方法
1か月前
AGC株式会社
無アルカリガラス
3日前
AGC株式会社
テキスト生成方法、テキスト生成プログラム、及びテキスト生成装置
今日
AGC株式会社
反射型マスクブランク、反射型マスクおよび反射型マスクの製造方法
今日
AGC株式会社
反射型マスクブランク、反射型マスクおよび反射型マスクの製造方法
今日
AGC株式会社
組成物、洗浄方法、塗膜形成用組成物、エアゾール組成物、熱移動媒体
1日前
AGC株式会社
組成物、洗浄方法、塗膜形成用組成物、エアゾール組成物、熱移動媒体
1日前
AGC株式会社
合わせガラス、車両用合わせガラス、及び車両フロントガラス用合わせガラス
1か月前
続きを見る
他の特許を見る