TOP
|
特許
|
意匠
|
商標
特許ウォッチ
Twitter
他の特許を見る
10個以上の画像は省略されています。
公開番号
2025123103
公報種別
公開特許公報(A)
公開日
2025-08-22
出願番号
2024018978
出願日
2024-02-09
発明の名称
検査装置、プログラム、検査方法および生産方法
出願人
AGC株式会社
代理人
弁理士法人志賀国際特許事務所
主分類
G01N
21/88 20060101AFI20250815BHJP(測定;試験)
要約
【課題】被検査体に生じた欠陥をより正確に検出する。
【解決手段】原画像を用いて被検査体に生ずる欠陥を検査する検査装置において、復元部は原画像をより自由度が低い中間値に変換し、中間値から復元された復元画像に変換し、検出部は原画像と復元画像との差分画像に基づいて被検査体に生ずる欠陥を検出する。原画像を用いて被検査体に生ずる欠陥を検査する検査方法であって、原画像をより自由度が低い中間値に変換し、中間値から復元された復元画像に変換し、原画像と復元画像との差分画像に基づいて被検査体に生ずる欠陥を検出する。
【選択図】図3
特許請求の範囲
【請求項1】
原画像を用いて被検査体に生ずる欠陥を検査する検査装置であって、
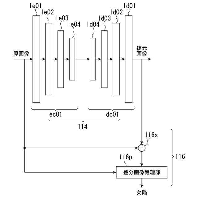
前記原画像をより自由度が低い中間値に変換し、前記中間値から復元された復元画像に変換する復元部と、
前記原画像と前記復元画像との差分画像に基づいて前記被検査体に生ずる欠陥を検出する検出部と、を備える
検査装置。
続きを表示(約 970 文字)
【請求項2】
前記検出部は、
前記差分画像の信号値が所定の基準値以上となる領域の大きさに基づいて前記欠陥を検出する
請求項1に記載の検査装置。
【請求項3】
前記被検査体は、周縁に不透明な遮蔽層が形成され、透明の層材を複数層重ね合わせたものであり、
前記検出部は、
前記原画像に表される前記遮蔽層に囲まれる領域の少なくとも一部を前記欠陥の検査範囲として定める
請求項2に記載の検査装置。
【請求項4】
前記欠陥は、前記層材間における気泡または間隙である
請求項3に記載の検査装置。
【請求項5】
前記復元部は、
前記原画像を前記中間値に変換するエンコーダと、
前記中間値から前記復元画像に変換するデコーダと、
を備えるオートエンコーダを有する
請求項1に記載の検査装置。
【請求項6】
前記エンコーダは1層以上の畳み込み層を有するニューラルネットワークであり、
前記デコーダは1層以上の逆畳み込み層を有するニューラルネットワークである
請求項5に記載の検査装置。
【請求項7】
前記被検査体の像が異なる配置に表れる訓練画像を複数個含む訓練データを取得し、
前記訓練データに基づいて前記原画像から前記復元画像に変換するモデルを学習するモデル学習部と、を備える
請求項1に記載の検査装置。
【請求項8】
前記モデル学習部は、
背景画像に異なる位置または向きに前記被検査体の像を配置してなる前記訓練画像を含む訓練データを取得する
請求項7に記載の検査装置。
【請求項9】
コンピュータに
請求項1に記載の検査装置として機能させるためのプログラム。
【請求項10】
原画像を用いて被検査体に生ずる欠陥を検査する検査方法であって、
前記原画像をより自由度が低い中間値に変換し、前記中間値から復元された復元画像に変換し、
前記原画像と前記復元画像との差分画像に基づいて前記被検査体に生ずる欠陥を検出する
検査方法。
(【請求項11】以降は省略されています)
発明の詳細な説明
【技術分野】
【0001】
本願は、検査装置、プログラム、検査方法および生産方法に関する。本願は、例えば、被検査体の画像を示す画像データを用いて被検査体に生ずる欠陥の状態を判定するための技術に関する。
続きを表示(約 2,300 文字)
【背景技術】
【0002】
複数のガラス層を積層して形成されるガラス材は、合わせガラス、積層ガラスなどとも呼ばれる。合わせガラスは、自動車のウィンドウガラスに応用されることがある。合わせガラスは、生産工程(積層工程)において脱気が不十分なことにより、品質に問題を生じさせることがある。例えば、視界を妨げることや、強度もしくは気密性の低下を招くことがある。そのため、品質問題の発生原因となる欠陥を生産工程において極力検出することが望まれる。
【0003】
従来、ガラス材に生じた欠陥の検出において機械学習モデルの利用が試みられた。例えば、特許文献1には、ガラス板を撮像した撮像画像を取得する画像取得部と、ガラス板に発生した欠陥の位置および範囲を推論するように、当該位置および範囲を学習した学習済モデルに、撮像画像を入力して得られる推論結果における範囲のサイズを、撮像されたガラス板に発生した欠陥のサイズとして検出するサイズ検出部と、を備える検査装置について記載されている。
【先行技術文献】
【特許文献】
【0004】
特開2022-187282号公報
【発明の概要】
【発明が解決しようとする課題】
【0005】
しかしながら、撮像画像において欠陥が生じた欠陥部位を学習させたモデルを用いる場合、過検出が生じがちである。過検出とは、欠陥部位以外の正常部位も欠陥部位として検出することを指す。例えば、ガラス材において、信号値の空間変化が比較的大きいエッジ部分や微細な部材が所在する部位が、欠陥部位として検出される傾向がある。
また、一般に機械学習モデルの学習において、相応の精度を確保するためには多量の訓練データを要する。特に、経年劣化により顕著になる欠陥については、欠陥が生じた被検査体を出荷後に収集または回収することが困難なことがある。ひいては、欠陥部位を学習させるための訓練データが十分に確保できなくなることがある。
本願は上記の点に鑑みてなされたものであり、本願発明の課題の一つは、被検査体に生じる欠陥をより正確に検出することができる検査装置、プログラム、検査方法および生産方法を提供することである。
【課題を解決するための手段】
【0006】
(1)本願は上記の課題を解決するためになされたものであり、本願発明の一態様は、原画像を用いて被検査体に生ずる欠陥を検査する検査装置であって、前記原画像をより自由度が低い中間値に変換し、前記中間値から復元された復元画像に変換する復元部と、前記原画像と前記復元画像との差分画像に基づいて前記被検査体に生ずる欠陥を検出する検出部と、を備える検査装置である。
(2)本願発明の他の態様は、コンピュータに(1)に記載の検査装置として機能させるためのプログラムであってもよい。
【0007】
(3)本願発明の他の態様は、原画像を用いて被検査体に生ずる欠陥を検査する検査方法であって、前記原画像をより自由度が低い中間値に変換し、前記中間値から復元された復元画像に変換し、前記原画像と前記復元画像との差分画像に基づいて前記被検査体に生ずる欠陥を検出する検査方法である。
【0008】
(4)本願発明の他の態様は、複数のガラス層の間に中間層を挟み、前記被検査体として合わせガラスを形成し、(3)の検査方法と、欠陥を検出した前記合わせガラスを有する物体を排除する工程と、を有する前記物体の生産方法であってもよい。
【発明の効果】
【0009】
本願の実施形態によれば、被検査体に生じた欠陥をより正確に検出することができる。
【図面の簡単な説明】
【0010】
本実施形態に係る検査システムの構成例を示す概略図である。
本実施形態に係る検査装置の機能構成例を示す概略ブロック図である。
本実施形態に係る検査装置の概要を説明するための概略ブロック図である。
本実施形態に係るモデルを説明するための図である。
試料の撮像画像の第1例を示す図である。
撮像画像、復元画像および差分画像の第1例を示す図である。
撮像画像、復元画像および差分画像の第2例を示す図である。
本実施形態に係る差分画像処理を例示するフローチャートである。
試料の辺縁部を例示する図である。
撮像画像の背景部分を例示する図である。
欠陥の検査範囲を例示する図である。
検査範囲内の二値画像を例示する図である。
ノイズ処理後の二値画像を例示する図である。
欠陥領域を示す二値画像を例示する図である。
欠陥領域の第1検出例を示す図である。
欠陥領域の第2検出例を示すヒストグラムである。
モデル別の過検出率を示す図である。
本実施形態に係る欠陥検出処理を例示するフローチャートである。
試料の撮像画像の第2例を示す図である。
本実施形態に係る合否判定処理を例示するフローチャートである。
欠陥領域の第3検出例を示すヒストグラムである。
欠陥領域の第4検出例を示すヒストグラムである。
試料の撮像画像の第3例を示す図である。
撮像画像から抽出された試料画像を示す図である。
試料画像と背景画像を合成した訓練画像を例示する図である。
本実施形態に係る訓練データ生成処理を例示するフローチャートである。
【発明を実施するための形態】
(【0011】以降は省略されています)
この特許をJ-PlatPat(特許庁公式サイト)で参照する
関連特許
AGC株式会社
光学素子
1か月前
AGC株式会社
真空断熱材
7日前
AGC株式会社
ガラス構造体
1か月前
AGC株式会社
感光性ガラス
25日前
AGC株式会社
合紙積層装置
3日前
AGC株式会社
合わせガラス
1か月前
AGC株式会社
太陽電池モジュール
10日前
AGC株式会社
積層板および光学素子
18日前
AGC株式会社
樹脂組成物及びその成形体
1か月前
AGC株式会社
収納容器、支持部材及び梱包体
27日前
AGC株式会社
車両用窓ガラスとその製造方法
4日前
AGC株式会社
複層ガラス、高地対応複層ガラス
18日前
AGC株式会社
光学素子の製造方法、及び光学素子
5日前
AGC株式会社
稠密シートの製造方法、及び稠密シート
27日前
AGC株式会社
フロートガラスの検査方法及び検査装置
27日前
AGC株式会社
検査装置、プログラム、検査方法および生産方法
1か月前
AGC株式会社
検査システム、検査装置、検査方法および生産方法
1か月前
AGC株式会社
分類装置、分類方法、プログラム及び学習済みモデル
1か月前
AGC株式会社
分類装置、分類方法、プログラム及び学習済みモデル
1か月前
AGC株式会社
化学強化結晶化ガラスおよび化学強化用結晶化ガラス
7日前
AGC株式会社
分類装置、分類方法、プログラム及び学習済みモデル
1か月前
AGC株式会社
強化ガラスの応力測定装置、強化ガラスの応力測定方法
17日前
AGC株式会社
光学素子
11日前
AGC株式会社
結晶化ガラス
17日前
AGC株式会社
硬化性組成物の品質評価方法、及び硬化性組成物の出荷管理方法
1か月前
AGC株式会社
無アルカリガラス
6日前
AGC株式会社
テキスト生成方法、テキスト生成プログラム、及びテキスト生成装置
3日前
AGC株式会社
反射型マスクブランク、反射型マスクおよび反射型マスクの製造方法
3日前
AGC株式会社
反射型マスクブランク、反射型マスクおよび反射型マスクの製造方法
3日前
AGC株式会社
組成物、洗浄方法、塗膜形成用組成物、エアゾール組成物、熱移動媒体
4日前
AGC株式会社
組成物、洗浄方法、塗膜形成用組成物、エアゾール組成物、熱移動媒体
4日前
AGC株式会社
粘着剤組成物、粘着剤、貼付材、表面保護フィルム、光学部材、及び電子部材
1か月前
AGC株式会社
粘着剤組成物、粘着剤、貼付材、表面保護フィルム、光学部材、及び電子部材
1か月前
AGC株式会社
ハロゲン化アルケンの製造方法
1か月前
AGC株式会社
ハロゲン化アルケンの製造方法
6日前
AGC株式会社
太陽電池モジュール設計システム、太陽電池モジュールの設計方法、及びプログラム
1か月前
続きを見る
他の特許を見る