TOP
|
特許
|
意匠
|
商標
特許ウォッチ
Twitter
他の特許を見る
10個以上の画像は省略されています。
公開番号
2025141579
公報種別
公開特許公報(A)
公開日
2025-09-29
出願番号
2024041587
出願日
2024-03-15
発明の名称
保守支援システム及び保守支援方法、情報処理装置及びプログラム
出願人
キヤノン株式会社
代理人
弁理士法人大塚国際特許事務所
主分類
G06F
3/12 20060101AFI20250919BHJP(計算;計数)
要約
【課題】サービスツールが保守対象の画像形成装置とは異なるシステムにインストールされている場合の作業効率の低下を抑制する。
【解決手段】画像形成装置と連携する情報処理装置が提供される。情報処理装置は、表示部により表示されている文書情報に含まれた、画像形成装置が当該画像形成装置の表示部に表示する、画像形成装置の保守用画面に紐づけられた情報の選択に応じて、当該情報に紐づけられた保守用画面の画面情報の送信を前記画像形成装置に指示する。また、指示に応じて画像形成装置により送信された画面情報に基づいて保守用画面を表示部により表示する。
【選択図】図9
特許請求の範囲
【請求項1】
画像形成装置と連携する情報処理装置であって、
表示手段と、
前記表示手段により表示されているマニュアルに含まれた、前記画像形成装置が当該画像形成装置の表示部に表示する、前記画像形成装置の保守用画面に紐づけられた項目の選択に応じて、当該項目に紐づけられた前記保守用画面の画面情報の送信を前記画像形成装置に指示する指示手段と、
前記指示手段による指示に応じて前記画像形成装置により送信された前記画面情報に基づいて前記保守用画面を前記表示手段により表示する表示制御手段と、を有する
ことを特徴とする情報処理装置。
続きを表示(約 1,200 文字)
【請求項2】
請求項1に記載の情報処理装置であって、
作業中の作業員の役割を保持する手段をさらに有し、
前記指示手段は、前記項目の選択に応じて、選択を行った前記作業員の前記役割ごとに前記項目に紐づけられた前記保守用画面の送信を前記画像形成装置に指示する
ことを特徴とする情報処理装置。
【請求項3】
請求項1に記載の情報処理装置であって、
前記画像形成装置が有する遠隔操作サーバーに対する遠隔操作クライアントを更に有し、
前記遠隔操作クライアントにより、前記表示手段で表示された前記保守用画面での操作に応じて、前記画像形成装置に対する指示を送信する
ことを特徴とする情報処理装置。
【請求項4】
請求項1に記載の情報処理装置であって、
前記保守用画面と前記項目とは、前記画像形成装置が保持する前記保守用画面それぞれに対応するコマンドと、前記指示手段により前記画像形成装置に指示されるコマンドにより紐づけられる
ことを特徴とする情報処理装置。
【請求項5】
請求項1に記載の情報処理装置であって、
前記保守用画面と前記項目とは、前記画像形成装置が保持する前記保守用画面それぞれに対応する仮想ボタンと、前記指示手段により前記画像形成装置に指示される、前記項目に紐づけられた前記仮想ボタンにより紐づけられる
ことを特徴とする情報処理装置。
【請求項6】
請求項5に記載の情報処理装置であって、
前記仮想ボタンは、前記画像形成装置により表示されない
ことを特徴とする情報処理装置。
【請求項7】
請求項1に記載の情報処理装置であって、
前記マニュアルと、前記マニュアルに含まれた前記項目と前記保守用画面との紐づけの情報とをサーバーから取得する取得手段をさらに有し、
前記指示手段は、前記表示手段により表示されている、前記取得手段により取得された前記マニュアルからの前記情報の選択に応じて当該情報に紐づけられた前記保守用画面の送信を前記画像形成装置に指示する
ことを特徴とする情報処理装置。
【請求項8】
請求項1に記載の情報処理装置であって、
前記表示制御手段は、前記保守用画面を閉じる操作に応じて、前記マニュアルを再表示する
ことを特徴とする情報処理装置。
【請求項9】
請求項1に記載の情報処理装置であって、
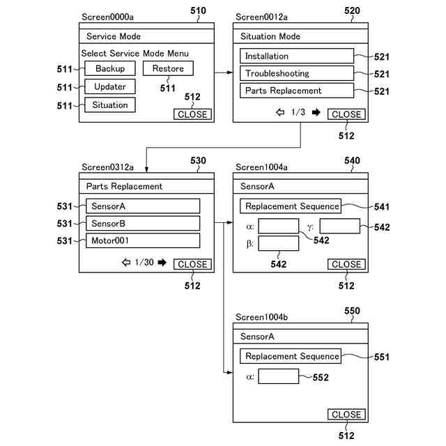
前記保守用画面はユーザが画像形成装置の保守点検を行うための画面である
ことを特徴とする情報処理装置。
【請求項10】
請求項1乃至9のいずれか一項に記載の情報処理装置と、
画像形成装置と、を含む
ことを特徴とする保守支援システム。
(【請求項11】以降は省略されています)
発明の詳細な説明
【技術分野】
【0001】
本発明は、画像形成装置の保守支援を行うための保守支援システム及び保守支援方法、情報処理装置及びプログラムに関する。
続きを表示(約 1,600 文字)
【背景技術】
【0002】
商業印刷分野においては、画像形成装置のダウンタイムは損失に直結することから、高い稼働率が求められる。そのため、メンテナンスやエラーが発生した際の対応は、軽作業はオペレーターが対応を行うが、オペレーターで対応できない場合は、保守作業員が画像形成装置の設置場所に派遣され対応を行う。そして保守作業員は、ダウンタイムによる損失を抑えるため、より迅速な処置が求められる。
【0003】
保守作業員の作業の効率化を図るため、保守作業員が対処すべきエラーや保守項目をワークリストとして表示し、保守作業を支援する保守支援システムがある。保守作業員はこのワークリストから実施する作業を選択すると、作業に対する手順を記したサービスマニュアルを参照でき、より効率的な保守作業が行える。
【0004】
また、保守作業員を権限やスキルによってレベル分けを行い、軽微な作業はサービスセンターなどから派遣される従来のカスタマーエンジニアでなく、顧客先で教育を受けたメンテナンススペシャリストが対応を行うことがある。こうして、作業員の派遣コストを抑えて効率的に対処が行う保守運用が行われている。
【先行技術文献】
【特許文献】
【0005】
特開2019-109722号公報
【発明の概要】
【発明が解決しようとする課題】
【0006】
マニュアルと実作業を効率的に行う提案として、例えば特許文献1では、画像形成装置の操作パネル上において、マニュアルと該当操作画面のリンクアイコンを配置する方法が提示されている。この提案ではWebサーバーから取得したマニュアルを表示するブラウザが、操作画面と同じ画像形成装置上に搭載されているため、マニュアルと該当操作画面の切り替えは容易に行える。
【0007】
しかしながら、保守支援システムにおいては、保守支援するためのサービスツールが画像形成装置とは別の外部装置にインストールされていることが多く、その場合特許文献1のような切り替えは行えない。そのため、サービスツールが外部装置にインストールされている場合、サービスマニュアルに従った作業を行うには、装置間の操作パネルを行き来し、画像形成装置のメニューから所望画面に入るところから操作を行う必要があった。このようなやり方では作業効率が低下することが課題である。
【0008】
また、画像形成装置の操作パネルは、一般的な外部装置に比べ、表示面積が小さく操作性に劣ることが多く、これも作業効率が低下する要因の1つとして存在する。
【0009】
本発明は、上記の課題に鑑みてなされたものであり、サービスツールがインストールされた装置と画像形成装置が異なる場合においても、サービスツール上のサービスマニュアルから画像形成装置の操作を効率的に行える環境を提供することを目的とする。
【課題を解決するための手段】
【0010】
上記目的を達成するために、本発明の一態様によれば、画像形成装置と連携する情報処理装置であって、
表示手段と、
前記表示手段により表示されているマニュアルに含まれた、前記画像形成装置が当該画像形成装置の表示部に表示する、前記画像形成装置の保守用画面に紐づけられた項目の選択に応じて、当該項目に紐づけられた前記保守用画面の画面情報の送信を前記画像形成装置に指示する指示手段と、
前記指示手段による指示に応じて前記画像形成装置により送信された前記画面情報に基づいて前記保守用画面を前記表示手段により表示する表示制御手段と、を有する
ことを特徴とする情報処理装置が提供される。
【発明の効果】
(【0011】以降は省略されています)
この特許をJ-PlatPat(特許庁公式サイト)で参照する
関連特許
キヤノン株式会社
トナー
今日
キヤノン株式会社
電子機器
8日前
キヤノン株式会社
発光装置
7日前
キヤノン株式会社
電子機器
2日前
キヤノン株式会社
定着装置
8日前
キヤノン株式会社
撮像装置
8日前
キヤノン株式会社
電子機器
4日前
キヤノン株式会社
記録装置
今日
キヤノン株式会社
表示装置
7日前
キヤノン株式会社
電子機器
8日前
キヤノン株式会社
収容装置
8日前
キヤノン株式会社
撮像装置
今日
キヤノン株式会社
現像剤容器
1日前
キヤノン株式会社
半導体装置
2日前
キヤノン株式会社
画像形成装置
4日前
キヤノン株式会社
画像形成装置
8日前
キヤノン株式会社
画像形成装置
1日前
キヤノン株式会社
映像表示装置
4日前
キヤノン株式会社
画像形成装置
4日前
キヤノン株式会社
画像形成装置
1日前
キヤノン株式会社
画像形成装置
7日前
キヤノン株式会社
画像形成装置
4日前
キヤノン株式会社
画像形成装置
8日前
キヤノン株式会社
画像形成装置
1日前
キヤノン株式会社
画像形成装置
4日前
キヤノン株式会社
画像形成装置
4日前
キヤノン株式会社
画像形成装置
4日前
キヤノン株式会社
表示システム
1日前
キヤノン株式会社
画像形成装置
7日前
キヤノン株式会社
画像形成装置
4日前
キヤノン株式会社
画像形成装置
8日前
キヤノン株式会社
画像処理装置
1日前
キヤノン株式会社
画像形成装置
2日前
キヤノン株式会社
画像形成装置
4日前
キヤノン株式会社
画像形成装置
4日前
キヤノン株式会社
画像形成装置
7日前
続きを見る
他の特許を見る