TOP
|
特許
|
意匠
|
商標
特許ウォッチ
Twitter
他の特許を見る
10個以上の画像は省略されています。
公開番号
2025141494
公報種別
公開特許公報(A)
公開日
2025-09-29
出願番号
2024041450
出願日
2024-03-15
発明の名称
水上移動体用推進装置
出願人
本田技研工業株式会社
代理人
弁理士法人大島特許事務所
主分類
B63H
20/14 20060101AFI20250919BHJP(船舶またはその他の水上浮揚構造物;関連艤装品)
要約
【課題】小型のベアリングによってリングギヤの反力に十分に耐える。
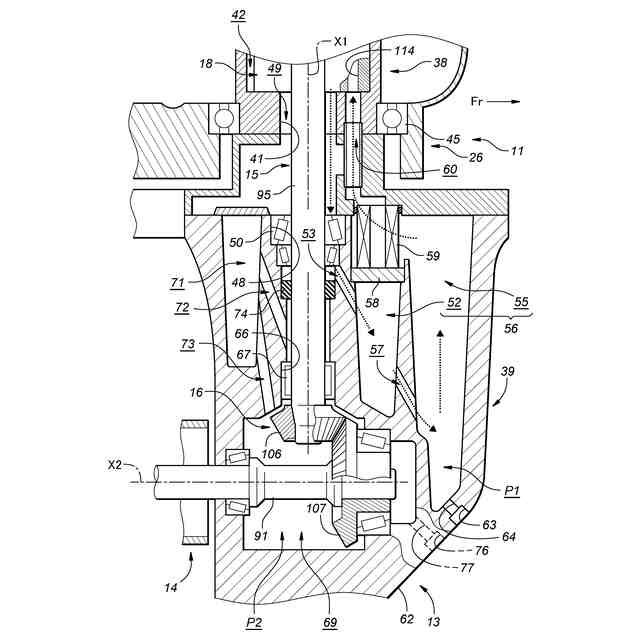
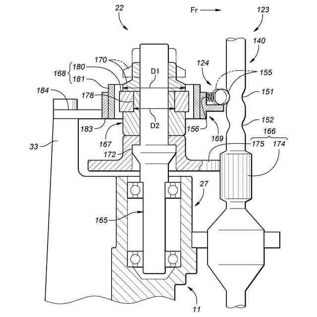
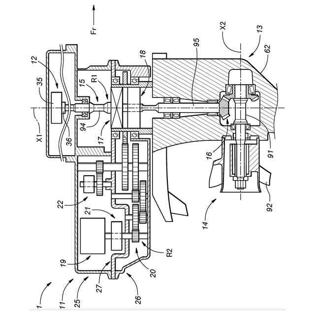
【解決手段】水上移動体用推進装置は、上部ケース11に収容される推進モータと、上部ケース11に回動軸X1回りに回動可能に支持される下部ケース13と、推進モータの回転を減速する遊星減速機構17と、上部ケース11に収容される操舵モータ19と、操舵モータ19の回転を減速する操舵減速機構20と、を備え、下部ケース13は、回動軸X1を中心とする円筒形状の回動部38を有し、遊星減速機構17は、回動部38の内周に配置され、下部ケース13は、回動部38の外周に配置される上部ベアリング44及び下部ベアリング45を介して上部ケース11に支持され、操舵減速機構20は、上部ベアリング44と下部ベアリング45との間で回動部38の外周面に結合するリングギヤ126を有する。
【選択図】図3
特許請求の範囲
【請求項1】
水上移動体用推進装置であって、
水上移動体の船体によって支持される上部ケースと、
前記上部ケースに収容される推進モータと、
前記上部ケースに回動軸回りに回動可能に支持される下部ケースと、
前記下部ケースに支持され、前記推進モータの駆動力によって推進軸回りに回転する推進器と、
前記推進モータから前記推進器に至る駆動力伝達経路に設けられ、前記推進モータの回転を減速する遊星減速機構と、
前記上部ケースに収容される操舵モータと、
前記操舵モータから前記下部ケースに至る操舵力伝達経路に設けられ、前記操舵モータの回転を減速する操舵減速機構と、を備え、
前記下部ケースは、前記回動軸を中心とする円筒形状の回動部を有し、
前記遊星減速機構は、前記回動部の内周に配置され、
前記下部ケースは、前記回動部の外周に配置される上部ベアリング及び下部ベアリングを介して前記上部ケースに支持され、
前記操舵減速機構は、前記上部ベアリングと前記下部ベアリングとの間で前記回動部の外周面に結合するリングギヤを有する水上移動体用推進装置。
続きを表示(約 860 文字)
【請求項2】
前記回動部は、前記上部ベアリングの上方において拡径する拡径部を有し、
前記遊星減速機構は、前記拡径部の内周に配置されている請求項1に記載の水上移動体用推進装置。
【請求項3】
前記遊星減速機構に冷却媒体を供給する冷却媒体供給機構を更に備え、
前記冷却媒体供給機構は、前記拡径部よりも下方において前記回動部の内周に配置されている請求項2に記載の水上移動体用推進装置。
【請求項4】
前記リングギヤは、前記冷却媒体供給機構と同じ高さから前記冷却媒体供給機構よりも下方まで延出し、前記下部ベアリングの上面に当接している請求項3に記載の水上移動体用推進装置。
【請求項5】
前記操舵減速機構は、
前記リングギヤと係合する第1ギヤと、
前記第1ギヤと同軸に配置され、前記第1ギヤよりも大径な第2ギヤと、を更に有し、
前記第2ギヤの一部は、前記上部ベアリングと前記下部ベアリングとの間に配置されている請求項1~4のいずれか1項に記載の水上移動体用推進装置。
【請求項6】
前記操舵減速機構は、
前記リングギヤと係合する第1ギヤと、
前記第1ギヤと同軸に配置され、前記第1ギヤよりも大径な第2ギヤと、を更に有し、
前記回動部の前記外周面には、円環状の凹部が形成され、
前記第2ギヤの一部は、前記凹部に受容されている請求項1~4のいずれか1項に記載の水上移動体用推進装置。
【請求項7】
前記上部ケースは、
上壁と、
前記上壁の下方に配置される下壁と、
前記上壁と前記下壁との間に配置され、前記上部ケースの内部空間をオイル室とドライ室とに区画するセパレータと、を有し、
前記上部ベアリングは、前記セパレータに取り付けられ、
前記下部ベアリングは、前記下壁に取り付けられている請求項1~4のいずれか1項に記載の水上移動体用推進装置。
発明の詳細な説明
【技術分野】
【0001】
本発明は、水上移動体用推進装置に関する。
続きを表示(約 1,800 文字)
【背景技術】
【0002】
近年、低炭素社会又は脱炭素社会の実現に向けた取り組みが活発化し、船外機などの水上移動体用推進装置においてもCO
2
排出量の削減やエネルギー効率の改善のために、電動化技術に関する研究開発が行われている。
【0003】
例えば、特許文献1には、上部ケースと、上部ケースに回動可能に支持される下部ケースと、上部ケースに収容される操舵モータ(第2駆動源)と、を備えた水上移動体用推進装置(船外機)が開示されている。下部ケースには、リングギヤ(第1ギヤ)が設けられており、操舵モータの出力軸には、リングギヤと噛み合う出力軸ギヤ(第2ギヤ)が設けられている。操舵モータの出力軸の回転が出力軸ギヤ及びリングギヤによって下部ケースに伝達され、下部ケースが上部ケースに対して回動する。
【先行技術文献】
【特許文献】
【0004】
特開2022-117651号公報
【発明の概要】
【発明が解決しようとする課題】
【0005】
上記のリングギヤは、操舵モータからのトルクを受けることで、反力を発生させる。そのため、上部ケースと下部ケースとの間に配置されるベアリングには、リングギヤの反力に耐えうる強度が求められる。但し、ベアリングの強度を高めるためにベアリングを大型化すると、水上移動体用推進装置の大型化を招く虞がある。
【0006】
本発明は、以上の背景に鑑み、小型のベアリングによってリングギヤの反力に十分に耐えうる構造を備えた水上移動体用推進装置を提供することを課題とする。そして、延いてはエネルギー効率の改善に寄与するものである。
【課題を解決するための手段】
【0007】
上記課題を解決するために本発明のある態様は、水上移動体用推進装置(1)であって、水上移動体(3)の船体(4)によって支持される上部ケース(11)と、前記上部ケースに収容される推進モータ(12)と、前記上部ケースに回動軸(X1)回りに回動可能に支持される下部ケース(13)と、前記下部ケースに支持され、前記推進モータの駆動力によって推進軸(X2)回りに回転する推進器(14)と、前記推進モータから前記推進器に至る駆動力伝達経路(R1)に設けられ、前記推進モータの回転を減速する遊星減速機構(17)と、前記上部ケースに収容される操舵モータ(19)と、前記操舵モータから前記下部ケースに至る操舵力伝達経路(R2)に設けられ、前記操舵モータの回転を減速する操舵減速機構(20)と、を備え、前記下部ケースは、前記回動軸を中心とする円筒形状の回動部(38)を有し、前記遊星減速機構は、前記回動部の内周に配置され、前記下部ケースは、前記回動部の外周に配置される上部ベアリング(44)及び下部ベアリング(45)を介して前記上部ケースに支持され、前記操舵減速機構は、前記上部ベアリングと前記下部ベアリングとの間で前記回動部の外周面に結合するリングギヤ(126)を有する。
【0008】
この態様によれば、上部ベアリングと下部ベアリングとがリングギヤを挟み込むように配置されることで、リングギヤの反力を上部ベアリングと下部ベアリングとにバランスよく分散させることができる。これにより、上部ベアリングと下部ベアリングの各々に掛かる負荷を低減することができ、上部ベアリング及び下部ベアリングを小型化しても、リングギヤの反力に十分に耐えることができる。そのため、水上移動体用推進装置の小型化に寄与する。
【0009】
上記の態様において、前記回動部は、前記上部ベアリングの上方において拡径する拡径部(46)を有し、前記遊星減速機構は、前記拡径部の内周に配置されていても良い。
【0010】
この態様によれば、拡径部よりも下方に上部ベアリング及び下部ベアリングが配置されることで、上部ベアリング及び下部ベアリングを小径化することができる。そのため、水上移動体用推進装置の更なる小型化に寄与する。また、遊星減速機構が拡径部の内周に配置されることで、比較的大径な遊星減速機構を回動部内に収めることができる。
(【0011】以降は省略されています)
この特許をJ-PlatPat(特許庁公式サイト)で参照する
関連特許
本田技研工業株式会社
車両
7日前
本田技研工業株式会社
電動船外機
10日前
本田技研工業株式会社
差圧式電解装置
1日前
本田技研工業株式会社
電池モジュール
10日前
本田技研工業株式会社
電池モジュール
10日前
本田技研工業株式会社
回転電機のロータ
今日
本田技研工業株式会社
電動無段変速装置
3日前
本田技研工業株式会社
駆動装置ユニット
4日前
本田技研工業株式会社
再生正極の製造方法
10日前
本田技研工業株式会社
二酸化炭素回収装置
10日前
本田技研工業株式会社
電気化学式水素昇圧システム
10日前
本田技研工業株式会社
給電システムおよび給電方法
9日前
本田技研工業株式会社
負極、固体電池及び積層体の製造方法
8日前
本田技研工業株式会社
正極、固体電池及び固体電池の製造方法
8日前
本田技研工業株式会社
二酸化炭素回収装置及び二酸化炭素回収方法
8日前
本田技研工業株式会社
学習装置、推定装置、学習方法、推定方法及びプログラム
7日前
本田技研工業株式会社
移動体支援装置および移動体システム
1日前
本田技研工業株式会社
移動体制御システム、情報処理装置、移動体制御システムのための方法、機械学習モデルを生成する方法
10日前
個人
水上遊具
4か月前
個人
川下り用船
11か月前
個人
洋上研究所
3か月前
個人
発電船
12か月前
個人
船用横揺防止具
8か月前
個人
津波防災ウエア
2か月前
個人
補助機構
7か月前
個人
コンパクトシティ船
7か月前
個人
渦流動力推進構造
7か月前
個人
セールのバテンガイド装置
3か月前
炎重工株式会社
浮標
9か月前
炎重工株式会社
浮標
9か月前
個人
水質浄化・集熱昇温システム
4か月前
住友重機械工業株式会社
船舶
4か月前
個人
船舶
9か月前
株式会社ラフティ
サーフボード
3か月前
株式会社フルトン
水中捕捉装置
7か月前
個人
スクリュープロペラ
7か月前
続きを見る
他の特許を見る