TOP
|
特許
|
意匠
|
商標
特許ウォッチ
Twitter
他の特許を見る
公開番号
2025141410
公報種別
公開特許公報(A)
公開日
2025-09-29
出願番号
2024041326
出願日
2024-03-15
発明の名称
電池及び組電池
出願人
トヨタ自動車株式会社
代理人
個人
,
個人
,
個人
,
個人
,
個人
,
個人
,
個人
主分類
H01M
50/553 20210101AFI20250919BHJP(基本的電気素子)
要約
【課題】端子及び集電部まわりの構造効率を向上させつつ、端子の強度を確保することが可能な電池を開示する。
【解決手段】本開示の電池は、電極積層体と集電部と端子とを有する。前記電極積層体は、前記集電部を介して、前記端子に電気的に接続される。前記端子は、基部と突出部と開口とを有する。前記突出部は、前記基部から前記電極積層体側に突出する。前記開口の形状は、前記突出部によって画定される。前記集電部は、前記開口に挿入されて、前記端子に接続される。前記突出部の一部分は、前記突出部の他の部分よりも厚い。
【選択図】図2
特許請求の範囲
【請求項1】
電池であって、電極積層体と集電部と端子とを有し、
前記電極積層体が、前記集電部を介して、前記端子に電気的に接続され、
前記端子が、基部と突出部と開口とを有し、
前記突出部が、前記基部から前記電極積層体側に突出し、
前記開口の形状が、前記突出部によって画定され、
前記集電部が、前記開口に挿入されて、前記端子に接続され、
前記突出部の一部分が、前記突出部の他の部分よりも厚い、
電池。
続きを表示(約 1,500 文字)
【請求項2】
請求項1に記載の電池であって、
前記開口の形状が、矩形であり、
前記矩形が、互いに対向する第1辺及び第2辺と、互いに対向する第3辺及び第4辺とを有し、
前記突出部が、第1突出部と第2突出部と第3突出部と第4突出部とを有し、
前記第1突出部が、前記第1辺を構成し、
前記第2突出部が、前記第2辺を構成し、
前記第3突出部が、前記第3辺を構成し、
前記第4突出部が、前記第4辺を構成し、
前記第1突出部及び前記第2突出部が、前記第3突出部及び前記第4突出部よりも厚い、
電池。
【請求項3】
請求項1に記載の電池であって、
前記開口の形状が、長方形であり、
前記突出部が、第1突出部と第2突出部と第3突出部と第4突出部とを有し、
前記第1突出部が、前記長方形の一の短辺を構成し、
前記第2突出部が、前記長方形の他の短辺を構成し、
前記第3突出部が、前記長方形の一の長辺を構成し、
前記第4突出部が、前記長方形の他の長辺を構成し、
前記第1突出部及び前記第2突出部が、前記第3突出部及び前記第4突出部よりも厚い、
電池。
【請求項4】
請求項3に記載の電池であって、
前記電極積層体における積層方向が、前記短辺に沿っており、
前記電極積層体の幅方向が、前記長辺に沿っている、
電池。
【請求項5】
請求項1に記載の電池であって、
前記突出部が、前記基部の外縁から突出している、
電池。
【請求項6】
請求項1に記載の電池であって、
前記基部の平面形状が、矩形であり、
前記矩形が、互いに対向する第1辺及び第2辺と、互いに対向する第3辺及び第4辺とを有し、
前記突出部が、第1突出部と第2突出部と第3突出部と第4突出部とを有し、
前記第1突出部が、前記第1辺から突出し、
前記第2突出部が、前記第2辺から突出し、
前記第3突出部が、前記第3辺から突出し、
前記第4突出部が、前記第4辺から突出し、
前記第1突出部及び前記第2突出部が、前記第3突出部及び前記第4突出部よりも厚い、
電池。
【請求項7】
請求項1に記載の電池であって、
前記基部の平面形状が、長方形であり、
前記突出部が、第1突出部と第2突出部と第3突出部と第4突出部とを有し、
前記第1突出部が、前記長方形の一の短辺から突出し、
前記第2突出部が、前記長方形の他の短辺から突出し、
前記第3突出部が、前記長方形の一の長辺から突出し、
前記第4突出部が、前記長方形の他の長辺から突出し、
前記第1突出部及び前記第2突出部が、前記第3突出部及び前記第4突出部よりも厚い、
電池。
【請求項8】
請求項7に記載の電池であって、
前記電極積層体における積層方向が、前記短辺に沿っており、
前記電極積層体の幅方向が、前記長辺に沿っている、
電池。
【請求項9】
請求項1~8のいずれか1項に記載の電池であって、
前記開口の幅に対する前記集電部の幅の比が、0.9以上である、
電池。
【請求項10】
請求項1~8のいずれか1項に記載の電池であって、
前記基部の厚みが、前記突出部の突出長よりも小さい、
電池。
(【請求項11】以降は省略されています)
発明の詳細な説明
【技術分野】
【0001】
本願は電池及び組電池を開示する。
続きを表示(約 2,600 文字)
【背景技術】
【0002】
特許文献1には、電池において、集電部を介して電極積層体と蓋端子とを電気的に接続するとともに、当該蓋端子の外周に外装体を接着しつつ、当該外装体の内部に集電部及び電極積層体を収容する技術が開示されている。
【先行技術文献】
【特許文献】
【0003】
特開2023-084066号公報
【発明の概要】
【発明が解決しようとする課題】
【0004】
従来の電池は、端子及び集電部まわりの構造効率を向上させつつ、端子の強度を確保することに関して、改善の余地がある。
【課題を解決するための手段】
【0005】
本願は上記課題を解決するための手段として、以下の複数の態様を開示する。
<態様1>
電池であって、電極積層体と集電部と端子とを有し、
前記電極積層体が、前記集電部を介して、前記端子に電気的に接続され、
前記端子が、基部と突出部と開口とを有し、
前記突出部が、前記基部から前記電極積層体側に突出し、
前記開口の形状が、前記突出部によって画定され、
前記集電部が、前記開口に挿入されて、前記端子に接続され、
前記突出部の一部分が、前記突出部の他の部分よりも厚い、
電池。
<態様2>
態様1の電池であって、
前記開口の形状が、矩形であり、
前記矩形が、互いに対向する第1辺及び第2辺と、互いに対向する第3辺及び第4辺とを有し、
前記突出部が、第1突出部と第2突出部と第3突出部と第4突出部とを有し、
前記第1突出部が、前記第1辺を構成し、
前記第2突出部が、前記第2辺を構成し、
前記第3突出部が、前記第3辺を構成し、
前記第4突出部が、前記第4辺を構成し、
前記第1突出部及び前記第2突出部が、前記第3突出部及び前記第4突出部よりも厚い、
電池。
<態様3>
態様1又は2の電池であって、
前記開口の形状が、長方形であり、
前記突出部が、第1突出部と第2突出部と第3突出部と第4突出部とを有し、
前記第1突出部が、前記長方形の一の短辺を構成し、
前記第2突出部が、前記長方形の他の短辺を構成し、
前記第3突出部が、前記長方形の一の長辺を構成し、
前記第4突出部が、前記長方形の他の長辺を構成し、
前記第1突出部及び前記第2突出部が、前記第3突出部及び前記第4突出部よりも厚い、
電池。
<態様4>
態様3の電池であって、
前記電極積層体における積層方向が、前記短辺に沿っており、
前記電極積層体の幅方向が、前記長辺に沿っている、
電池。
<態様5>
態様1~4のいずれかの電池であって、
前記突出部が、前記基部の外縁から突出している、
電池。
<態様6>
態様1~5のいずれかの電池であって、
前記基部の平面形状が、矩形であり、
前記矩形が、互いに対向する第1辺及び第2辺と、互いに対向する第3辺及び第4辺とを有し、
前記突出部が、第1突出部と第2突出部と第3突出部と第4突出部とを有し、
前記第1突出部が、前記第1辺から突出し、
前記第2突出部が、前記第2辺から突出し、
前記第3突出部が、前記第3辺から突出し、
前記第4突出部が、前記第4辺から突出し、
前記第1突出部及び前記第2突出部が、前記第3突出部及び前記第4突出部よりも厚い、
【発明の効果】
【0006】
本開示の電池によれば、端子及び集電部まわりの構造効率が向上し易く(省スペース化され易く)、また、端子の強度が確保され易い。
【図面の簡単な説明】
【0007】
電池の外観構成の一例を概略的に示している。
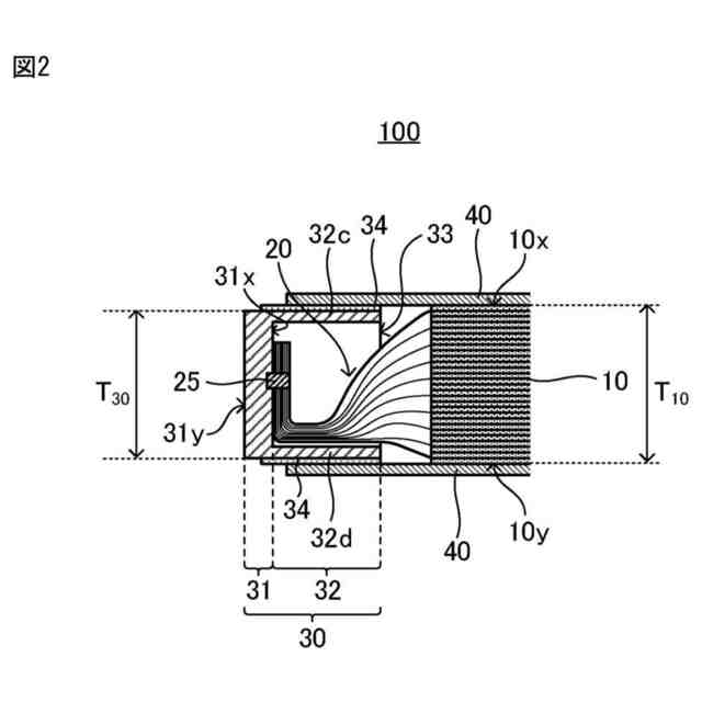
図1のII-II矢視断面の構成の一例を概略的に示している。
図1のIII-III矢視断面の構成の一例を概略的に示している。
図1のIV-IV矢視断面の構成の一例を概略的に示している。
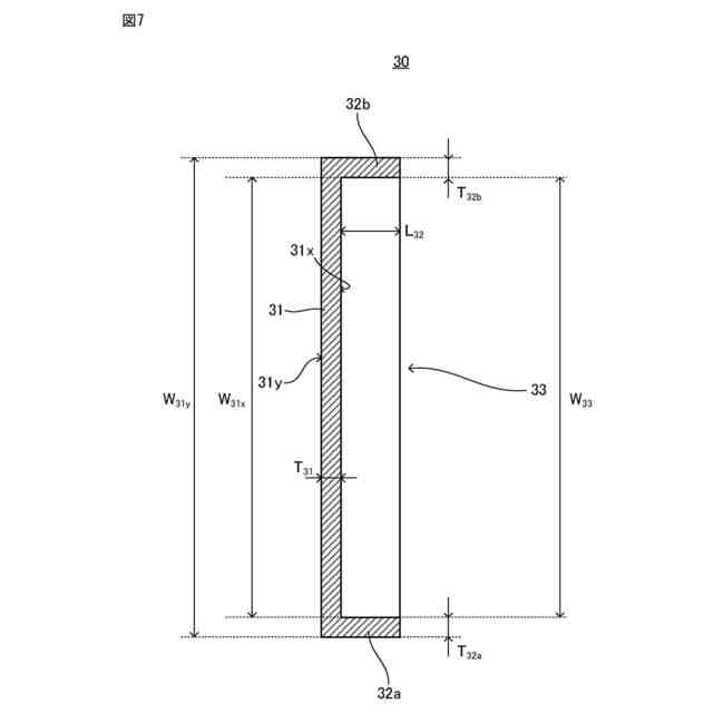
端子の外観形状の一例を概略的に示している。
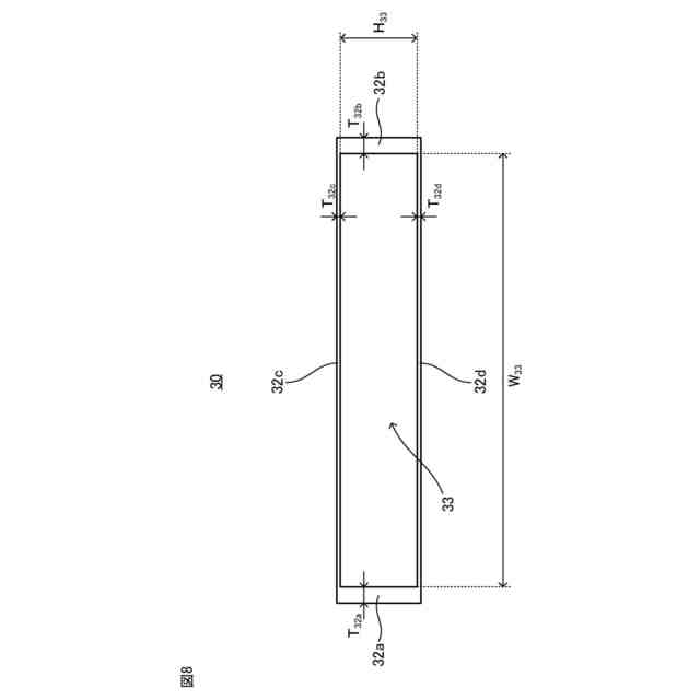
端子の断面形状の一例を概略的に示している。
端子の断面形状の一例を概略的に示している。
突出部の先端形状及び開口形状の一例を概略的に示している。
端子の断面形状の一例を概略的に示している。
端子の一部に絶縁層を設けた場合における断面形状の一例を概略的に示している。
端子と外装体との接着形態の一例を概略的に示している。集電部及び電極積層体については省略して示している。
組電池の外観構成の一例を概略的に示している。端子及びバスバー近傍の構成のみを示している。
端子に対してプローブを押し当てた状態の一例を概略的に示している。
端子まわりの通電発熱量についての解析結果を示している。
【発明を実施するための形態】
【0008】
以下、本開示の電池の一実施形態について説明するが、本開示の電池は以下の実施形態に限定されるものではない。
【0009】
図1~8に示されるように、一実施形態に係る電池100は、電極積層体10と集電部20と端子30とを有する。前記電極積層体10は、前記集電部20を介して、前記端子30に電気的に接続される。前記端子30は、基部31と突出部32と開口33とを有する。前記突出部32は、前記基部31から前記電極積層体10側に突出する。前記開口33の形状は、前記突出部32によって画定される。前記集電部20は、前記開口33に挿入されて、前記端子30に接続される。前記突出部32の一部分は、前記突出部32の他の部分よりも厚い。
【0010】
1.電極積層体
電池100は、電極積層体10にて生じた電力を、集電部20及び端子30を介して、外部機器等へと供給する。すなわち、電極積層体10は、電池100の発電要素として機能する。
(【0011】以降は省略されています)
この特許をJ-PlatPat(特許庁公式サイト)で参照する
関連特許
トヨタ自動車株式会社
車両
6日前
トヨタ自動車株式会社
車両
2日前
トヨタ自動車株式会社
車両
2日前
トヨタ自動車株式会社
電池
6日前
トヨタ自動車株式会社
電解液
2日前
トヨタ自動車株式会社
電動車
2日前
トヨタ自動車株式会社
サーバ
10日前
トヨタ自動車株式会社
電動車
4日前
トヨタ自動車株式会社
ロータ
4日前
トヨタ自動車株式会社
電動車
16日前
トヨタ自動車株式会社
電動車
2日前
トヨタ自動車株式会社
電動車
2日前
トヨタ自動車株式会社
回転子
2日前
トヨタ自動車株式会社
蓄電装置
16日前
トヨタ自動車株式会社
蓄電装置
6日前
トヨタ自動車株式会社
電源装置
2日前
トヨタ自動車株式会社
電動車両
2日前
トヨタ自動車株式会社
制御装置
6日前
トヨタ自動車株式会社
蓄電装置
6日前
トヨタ自動車株式会社
駆動装置
2日前
トヨタ自動車株式会社
蓄電装置
2日前
トヨタ自動車株式会社
塗布装置
4日前
トヨタ自動車株式会社
蓄電装置
3日前
トヨタ自動車株式会社
蓄電セル
4日前
トヨタ自動車株式会社
蓄電セル
4日前
トヨタ自動車株式会社
蓄電装置
3日前
トヨタ自動車株式会社
蓄電装置
4日前
トヨタ自動車株式会社
加熱装置
16日前
トヨタ自動車株式会社
育苗装置
3日前
トヨタ自動車株式会社
制御装置
2日前
トヨタ自動車株式会社
蓄電装置
10日前
トヨタ自動車株式会社
制御装置
6日前
トヨタ自動車株式会社
蓄電装置
6日前
トヨタ自動車株式会社
検査装置
6日前
トヨタ自動車株式会社
制御装置
16日前
トヨタ自動車株式会社
蓄電装置
6日前
続きを見る
他の特許を見る