TOP
|
特許
|
意匠
|
商標
特許ウォッチ
Twitter
他の特許を見る
公開番号
2025140395
公報種別
公開特許公報(A)
公開日
2025-09-29
出願番号
2024039767
出願日
2024-03-14
発明の名称
ウニの生産方法、ウニに与える飼料、飼料の製造方法およびウニの飼育、養殖、保管または運搬する方法
出願人
国立大学法人九州大学
代理人
個人
主分類
A01K
61/30 20170101AFI20250919BHJP(農業;林業;畜産;狩猟;捕獲;漁業)
要約
【課題】ウニの商品価値または生産効率を向上させることができるウニの生産方法、ウニに与える飼料、飼料の製造方法、ウニの飼育、養殖、保管または運搬する方法を提供する。
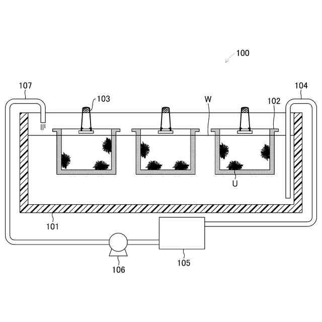
【解決手段】ウニUの生産方法は、飼育槽101内に設置した飼育かご102内に生殖腺が未発達のウニUを放した後、飼料Fを給餌する。飼料Fは、麦を原材料とする焼酎の酒粕を主原料としてこの酒粕および凝固剤である寒天で構成されている。この場合、本発明者は、生殖腺が未発達のウニUに酒粕を含んだ飼料Fを給餌するとウニUの生殖腺の色が白色化することを確認した。このことから、生産者は、生殖腺が未発達のウニUに対して飼料Fを給餌することで生殖腺の色が白色化したウニUを生産することができる。
【選択図】 図1
特許請求の範囲
【請求項1】
ウニの生産方法であって、
生殖腺が未発達であるウニに対して酒粕を含有する飼料を給餌することを特徴とするウニの生産方法。
続きを表示(約 780 文字)
【請求項2】
請求項1に記載したウニの生産方法において、
前記飼料の給餌を行うことで前記生殖腺を白色化させることを特徴とするウニの生産方法。
【請求項3】
ウニの生産方法であって、
1個体の総重量に占める生殖腺の重量の割合が8%未満であるウニに対して酒粕を含有する飼料を給餌することで前記ウニにおける前記割合を8%以上にすることを特徴とするウニの生産方法。
【請求項4】
生殖腺が未発達であるウニに与える飼料であって、
酒粕を含有することを特徴とする飼料。
【請求項5】
請求項4に記載した飼料において、
前記酒粕の分量は、
前記生殖腺を白色化させることができる量であることを特徴とする飼料。
【請求項6】
ウニに与える飼料であって、
蒸留酒の製造過程で生成された蒸留酒粕と、
前記蒸留酒粕を凝固させる寒天とを含有することを特徴とする飼料。
【請求項7】
請求項6に記載した飼料において、
前記蒸留酒粕および前記寒天のみで構成されていることを特徴とする飼料。
【請求項8】
請求項4ないし請求項6のうちのいずれか1つに記載した飼料において、
表面が白色系の色で構成されていることを特徴とする飼料。
【請求項9】
ウニに与える飼料であって、
前記ウニの糞を白色化させる量の酒粕を含むとともに、表面が白色系以外の色で構成されていることを特徴とする飼料。
【請求項10】
請求項4、請求項6および請求項9のうちのいずれか1つに記載した飼料において、
シート状または板状に形成されていることを特徴とする飼料。
(【請求項11】以降は省略されています)
発明の詳細な説明
【技術分野】
【0001】
本発明は、ウニの生産方法、ウニに与える飼料、飼料の製造方法およびウニの飼育、養殖、保管または運搬する方法に関する。
続きを表示(約 1,600 文字)
【背景技術】
【0002】
従来から、人工孵化させたウニまたは天然海域から捕獲したウニを飼育または養殖することが行なわれている。例えば、下記特許文献1には、ウニに海藻粉末および酒粕などの食品加工残渣を含有する餌料を給餌することによってウニの生存率の向上、殻長の成長促進および個体重の増加を可能にする海洋無脊椎動物用餌料および同餌料の製造方法が開示されている。
【先行技術文献】
【特許文献】
【0003】
特開2023-91558号公報
【0004】
しかしながら、上記特許文献1に記載された海洋無脊椎動物用餌料および同餌料の製造方法を用いたとしても、ウニの生産を行う現場においては、ウニの商品価値の向上は常に求められているものである。
【0005】
本発明は上記問題に対処するためになされたもので、その目的は、ウニの商品価値を向上させることができるウニの生産方法、ウニに与える飼料、飼料の製造方法、ウニの飼育、養殖、保管または運搬する方法を提供することにある。
【発明の概要】
【0006】
上記目的を達成するため、本発明の特徴は、ウニの生産方法であって、生殖腺が未発達であるウニに対して酒粕を含有する飼料を給餌することにある。
【0007】
このように構成した本発明の特徴によれば、ウニの生産方法は、生殖腺が未発達であるウニに対して酒粕を含有する飼料を給餌するため、通常、生殖腺が未発達であるウニ(以下、「稚ウニ」ともいう)が摂食する藻類に代わって酒粕を飼料として利用することができる。ここで、生殖腺が未発達とは、ウニの幼生が受精卵から孵化したのち約1年が経過するまでの間の生殖腺がまだ発達していない状態を指す。
【0008】
通常、ウニは、成長過程において摂食するエサが異なることが知られている。具体的には、水中を浮遊して生活する浮遊幼生期においては植物プランクトンを主に摂食するが、稚ウニへの変態後はアワビモ(緑藻)または付着珪藻(水中の基質に付着して生育する珪藻)などの藻類を主に摂食し、成長に伴ってコンブまたはワカメなどを摂食するようになる。このため、従来の稚ウニの生産においては、稚ウニ用の藻類を人工的に生産または自然界から漁獲して稚ウニに与える必要があり飼料の入手に環境的な負担が生じていた。しかし、本発明に係るウニの生産方法においては、従来の稚ウニ用飼料の代替として酒粕を含有する飼料を用いることができる。これは、本発明者が、本発明に係る酒粕を含有する飼料はウニの成長度合いの観点において従来の稚ウニ用飼料と同等でありウニの飼料として有効であることを確認したことに基づいている。したがって、ウニの生産方法は、環境負荷を抑えた飼料を用いてウニを生産することができる。
【0009】
また、稚ウニの飼料に含まれる酒粕は、醸造酒の製造過程でもろみを絞った際に発生する粕または蒸留酒の製造過程においてもろみを蒸留した後に残る残留物であって蒸留酒の主原料(例えば、米、麦、トウモロコシ、蕎麦、黒糖または芋など)または麹などの固形分を含んだスラリー状の流動体である。この酒粕の多くは、現在、再利用する用途が少なく主に廃棄物として処分されている。しかし、本発明に係るウニの生産方法においては、この酒粕を用いてウニを生産することができる。
【0010】
これらのことから、ウニの生産方法は、稚ウニに給餌する飼料が環境負荷を抑えた飼料であるとともに廃棄処分の対象である酒粕を含有しているため、環境に配慮した飼料を用いてウニを生産することができ持続可能性の高いウニとしてウニの商品価値を向上させることができる。
(【0011】以降は省略されています)
この特許をJ-PlatPat(特許庁公式サイト)で参照する
関連特許
国立大学法人九州大学
核酸増幅方法
12日前
国立大学法人九州大学
センサー装置
3か月前
国立大学法人九州大学
発光性イオン結晶
5日前
国立大学法人九州大学
遺伝子発現増強剤
3か月前
国立大学法人九州大学
牛の放牧飼養管理方法
4か月前
国立大学法人九州大学
燃料電池、電解セル及び組セル
4日前
株式会社王樹製薬
抗ウィルス液
2か月前
株式会社明治
脳機能改善用組成物
1か月前
国立大学法人九州大学
酸化物プロトン伝導型燃料電池セル
4日前
国立大学法人九州大学
磁気センサの製造方法及び磁気センサ
18日前
リンナイ株式会社
深部体温推定装置
2か月前
リンナイ株式会社
深部体温推定装置
2か月前
国立大学法人九州大学
可逆燃料電池システム及びその運転方法
11日前
日本電信電話株式会社
高周波発生装置
3か月前
国立大学法人九州大学
水電解装置、水素製造システム及び水電解方法
1か月前
学校法人常翔学園
選択性ガス分離膜の製造方法
4か月前
国立大学法人九州大学
液晶化合物、並びにこれを含む液晶組成物および素子
1か月前
有機合成薬品工業株式会社
外的バリア活性化用組成物
4日前
国立大学法人九州大学
情報処理装置、情報処理方法、及びコンピュータプログラム
18日前
国立大学法人九州大学
医用情報処理装置、医用画像診断装置、方法及びプログラム
27日前
株式会社明治
筋分化促進用組成物、及び筋肉増強用組成物
1か月前
国立大学法人九州大学
医用情報処理装置、医用画像診断装置、方法及びプログラム
27日前
株式会社明治
67kDaラミニンレセプター活性化用組成物
1か月前
トヨタ自動車九州株式会社
水電解装置及び水電解装置の運転制御方法
2か月前
国立大学法人 熊本大学
クリック反応素子AOCN誘導体又はその塩
26日前
JFEスチール株式会社
酸素化合物ガスの分解方法およびガス分解装置
1か月前
株式会社明治
速筋線維発現促進用組成物、及び筋肉速筋化促進用組成物
1か月前
JFEスチール株式会社
積層体、ガス分解装置および酸素化合物ガスの分解方法
1か月前
国立大学法人九州大学
画像生成処理システム、画像生成プログラム、画像生成方法及び画像生成処理装置
8日前
国立大学法人九州大学
マイクロプラスチックの分析方法及び分析用マイクロプラスチックの分離回収方法
2か月前
五洋建設株式会社
地盤改良後の評価対象領域に対する評価装置、評価方法及びプログラム
4か月前
株式会社東洋新薬
テロメラーゼ発現増強剤
1か月前
有機合成薬品工業株式会社
ニコチンアミドホスホリボシルトランスフェラーゼ活性化用組成物
4日前
国立大学法人九州大学
多分岐の糖鎖を加水分解し得るエンドグリコシダーゼ
18日前
エムスタイルジャパン株式会社
ミトコンドリア機能向上剤、化粧品及びミトコンドリア機能向上方法
3か月前
国立大学法人九州大学
ウニの生産方法、ウニに与える飼料、飼料の製造方法およびウニの飼育、養殖、保管または運搬する方法
8日前
続きを見る
他の特許を見る